
Hvorfor har du brug for en kontraventil?
Under drift vises hydraulisk tryk inde i varmesystemet, hvilket kan være ulige i dets forskellige sektioner. Årsagerne til dette fænomen er meget forskellige..
Oftest er dette en ujævn afkøling af kølevæsken, fejl i design og samling af systemet eller dets gennembrud. Resultatet er altid det samme: Retningen af hovedvæskestrømmen ændres, og den vender i den modsatte retning.
Dette er fyldt med meget alvorlige konsekvenser, indtil kedlen eller endda hele systemet er ude af drift, hvilket vil kræve betydelige reparationsomkostninger i fremtiden..
Af denne grund anbefaler eksperter kraftigt at installere en kontraventil. Enheden er i stand til kun at føre væske i en retning. Når der opstår en omvendt strøm, udløses en afspærringsmekanisme, og hullet bliver uigennemtrængeligt for kølevæsken.
Således er enheden i stand til at styre væskestrømmen og kun passere den i en retning..

Kontrolventilens princip er meget enkelt. Det passerer varmeoverførselsvæsken i en given retning og blokerer stien, når den forsøger at bevæge sig i den modsatte retning.
For normal drift af systemet er det nødvendigt, at enheden ikke skaber yderligere tryk, og at kølevæsken, der bevæger sig til radiatorerne, frit passerer igennem. Derfor er det ekstremt vigtigt at vælge det rigtige produkt.
Udnævnelse af ventiler til opvarmning
Autonom eller fjernvarme skal tilpasses parametrernes aktuelle værdier – tryk og temperatur i systemet. For at udføre denne opgave kræves en bypassventil i varmesystemet, en blandingsventil, en sikkerhedsventil og andre..

I modsætning til afspærringsventiler fungerer de i automatisk eller halvautomatisk tilstand. Alle varmestyringsventiler skal svare til parametrene for den specifikke varmeforsyning.
For at gøre dette skal du først beregne egenskaberne, udarbejde et detaljeret diagram og i henhold til de indhentede data vælge den optimale opvarmningsafløbsventil og andre typer lignende elementer.
De vigtigste kriterier er:
- Temperaturmåde for systemet. Spærreventilen til opvarmning skal fungere normalt selv med kritiske termiske effekter;
- Tryk – nominelt og maksimalt. Hver trykreducerende ventil i varmesystemet har visse driftsgrænser, som skal være lavere end maksimum med 5-10%;
- Kølemiddeltypen er vand eller frostvæske. I sidstnævnte tilfælde er funktionsfejl mulige, da luftventilen til opvarmning ikke er designet til en væske med en højere densitet end vand..
En passende ventil til udluftning af luft fra varmesystemet vælges på designstadiet. Betjeningen af denne enhed og lignende komponenter bør stabilisere systemets tilstand i tilfælde af risiko for nødsituationer. Derfor er det nødvendigt at kende driftsprincippet og typer ventiler til varmeforsyning..
Nogle ydeevneegenskaber er angivet direkte på varmebypassventilhuset. Hvis dette ikke er tilfældet, kræves professionel rådgivning..
Hvor er installeret i varmesystemet
Det generelle formål med en kontraventil er at lade kølevæskestrømmen strømme i en retning og forhindre, at den bevæger sig tilbage. Der kræves ingen strømforsyning eller andre betingelser for driften, de arbejder ud fra bevægelse af væsker. Der er installeret en kontraventil til opvarmning i alle positioner, hvor modstrøm og parasitære kredsløb kan forekomme.

I et varmesystem med flere grene placeres en kontraventil på returledningen. Dette forhindrer pumpen i at “skubbe” strømmen i den modsatte retning.
De samme enheder er placeret i koldt og varmt vandforsyningssystemer. Designet til opvarmning kendetegnes ved, at der bruges materialer, der godt tåler langvarig udsættelse for høje temperaturer. Hvis der er gummipakninger, bruges varmebestandigt gummi. Det samme gælder for plastdele..
Taler specifikt om varmesystemer (CO), er kontraventilen installeret:
- Til en bypass med en cirkulationspumpe i rørledningen til en fast brændselskedel – for at sikre driften af systemet i tyngdekraftstilstand (med naturlig cirkulation). I dette tilfælde er modellerne med den laveste modstand installeret, som fungerer let og hurtigt – umiddelbart når strømmen fra naturlig cirkulation viser sig. Ventilens funktion, i dette tilfælde, når pumpen kører, omgår ikke varmemediet.
- På returrøret ved installation af en indirekte varmekedel. Hvorfor installere en kontraventil i dette tilfælde? For at udelukke kølevæskens passage i den modsatte retning under cirkulationspumpens drift.
- Med et forgrenet varmesystem (f.eks. På flere etager) på hver gren. Disse kontraventiler tillader ikke, at kølevæsken “trækker”, hvis en af grenene er slukket (ved brug af en cirkulationspumpe).
- På systemets make-up linje med koldt vand. Her er, ud over afspærringsventilen, også en omvendt nødvendig. Da undertiden trykket i vandforsyningssystemet er lavere end i varmesystemet. Derefter, ved at åbne hanen for at fodre systemet, uden en kontraventil, vil kølevæsken “gå” ind i vandforsyningssystemet.

Kontraventilsymbol i diagrammet
I diagrammerne er en kontraventil angivet som to trekanter rettet med deres hjørner til hinanden. En af trekanterne er udfyldt. Installationsstedet i en gren er næsten ethvert. Det vigtigste er at have det. Strømningsretningen er angivet med en pil på kroppen. I denne retning passerer kølevæsken. Modsat overlapper det. Når du installerer, skal du omhyggeligt følge pilen (du kan stadig fokusere på låseelementet).
Kontrolventilens funktionsprincip
Først og fremmest skal det bemærkes, at kontraventiler ikke er installeret “bare i tilfælde”, men kun hvis det er nødvendigt, hvis der ikke er nogen anden teknisk løsning. Dette skyldes, at elementerne ofte har en betydelig hydraulisk modstand, afhængigt af designet. Dette introducerer nogle begrænsninger ved brug af kontraventiler til naturlig cirkulationsopvarmning. Årsag – for lavt kølevæsketryk i systemet.
En undtagelse er tyngdekraftsventiler med rotationsspjæld, nogle af deres modeller er i stand til at åbne vejen for kølevæsken ved et minimumstryk på 0,001 bar.
På trods af forskellene i design leveres de fleste produkter med en vigtig del – foråret. Det er en aktuator, der lukker ventilen, når normale forhold ændrer sig, og dette er princippet for kontraventilen. Den indsats, der bruges på at overvinde fjederelasticiteten, bestemmer mængden af mekanisk hydraulisk modstand. For kredsløb med forskellige driftsparametre vælges produkter, der har den passende elasticitet og massivitet af fjederen.
Hvad virker foråret på? Dens opgave er at holde låseenheden lukket, det er dens normale tilstand. Derefter kan væskestrømmen, der strømmer fra den ene side, overvinde fjederkraften, åbne forhindringen og gå videre langs røret. Et forsøg på at ændre strømnings- og strømningsretningen i den anden retning vil ikke føre til noget – afspærringsenheden vil smække og hvile på tidevandet i kroppen. Der er et tætningselement på dette sted, som gør kontraventilen i varmesystemet helt lukket..
Spærreventiler designet til at arbejde i varmekredse er lavet af følgende materialer:
- grå støbejern;
- stål;
- messing;
- rustfrit stål.
Varianter af enheder
Der findes flere typer afspærringsventiler, og ofte er forskellige typer produkter installeret på forsynings- og returløb. Afhængigt af det anvendte metal kan kontraventilen have sine egne egenskaber..
De mest anvendte produkter i messing, støbejern og stål. Derudover adskiller kontraventiler sig i deres design. Lad os overveje de vigtigste muligheder.
Hvilke opgaver løser kontraventilen?
Ventilen er nødvendig for at regulere vandstrømmen, som bør bevæge sig strengt i en retning. Ved opvarmning af rum med kedeludstyr er der risiko for trykændringer i systemet, luft ind i kredsløbet og andre funktionsfejl. Som et resultat vil varmt vand begynde at bevæge sig i den modsatte retning. Fraværet af en kontraventil i systemet vil uundgåeligt føre til en alvorlig ulykke..
Kontraventilens hovedopgaver:
- Sikre en uhindret strøm af varmt vand.
- Forhindrer bevægelse af kølevæsken i den modsatte retning.
I dette tilfælde bør enheden ikke påvirke vandets tekniske og operationelle egenskaber..
Fordele og ulemper

Kontraventil med filter forhindrer pladen i at sidde fast i enhver position
Kontraventilen har fordele og ulemper, der er fælles for alle typer enheder. Stigerøret vil ikke modtage en varm strøm, hvis der strømmer kold væske der. Dette forlænger systemelementernes ydeevne, der er designet til en bestemt temperatur. Enhederne er lette at installere og genererer ikke støj, når væsken passerer igennem. Kontraventiler løser kun problemet i et bestemt område, for andre kredsløb er der installeret yderligere styreenheder.
Nogle mekanismer tillader forekomst af vandhammer, når strømmen passerer arbejdsenheden, men denne funktion i ventilen skader kun systemet med en stor diameter. Ventilerne forurenes fra vandstrømmen, hvis systemet drives med en energibærer uden propylenglycol eller andre tilsætningsstoffer. I dette tilfælde kan disken eller pladen sidde fast i åben eller lukket position..
Med to eller flere kedler
Nogle ejere, for at spare på brændstof og for at eliminere konsekvenserne af nødsituationer under strømafbrydelse, installerer to eller flere kedler i systemet, der er forbundet parallelt med varmeledningen. Hvis en af kedlerne er i drift, kan varmebæreren desuden passere gennem varmeudvekslingskredsløbet på den anden enhed, hvilket fører til uberettigede varmetab.
Forbrugeren kan installere afspærringsventiler i forsynings- eller returledningen til hver af kedlerne og manuelt lukke for strømmen på det inoperative udstyr. Brugen af en kontraventil gør det imidlertid muligt at automatisere processen med at afbryde strømmen gennem varmeudvekslingskredsløbet i en tomgangskedel, når den anden tændes..

I kredsløb med nedlukning elektriske pumper
Normalt er parallelle grene af varme gulve og radiatorbatterier forbundet til en hydrostatisk kontakt eller samlerledninger. For at skubbe kølevæsken gennem rørene i hver af grenene bruger den cirkulerende elektriske pumper, der fungerer i automatisk tilstand.
Mange varmesystemer er designet og designet på en sådan måde, at begge cirkulatorer fungerer kontinuerligt. Men der er ordninger, hvor en termosensor er forbundet til radiatorernes eller varme gulvs konturer – når den indstillede temperatur overskrides, slukker den for strømforsyningen til cirkulationselektriske pumpe.
Da den anden enhed, der er forbundet parallelt med den første linje på dette tidspunkt, er i drift, leder den en del af kølevæsken ind i sit kredsløb, hvor der ikke er behov for yderligere opvarmning.
For at forhindre strømning af arbejdsvæsken ind i de parallelle grene er der installeret en kontraventil i hver af dem..
Det samme gøres i tilfælde, hvor systemet anvender skiftevis tilkobling af flere elektriske pumper installeret i grene, der er forbundet parallelt med en hydraulisk kontakt eller kollektorledninger.

I kredsløbet til hovedcirkulationen elektrisk pumpe
Hvis en kedel (mere præcist en kedel) bruges samtidigt til opvarmning af vand og opvarmning af rum med autonom vandforsyning, tilføres vand fra en nedsænket eller overfladeboret elektrisk pumpe til sin varmeveksler med et højt tryk på ca. 3 bar.
I dette tilfælde er strømmen delt: det meste, når det opvarmes, stiger op og kommer ind i varmevekslerradiatorerne eller varme gulve, og det resterende volumen sendes til returstrømmen og virker på den cirkulerende elektriske pumpe. Da borehulspumpen, der leverer koldt vand til kedlen, er meget kraftigere og giver et betydeligt højde på ca. 3 bar, mens cirkulationsenhedens grænse ikke overstiger 1 – 1,5 bar, kan den direkte strøm, der cirkulerer gennem indløbsrørene, blive klemt i den modsatte retning. Som et resultat kan knivene på den elektriske pumpe sidde fast, og varmebærerens bevægelse langs konturen stopper. I dette tilfælde er en kontraventil placeret foran den for at eliminere cirkulatorens omvendte strøm på grund af modstrøm..

På make-up pipeline
Ved tilslutning af varmekredsløbet til vandledningen til make-up er situationer med afbrydelser i vandforsyningen eller et fald i dets trykegenskaber mulige. I dette tilfælde vil vand fra varmeledningen strømme ind i vandforsyningssystemet, og systemet vil miste varmebæreren. For at undgå sådanne nødsituationer skal der være installeret en kontraventil i efterfyldningsrørledningen..
I bypass parallelt med pumpen
Kontraventilen placeres i bypass -jumperen i en parallel position i forhold til den elektriske cirkulationspumpe i følgende tilfælde:
- For gravitationssystemer, der anvender en elektrisk pumpe til forsyning af en varmebærer, er en kontraventil og en sugeenhed placeret på en lodret sektion af rørledningen. I mangel af elektricitet slukker pumpen og hindrer kølevæskestrømmen. Dette åbner ventilen i den parallelle gren, og systemet går i tyngdekraftsoperation. Kølevæsken bevæger sig på grund af forskellen i densiteterne af den opvarmede og afkølede væske, der omgår cirkulatoren.
- En kontraventil til et tvunget tilførselsvarmeanlæg placeres parallelt med cirkulatoren på et vandret rørafsnit. I tilfælde af en pumpefunktion åbnes ventilporten, og varmebæreren bevæger sig langs en parallel gren. Bypass -jumperen giver også mulighed for forebyggende vedligeholdelse og reparation af cirkulationspumpen med fjernelse af enheden uden at tømme kølevæsken. For at gøre dette er der installeret afspærringskugleventiler på begge sider af cirkulatoren, så du kan fjerne enheden.

Kedel del
Et standardvarmeanlæg indeholder mange interessante komponenter, hvor hvert af elementerne har en bestemt opgave. En af disse komponenter er en kontraventil, som overvåger kølevæskens strømning..
Under drift vises hydraulisk tryk, som er ujævnt fordelt over alle områder. Dette kan forekomme på grund af forskellige muligheder, men de mest almindelige årsager til disse problemer er:
- Ujævn afkøling af kølevæsken.
- Byggefejl.
- Forkert samling af systemet.
Anvendelse af kontraventiler i kedelsektionen sker i de fleste tilfælde, hvis to gruber drives parallelt. For eksempel bruger de i produktionen en elektrisk og enhver anden. Under drift, parallelt, for en bestemt belastning ved forsyningen eller ved udgangen, er kredsløb installeret, så under fejl i en kedel fortsætter den anden med at fungere.
Dette giver dig mulighed for ikke at kortslutte linjerne i et bestemt område. Derudover vil en tilstrækkelig tæt placering gøre det muligt normalt at omgå trykegenskaberne og opvarme den anden kedel. Sådanne ventiler er i stand til at modtage overskydende retur gennem varmeveksleren og lede udløbet gennem røret..
Hvis kedlen er fast brændstof, vil det gøre arbejdet i “jakken” på radiatoren meget stærkt med varmefjernelse. I kedelsektionen vil det være nok at installere ventiler på ind- og udgange under parallel drift, for ikke at genere.
Perifer sekundær del

En kontraventil er et element i varmesystemet, der består af en plast- eller metalbase, der udfører funktionen af fuldstændig blokering af kølevæsketilførslen. Dette sker, når strømmen begynder at bevæge sig i den modsatte retning. Metalskiven er fastgjort til en fjeder, som er under pres, når strømmen bevæger sig i en retning, og når den bevæger sig bagud, udløses fjederen for at blokere passagen i røret. Ventilenheden har ikke kun en skive og en fjeder, men også en pakning. Denne komponent hjælper med at holde disken på plads tæt. På grund af dette er der praktisk talt ingen mulighed for rørlækage. Skiveventiler er meget udbredt i husholdningsvarmesystemer.
Lad os overveje driftsprincippet og et eksempel på, hvornår kontraventiler er nødvendige, og hvornår ikke. I kredsløbets driftstilstand, hvor der er cirkulation, er tilstedeværelsen af en ventil valgfri. For eksempel hvis man ser på et klassisk fyrrum, hvor der er tre parallelle kredsløb. Dette kan være et radiator kredsløb med en pumpe, et gulvvarmekredsløb med egen pumpe og et kedelbelastningskredsløb. Ofte bruges sådanne ordninger i arbejdet med gulvkedler, som kaldes pumpeprioritetsordninger..
Pumpeprioriteter er definitionen af pumpernes vekslende drift. For eksempel sker brugen af kontraventiler, når kun en pumpe er i drift..
Installation af ventiler forsvinder helt, hvis der er en hydraulisk pil på diagrammet. Dette gør det muligt under trykfald i visse pumper at slippe af med dette problem uden at bruge kontraventiler. Den hydrauliske pil angiver afslutningssektionen, der arbejder for at genoprette trykket i en af pumperne.
Tilstedeværelsen af en gulvkedel i kredsløbet gør det også muligt ikke at installere kontraventiler til opvarmning. Dette skyldes dens tønde, der bygger et bestemt sted fra faldet, hvilket anses for at være nul modstand eller en hydraulisk pil. Kapaciteten på sådanne tønder når undertiden 50 liter..
Kontraventiler i varme bruges, hvis kedlen er placeret i en tilstrækkelig stor afstand fra pumperne. Desuden, hvis samlingerne og kedlen er 5 meter fra hinanden, men rørene er for smalle, skaber dette tab. I dette tilfælde kan en inaktiv pumpe skabe cirkulation og tryk på andre knuder, så det er værd at sætte alle tre kredsløb på med en kontraventil.
Et andet eksempel på brugen af kontraventiler er, når der er en vægmonteret kedel, og parallelt med den fungerer to enheder. Oftest har vægmonterede kedler et radiatorsystem, og det andet er et vægmonteret blandemodul sammen med et varmt gulv. Kontraventiler behøver ikke at installeres, hvis blandeenheden kun fungerer i konstant tilstand, vil der i tomgangstilstand ikke være noget at regulere ventilerne, fordi dette kredsløb vil blive lukket.
Der er tidspunkter, hvor pumpen ikke fungerer på blandevæggenheden. Dette sker nogle gange, når pumpen slukkes med en rumtermostat under en bestemt rumtemperatur. I dette tilfælde er ventilen nødvendig, fordi cirkulationen vil fortsætte i enheden.
I dag tilbydes moderne blandeenheder på markedet, når alle sløjferne på manifolden er slukket. For at pumpen ikke skal gå i tomgang, tilføjes der også en bypass med en bypass -ventil til manifolden. De bruger også en afbryder, som slukker pumpen, når alle sløjfer på manifolden er lukket. Mangel på korrekte elementer kan fremkalde en kortsluttet knude.
Dette er alle tilfælde, hvor kontraventiler ikke er nødvendige. I de fleste andre forhold er brug af kontraventiler ikke påkrævet. Ventiler bruges kun i et par tilfælde:
- Når tre noder er parallelt forbundet, og en af dem er uden arbejde.
- Ved installation af moderne samlere.
Tilfælde, hvor kontraventiler bruges meget sjældent, så nu gradvist udfases de..
Årsager til udseendet af luft
Spørgsmålet er logisk: hvordan kommer luften ind i varmesystemet, hvis den er helt forseglet??
Der kan være mange årsager til dette fænomen:
- Højt blodtryk. Vandet indeholder ikke kun magnesium og calcium, men også ilt. Mængden af ilt afhænger af trykniveauet i systemet. Med stigende tryk øges koncentrationen af ilt i vand.
- Overtrædelse af kravene til rørhældninger under installationsarbejde.
- Forkert påfyldning af rørledningen, hvilket fører til luftning. Vand skal tilføres langsomt, mens luft evakueres fra batterierne, så hvordan? ellers er bobler uundgåelige, hvilket forårsager udluftning af varmesystemet. Generel regel: Jo flere grene et system har, jo langsommere skal det fylde..
- Spredning. Dette fænomen er en proces, hvor molekylenes evne til at trænge ind mellem molekylerne i et andet stof realiseres. I det beskrevne tilfælde mener vi penetration af iltmolekyler mellem molekylerne af polypropylen eller polyethylen. For at forhindre diffusion påføres specielle belægninger på rørmaterialet..
- Utilstrækkelig tæthed i forbindelsen mellem elementerne i systemet.
- Fejl eller mangel på ventilationsåbninger.
- Udførelse af reparationsarbejde, hvor der var en trykfald.
- Ætsende processer, der fører til lækage af udstyr.
Ovenstående faktorer udtømmer ikke årsagerne til luftning af varmesystemet, men de er de mest almindelige..
Formålet med kontraventilen til opvarmning

Moderne bygninger kan ikke forestilles uden normalt fungerende husholdningssystemer. Når de installeres, ud over hovedkomponenterne, bruger de en sådan type beslag som en kontraventil til varmesystemet. Hvad er det, og hvilken funktionel belastning det bærer?
Behovet for ansøgning
Installation af en kontraventil kan være obligatorisk eller rådgivende. Til industrielle formål er fagfolk engageret i deres installation. Hvad angår beboelsesbygninger og lejligheder, er der flere tilfælde, hvor sådanne indretninger er nødvendige:
Ved installation af en vandmåler
Dette er en forudsætning, uden hvilken det er umuligt at opnå dokumentarisk godkendelse fra vandforsyningsselskaber..
Ventilen tillader ikke vand at cirkulere i den modsatte retning, hvilket kan skyldes en trykforskel inde i rørene.
Under driften af vandvarmere af lagertype
Installation af sådanne fittings på kedler til gas og elektrisk udstyr er obligatorisk ved indløbet til koldt vand.
Til cirkulationspumper
Ved brug af cirkulationspumper installeres ventiler ved stikkontakten.
Dette giver dig mulighed for at undgå ulykker og fejl i systemet, som kan udløses af den omvendte bevægelse af vand i kredsløbet med en svagere pumpe, når kølevæsken forskydes af en mere kraftfuld enhed..
På varmeledningsledningen
På varmereturledningen er ventilen monteret foran selve indgangen til kedlen..
Hvis der sker en ulykke, vil beskyttelsesbeslagene ikke tillade, at kølevæsken lækker ud, og under normal drift af systemet tillader det ikke at bevæge sig i en forbudt retning.
Til nedsænkelige pumper
Desuden bruges sådanne beskyttelseselementer til drift af pumper designet til dybt arbejde for at forhindre vand i at strømme ud af rørledningen, når den ikke er i drift..
Klassifikation
Disse produkter bruges ikke kun i varme- og vandforsyningssystemet, men også i installationen af spildevand og ventilationsudstyr. Ankeret udfører den samme funktion, forskellig i størrelse, form, kropsmateriale, startmetode samt typen af lukker.
Efter fremstillingsmateriale
Ventiler i rustfrit stål betragtes som de bedste. De er dyrere end støbejern, der bruges til rør med stor diameter eller messing, som betragtes som en glimrende mulighed til husholdningsformål..
Men på den anden side adskiller de sig i tidstestet holdbarhed..
Mange moderne producenter fremstiller kontraventiler af flere materialetyper (fjeder – rustfrit, messinghus og plastplade).
Efter tilslutningsmetode
Sikkerhedsventiler kan være af følgende typer:
- flanger (bruges til rør med stor diameter);
- sammenflanger (lille i størrelse og installeret i mellemrummet mellem flanger);
- kobling (med gevindovergange beregnet til fastgørelse).
Kloaksystem
Installation af ventiler til kloaksystemet involverer 2 typer indbinding: lodret og vandret. Det produceres på de punkter, hvor rørene mødes. Når du arbejder, er det nødvendigt at bruge adaptere (fra metal til plast og omvendt).
Sikkerhedsvarmeventiler
Ud over opvarmningsomløbsventilen er installationen af andre typer styre- og beskyttelsesventiler påkrævet for systemets normale drift. Under driften af varmeforsyningen kan der forekomme et overskud af luft, kølemidlets omvendte bevægelse vil forekomme. For at forhindre disse fænomener er det nødvendigt på forhånd at installere en luftventil til opvarmning og retur.

Afhængigt af det funktionelle formål er der to typer sikkerhedsventiler – for at fjerne luft fra systemet og for at forhindre vandbevægelse tilbage i rørene. Uden disse elementer kan systemets drift være ustabil, hvilket vil føre til en overtrædelse af temperaturregimet, destabilisering af tryk og skabelse af nødsituationer..
Installation af sikkerhedsventiler udføres i følgende sektioner af systemet:
- På steder med størst sandsynlighed for overtryk – efter kedler, cirkulationspumper, på opsamlere;
- På returrøret er en varmekugleventil eller dens kronbladanalog nødvendigvis monteret. Det er også nødvendigt at installere denne komponent i cirkulationspumpens rørledning;
- På det højeste punkt i kredsløbet – for at fjerne luft fra systemet. En Mayevsky -kran er installeret på radiatorer og batterier.
Sikkerhedsventiler bør ikke forringe varmesystemets ydeevne. Først og fremmest eliminerer de mulige funktionsfejl i driften af varmeforsyning. I “inaktiv” tilstand bør disse komponenter i systemet ikke forværre kølevæskens bevægelseshastighed, påvirke temperaturen.
For at forhindre et kraftigt trykfald i make-up-enheden skal der installeres en varmeaftapningsventil. Det forhindrer en pludselig trykstigning..
Varme luftventil
Under driften af varmeforsyningen kan der dannes luftlåse i rør og radiatorer. Årsagen til dette er det høje iltindhold i vandet, kølevæskens temperatur er over + 100 ° C. Som følge heraf sker oxidation af metalkomponenter, og temperaturfordelingen ændres. For at undgå disse situationer er det nødvendigt at installere ventiler for at udlufte luft fra varmesystemet..

Luftventilens arbejdsprincip
Først og fremmest er luftventilen til varmeforsyning monteret i sikkerhedsgruppen sammen med et afløb og en manometer. I varmekredsen er de placeret på en lige linje, der fører fra kedlen. På dette sted er den højeste temperatur af kølevæsken, såvel som de maksimale trykindikatorer. I kollektorkredsløbet er det obligatorisk at installere varmeforsyningsafløbsventiler på hver manifold.
Ventilationsåbninger er opdelt i to typer, som hver især er beregnet til installation i visse områder af systemet:
- Mayevskys kran. Installeret i en radiator (batteri) og er nødvendig for at fjerne luftlåse;
- Automatisk udluftning. Den er monteret på det højeste punkt i systemet såvel som i sikkerhedsgrupper. Luft kommer ud gennem det fra varmesystemet.
For sidstnævnte model er det vigtigt at overholde driftsbetingelserne. Efter en lang periode med inaktivitet er der stor sandsynlighed for at nogle bevægelige komponenter vil “klistre”, og så fungerer luftventilen ikke. For at undgå dette bør du regelmæssigt inspicere strukturen og om nødvendigt udskifte den med en ny..
De fleste varmeventilmodeller er designet til tryk fra 0,5 til 7 bar.
Fare for luftbelastning
Luften opløst i varmebæreren ødelægger til sidst metalrør og radiatorer samt stålelementer i varmekedlen. Den ætsende virkning af luft, som oprindeligt blev opløst i vand og derefter adskilt under forhøjede temperaturer, er betydeligt højere end atmosfærisk luft på grund af den høje mængde ilt.
Gasserne, der dannes i rørene, begynder ikke kun at fremprovokere eller fremskynde processen med korrosion af metalelementer, men skaber også luftlåse, der forhindrer varmesystemet i at fungere normalt:
- 1. Gaspropper spiller rollen som en varmeisolator, og hvis der dannes luft i den øverste sektion af radiatoren, så opvarmes den værre og overfører mindre varme til rummet.
- 2. På grund af blokeringer falder varmebærerens cirkulation, i nogle tilfælde kan vandets bevægelse gennem rørledningen blokeres fuldstændigt. I denne situation afkøles varmeenhederne hurtigt..
- 3. Pumper til at flytte varmebæreren rundt i kredsløbet er ikke designet til luftcirkulation; under drift med en luftbåren væske udsættes pumpehjulet og udstyrets lejer for meget hurtigere.
- 4. I nærvær af gaspropper begynder vandets bevægelse langs varmekredsen at ledsages af gurglende og gurglende lyde, dette forårsager akustisk ubehag i rummet.
Sådan vælges en luftventil
For at vælge en ventil skal du kende betingelserne og funktionerne, som den skal bruges under. Og tag også højde for ikke kun de nyttige kvaliteter, men også ulemperne ved luftventiler. Med håndholdte enheder er den eneste ulempe måske en persons deltagelse i at frigive luft..
Automatiske ventilationsåbninger mangler denne ulempe, men de har en række andre. For det første, når gassen frigives, sprøjter vand ud af apparatets dyse og efterlader spor på udsmykningen af vægge, loft eller gulv. For det andet kan disse enheder forårsage lækage af kølevæske, når flydermekanismen sidder fast. Hvad sker der med langvarig immobilitet, for eksempel i løbet af sommeren.
Derfor er det nødvendigt at tage hensyn til de mulige konsekvenser af brugen af automatiske enheder, når du vælger en udluftning..
Du skal også vide, at foran den automatiske ventil skal du sætte en hane, der giver dig mulighed for at afbryde enheden fra systemet til vedligeholdelse, udskiftning og i tilfælde af funktionsfejl. Desuden kan en sådan ventil bruges til at frigive luft, når systemet fyldes eller kølevæsken tømmes. For at fremskynde denne proces er det nok at skrue ventilen af vandhanen.
Nu vil vi overveje betingelserne for brug af luftfjernelsesenheder. De kan opdeles i tre grupper:
- Luftfjernelse ved påfyldning af systemet, eller påfyldning ved tømning af varmemediet.
- Fjernelse af akkumuleret gas under varmesystemets drift.
- Lokal fjernelse af luft fra et element i varmesystemet (radiatorer) eller ved en bestemt sektion af rørledningen.
I det første tilfælde bruges kraner med et tværsnit på mindst 15 mm. En hane udstyret med en automatisk ventil kan bruges. Hvorfor ventilen fjernes fra hanen. Og efter afslutningen af processen, sæt tilbage.
Hvilke problemer kan luftventilen løse??

Når du bevæger dig langs konturen, vælger kølevæsken den vej med mindst modstand, og da luftige områder er en alvorlig hindring for passage af opvarmet vand fra kedlen, forbliver batterierne med akkumuleringer af luftmasse kolde eller opvarmes kun delvist. Ud over det faktum, at et sådant fænomen forringer kvaliteten af opvarmning, har det også en skadelig effekt på ydeevnen for alle elementer, der er forbundet til kredsløbet..
Hvis varmesystemet ikke bruger en ventil på radiatoren til at udlufte luft, kan ejeren forvente følgende problemer:
- svigt i kedlen som følge af overophedning af varmeveksleren;
- korrosion af varmeudstyr;
- lav temperatur på radiatorerne, når kedlen kører med maksimal ydelse;
- risikoen for afrimning af en separat radiator eller et helt kredsløb i alvorlig frost;
- pludselige trykstigninger i kredsløbet, hvilket fører til utætheder og krænkelse af varmeapparaters integritet.
Det skal forstås, at luften i kredsløbet er en alvorlig gene. Og hvordan man kan slippe af med luften i kredsløbet kan findes i vores artikel “Sådan udluftes luft korrekt fra en radiator?” Det har fysiske egenskaber, der adskiller sig fra vand – ved opvarmning udvides det mere og hurtigere. Dette fører til alvorlige ulykker..
Ved at vide, hvordan man korrekt lufter varmesystemet, beskytter ejeren sig selv mod unødvendigt besvær og omkostninger og bringer varmekredsløbets pålidelighed til et nyt niveau..
Hvorfor sker luftningen af systemet?

Luftlåse fører til hurtig slitage af varmesystemet
Luftmasser i rør påvirker driften af varmeudstyr negativt. Jern, der kommer i kontakt med ilt, ruster hurtigere. I nærvær af stik kan kølevæsken ikke bevæge sig helt langs konturen, hvilket gør opvarmning minimal. Luftbobler fører også til nedbrud af cirkulationspumper..
Luftstop kan forekomme af flere årsager:
- Varmebæreren er almindeligt vand med uopløst ilt. Stoffet på opvarmningstidspunktet kommer i en gasformig tilstand og akkumuleres ved bøjningerne eller på toppen af rørene.
- Systemet fyldes hurtigt op med vand.
- Varmemediet leveres fra toppen, og ingen bobler forskydes.
- Forbindelsespunkterne har mistet deres tæthed under drift.
- Varmeanlæg forkert designet.
- Tilslutning af radiatoren i den forkerte vinkel.
- Luftadgang til rørledningen under reparationsarbejde.
Hvorfor er luften i varmesystemet farlig?
Luften, der er opløst i kølemidlet, ødelægger gradvist stålrør og radiatorer, elementer i kedelenheden. Den ætsende aktivitet af luft, som først blev opløst i vand og derefter frigivet under opvarmning, overstiger betydeligt parametrene for atmosfærisk luft på grund af det øgede iltindhold.
Gasserne, der er akkumuleret i rørledningen, fremkalder eller fremskynder ikke kun korrosion af metalelementer, men danner også luftlåse, der forhindrer varmesystemet i at fungere fuldt ud:
På grund af gaspropper forringes kølevæskens cirkulation; i alvorlige tilfælde kan væskens bevægelse gennem rørene blokeres fuldstændigt. I en sådan situation afkøles varmeenheder hurtigt..
Luftlåse fungerer som varmeisolator, og hvis der samler sig gasser i den øverste del af batteriet, varmes det værre op og giver mindre termisk energi til rummet.
I nærvær af luftlåse ledsages kølevæskens bevægelse langs varmekredsen af høje gurglelyde og gurgling, hvilket krænker den akustiske komfort i huset.
Cirkulationspumper er ikke designet til at pumpe gasser; når der arbejdes med et luftfyldt kølemiddel, slides lejet og pumpehjulet på pumpeenheden meget hurtigere.
Særlige udluftningsanordninger giver dig mulighed for at løse de problemer, der er forbundet med luftning af varmesystemet
I hvilke tilfælde er der installeret en udluftning på radiatoren
Radiatorer tilsluttes varmesystemet på to punkter. En af dem er indløbet, hvorigennem kølevæsken kommer ind i batteriet, den anden er den udløb, hvorigennem kølevæsken kommer ind i returrørledningen.
I et klassisk varmeanlæg tilsluttes hvert batteri til forsynings- og returrørledninger øverst på radiatoren og i bunden. I dette tilfælde løber rørledningerne lodret, gennem alle etager, ved siden af batterierne. Nogle gange er 2 radiatorer forbundet på et tidspunkt ad gangen. Ved påfyldning af varmesystemet tvinges luft ud af radiatoren gennem den øvre indløbsåbning og siver opad langs den lodrette rørledning. I dette tilfælde er en udluftningsventil ikke påkrævet. Men det vil ikke være overflødigt.
Ved tilslutning af batteriet til et rør placeret på gulvet eller i gulvet i henhold til det nederste ledningsdiagram, vil luft ikke blive tvunget ud af varmeenheden. I dette tilfælde er installation af en ventil på varmebatteriet for at frigive gassen obligatorisk. Først efter fjernelse af luft fra radiatoren, vil enheden blive helt varm. Denne regel gælder for enhver radiator: støbejern, aluminium eller stål..
Vigtigt: Hvis luften i rør- og radiatorsystemet ikke har noget sted at gå ud, skal luftventilen installeres, uanset varmeforsyningssystemet.
Hvor anbefales installationen?
Som nævnt skal en luftudluftningsventil installeres på det højeste punkt i varmesystemet. Men nogle gange skal det installeres i andre områder..
Ved installation af varmesystemet anbefales det at udføre vandrette sektioner med en hældning, 3: 100. Dette fremmer fjernelse af luft til det højeste punkt i systemet til efterfølgende fjernelse. Det er imidlertid ikke altid muligt at overholde denne betingelse. I nogle tilfælde er det nødvendigt at foretage en lokal forhøjning, for eksempel over en døråbning eller ved krydsning med andre ingeniørnetværk. I dette tilfælde er det på det højeste højdepunkt nødvendigt at installere en udluftning på varmeledningen for at udlufte luft under påfyldning og efterhånden som den ophobes..
Hvordan installeres luftaflastningsventiler?
Alle luftventiler er gevindskårne. Til deres installation på rørledningen, på installationsstedet, tilsluttes en nal med den tilsvarende tråd. Dernæst installeres en manuelt styret ventil til udluftning af luft fra varmesystemet..

Hvis du planlægger at installere en automatisk udluftning, skal du først installere en afspærringsventil. Og først derefter selve udluftningen. Dette er nødvendigt for at slukke for den automatiske ventil under reparation og udskiftning eller i tilfælde af lækage..
På varmeapparater installeres luftudluftningsventiler af producenterne. Men om nødvendigt kan du selv installere Mayevsky -kranen. Til dette er radiatoren frakoblet varmesystemet. Stikket er skruet af. Der bores et hul i den. Hvis stikket er tykt nok, skæres der en tråd i det til Mayevskys hane. Ellers indsættes ventilen i det udvidede hul, en pakning installeres på bagsiden for at sikre tæthed, derefter skrues en skive og en møtrik på. Ved montering installeres stikket på plads.
Sådan fjernes luftslusen
For at evakuere gas åbnes den manuelle ventil let til minimumspositionen, indtil lyden af luft eller vand kommer frem. Når der kommer vand, er hanen lukket. For at beskytte nærliggende overflader mod sprøjt kan du bruge en klud, spand, tallerken.
Automatiske ventiler kan frigive luft på egen hånd. Men med jævne mellemrum, en gang om måneden eller når cirkulationen falder, bør de kontrolleres ved at udføre en kontrolnedstigning. Til dette er kontrolknapper installeret på dem. Når der trykkes på knappen, sænkes flyderen. Der er altid en lille mængde gas i flydekammeret, dette er normalt. Hvis der er meget mere luft, kan ventilen sidde fast. Efter et stykke tid er det værd at kontrollere sit arbejde igen..

For at fjerne luftlåsen fra svært tilgængelige steder eller i et område, hvor luftventiler ikke er installeret, skal kølevæskens maksimale strømningshastighed oprettes. Det bevægelige vand vil bryde luftslusen i små bobler og føre dem ud af akkumuleringsstedet. For at gøre dette kan du foretage en delvis dræning af vand, mens efterfyldningen kører eller kølevæsken tilføres ved indgangen til rummet. Dræning skal ske så tæt som muligt på luftningspunktet. Professionelle låsesmede fjerner stik på denne måde gennem afløbet i kælderen, selv i etagebygninger, når der ikke er adgang til den lukkede lejlighed på øverste etage.
Metoder til fjernelse af luft
Luftlåsen kan ikke være permanent et let tilgængeligt sted. Under installations- eller konstruktionsfejl akkumuleres luft i rørene. Det er ret svært at fjerne det derfra. For at gøre dette skal du først identificere korkens placering. På udseendet bliver rørene kolde, du kan også høre murren inde i dem. Hvis der ikke er tydelige tegn, kan du kontrollere lyden af rørene ved at trykke på. I området med overbelastning af en luftlås er lyden højere og mere klangfuld..
Derefter skal luften bortvises. Hvis vi overvejer varmesystemet i et privat hus, skal du øge trykket eller temperaturen for dette. For at øge trykket er det nødvendigt at skrue efterfyldningsventilen og den nærmeste luftudløsningsventil af. Vand vil begynde at strømme ind i varmekredsen, hvilket øger trykket, som tvinger luften til at bevæge sig fremad. Stikket kommer ud, når det kommer ind i afløbsventilen. Når alle luftmasser er helt væk, vil luftventilen stoppe med at hvæse.

Inden du fjerner luft, skal du omhyggeligt læse nuancerne i denne handling.
Dog kan ikke alle luftlommer fjernes på denne måde. I visse tilfælde er det nødvendigt samtidig at øge både tryk og temperatur. Disse indikatorer skal hæves til værdier, der er tæt på kritiske, men de kan ikke overskrides. Hvis luften efter proceduren ikke kommer ud, kan du prøve at åbne en ekstra afløbs- og efterfyldningsventil. Måske vil dette flytte luftslusen..
Hvis problemet vises regelmæssigt i en sektion, er fejlen i den forkerte rørføring eller en fejl i projektet. For ikke hele tiden at lide under opvarmningssæsonen skæres en udløsningsventil ind i problemområdet. Du kan installere en tee i rørledningen og sætte en ventil på den gratis indgang. I dette tilfælde løses problemet yderligere meget enkelt..
Automatisk ventil til forsyningsventilation AERECO:
Typer og designfunktioner af ventiler til opvarmning
I øjeblikket bruges til drift af bypass -ventiler to driftsprincipper, der er forskellige i deres væsen – fjeder og løftestang. Sidstnævnte bruges oftest til store centralvarmeledninger. Overvej detaljerne i arbejdet i hver af dem.
Fjederventiler
Princippet for denne mekanisme er som følger. Væskestrømmen virker på capan -lukkeren, hvis bevægelse er begrænset af en fjeder. Så snart trykværdien overstiger fjederens kompressionskraft, stiger stangen op. Som et resultat kommer kølevæsken ind i udløbet. Efter stabilisering af den interne vandmængde vil fjederen på sikkerhedsventilen til varmekedlen bringe lukkeren tilbage til sin oprindelige position. Som et resultat ophører kølevæskestrømmen med at strømme ind i udløbet.
Fjeder fyldt med plastik eller messingstamme
Denne type er den mest almindelige. Konstruktionen af en fjederbelastet kontraventil er ikke meget mere kompliceret. En skive bruges som et afspærringselement, hvortil en spindel er fastgjort. En fjeder sættes på denne stang. I den “oprindelige tilstand” tvinger fjederen skiven mod husets kanter og blokerer strømmen. Så snart kølevæsketrykket bliver større end trykket i systemet, bevæger skiven sig tilbage og åbner passagen. Trykket falder, afspærringselementet vender tilbage til sin oprindelige tilstand.

Fjederbelastet kontraventil og dens funktionsprincip
En kontraventil af denne type er billigere end et kronblad og en kugleventil, men det er ikke tilrådeligt at installere det i varmesystemer med naturlig cirkulation: det er usandsynligt, at gravitationsstrømmen vil “skubbe igennem” det. Og det indsnævrer tværsnittet kraftigt og reducerer igen systemets effektivitet. Men på returledningen for den indirekte varmekedel eller på systemets tilførselsledning til koldt vand fungerer det meget godt.
Nogle håndværkere ændrer sådanne prøver til naturlig cirkulation. For at gøre dette adskilles de, udskifter standardfjederen med en svagere – så den fungerer ved et lavere tryk. Den anden mulighed er at bygge aktien op. Under alle omstændigheder mislykkes de konverterede kopier ofte – låseskiven forvrænges, hvorefter den ofte sætter sig fast. Som et resultat fungerer systemet ikke normalt i nogen af tilstande. Så ved omløb af cirkulationspumpen bør en sådan mulighed ikke udtrykkes entydigt – hverken “original” eller ændret.

Oventrop SWI (Tyskland) – et af de mest pålidelige mærker, der har få klager
Den fjederbelastede kontraventil fås med messing- eller plaststamme. Hvis man ser på egenskaberne, er der ikke den store forskel. Begge kan bruges ved temperaturer op til 120 ° C. Men der er forskel i pris – tre gange dyrere med en messingstang. Det er op til dig at beslutte, da det vigtigste er et fjeder af høj kvalitet. Men bestanden er også vigtig.
Lever-vægt ventil

Denne type aflastningssikkerhedsanordning bruges til rørledninger med store diametre (fra 200 mm). I den udøver en belastning med en anden masse i stedet for en fjeder en kraft på stangen..
Inden du vælger en sikkerhedsventil til et varmesystem med et lignende design, skal du gøre dig bekendt med detaljerne i dens drift. Først og fremmest er dette en grov indstilling af den kritiske trykværdi. Dette kan gøres ved at ændre massen på yderarmen. På fjedermodeller kan dette gøres ved at dreje justeringshætten. Desuden kan den mindste ændring i trykværdien være 0,2 bar.
Balancering
Enhver CO kræver hydraulisk justering, med andre ord – balancering. Det udføres på forskellige måder: med en korrekt valgt rørdiameter, skiver, med forskellige strømningstværsnit osv..
Formålet med denne enhed er, at den nødvendige mængde kølemiddel og mængden af varme kan leveres til hver gren, kredsløb og radiator..
Ventilen er en konventionel ventil, men med to beslag installeret i messinglegemet, som gør det muligt at tilslutte måleudstyr (manometre) eller et kapillarrør med en automatisk trykregulator.
Funktionsprincippet for balanceringsventilen til varmesystemet er som følger: Drej justeringsknappen for at opnå en strengt defineret strømningshastighed for kølevæsken. Dette gøres ved at måle trykket ved hver dyse, hvorefter antallet af omdrejninger på justeringsknappen i henhold til diagrammet (normalt leveret af fabrikanten til enheden) bestemmes for at opnå den nødvendige vandgennemstrømningshastighed for hvert CO -kredsløb . Manuelle balanceringsregulatorer er installeret på kredsløb med op til 5 radiatorer. På grene med et stort antal varmeenheder – automatisk.
Poppet ventiler
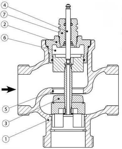
Princippet om betjening af en tæppe -kontraventil er tydeligt fra dets design, vist på tegningen:
- Inde i det cylindriske messinglegeme er der lavet en platform med et rundt hul – en sadel.
- På den anden side af delen laves en skillevæg med et hul i midten..
- En stilk med en dukke i enden forsynet med en tætning indsættes i baffelhullet.
- En fjeder er installeret mellem bafflen og “pladen” og presser skiven mod sædet.

Vand, der strømmer i den rigtige retning, overvinder fjederkraften, åbner sædebenet og går videre. I den modsatte retning er strømmen umulig – kanalen lukker straks. Hvilke egenskaber ved en kontraventil er vigtige for varmesystemer:
- evnen til at fungere i enhver orientering af kroppen i rummet;
- arbejdstryk – ikke mindre end 10 bar, diametre DN15 – DN100 (intern);
- tilslutningstype – kobling (indvendigt rørgevind);
- en fjederlås skaber en øget hydraulisk modstand mod væskestrømmen;
- forseglingen mister sin tæthed i tilfælde af indtrængning af faste partikler som sand.

I ingeniørnetværkene i private huse og lejligheder bruges ventiler med koblingsforbindelser.
Reference. Der er mere kompakte versioner af fjederbelastede kontraventiler, der er installeret mellem flanger. At reducere størrelsen er nyttig, når du installerer rør af kedler i et begrænset rum i ovnen.
Poppet -låse bruges også i vandforsyningsnetværk, for eksempel i forbindelse med nedsænkelige pumper. Ventilen tillader ikke vand fra rørledningerne at løbe tilbage i brønden eller brønden.
Løft ventiler
Et andet ventildesign er meget almindeligt. I den udføres bevægelsen af klappeventilen langs den lodrette akse. Ventilen løftes ved et direkte flow, men sænkes allerede, når den svækkes af sin egen vægt.

Produkterne er kendetegnet ved vedligeholdelse, de er lette at rengøre, og de fungerer ganske pålideligt. Men på samme tid skaber de en øget modstand mod strømmen, og deres installation er kun mulig i et vandret rør (eller i en position tæt på denne position), med en drejning af ventilhuset lige op.
Direkte og indirekte ventil
Trykreguleringsventiler er opdelt i direkte og indirekte enheder.
- Den første type ventil har et enkelt design: en fjeder sættes i gang af en lukker, hvorpå kølevæsken trykker direkte. Sådanne enheder er billige, lette at betjene, pålidelige, ufølsomme over for snavs, men ikke særlig præcise i indstillinger..
- Indirekte virkende enheder, også kaldet pulsindretninger, har en stempelaktiveret hovedventil, en mindre pulsventil og en tryktransducer. Når trykket ændres, trykker den lille ventil på stemplet, som driver hovedventilen, som regulerer enhedens gennemstrømning. Således sker flowkontrol indirekte på en indirekte måde. Ventiler af denne type er mindre pålidelige på grund af det større antal dele, dyre, men mere præcist indstillelige..
Inddeling af ventiler efter fastgørelsesmetode.
- Koblingsventiler bruges til små rørdiametre, op til og med 50 mm. De kendetegnes ved den største billighed og nemme installation. På metaltråde viser det bedste fugemasse sig at være det samme smurte hør.

- Flangeflanger er fastgjort til rør med stor diameter, startende fra 40 mm, ved hjælp af bolte og pakninger af gummi, silikone mellem flangerne.

- Svejset. Metalsvejsede ventiler er sjældne, så dette er mere sandsynligt for produkter i polypropylenhuse..

Plastventiler vil være de billigste, men de er heller ikke praktiske. Det er bedre at sætte amerikanske kvinder og en metalventil på tråden. Det stærkeste og mest holdbare rustfrie stål er tilbage.
Diskartikler
Et særpræg ved produktet er tilstedeværelsen af en sommerfuglventil. Dette er et plast- eller metalelement, hvis dimensioner tillader det helt at blokere kølevæskestrømmen, hvis det begynder at bevæge sig i den modsatte retning..
Skiven er forbundet til en stålfjeder. Med væskens direkte bevægelse er den i en komprimeret tilstand. Når du skifter retning, retter den sig og flytter disken fra sin plads og blokerer derved røret.
Ventildesignet indeholder også en pakning, der gør det muligt for ventilmekanismen at sidde så tæt som muligt i sædet. Derfor er lækage udelukket i apparater, der kan serviceres..
Diskenheder bruges meget i arrangementet af husholdningsvarmesystemer, da de har betydelige fordele:
- Kompakthed. Produkternes dimensioner og vægt er små, hvilket gør det muligt at installere dem på ethvert system.
- Regelmæssig vedligeholdelse er ikke påkrævet for enheden.
- Omkostningerne ved enheden er lave.
Af de betydelige mangler er det værd at bemærke den uegnede til reparation. Derfor udskiftes fejlede ventiler med det samme med nye..

En væsentlig ulempe ved skivenheder er betydelig hydraulisk modstand. Diagrammet viser tydeligt, hvordan det opstår. Væsker skal overvinde en forhindring i form af en låseskive
Og en anden ulempe er den betydelige hydrauliske modstand, der skabes af enheden. For nogle systemer, f.eks. En jordvarmepumpe, kan dette være kritisk. Over tid bliver ventilen dækket af et lag med mineralske aflejringer, hvilket fører til fejl i enheden..
Standard skiveventiler genererer en vis stødbelastning, når de lukkes. Dette påvirker ikke deres ydeevne og tekniske tilstand på nogen måde, men der opstår en vandhammer i systemet. Hvad er uønsket for hende.
Uden denne ulempe er skivenheder med en ekstra mekanisme, der giver dig mulighed for at lukke hullet så let som muligt. Deres omkostninger er højere end for standardmodparter.
Manuelle ventilationsåbninger
Ved påfyldning af varmesystemet skal kølevæsken, der kommer ind under tryk, fortrænge al gassen. Til dette, på systemets højeste punkt, er der installeret en ventil til udluftning af luft fra varmesystemet. For at påfyldning kan finde sted på relativt kort tid, skal kranens gennemløb give en fri udgang. Derfor installeres haner med en diameter på mindst 15 mm, og nogle gange mere. Efter påfyldning af systemet lukkes ventilen.

I de første dage med opvarmning frigives gasser meget aktivt fra kølevæsken og akkumuleres. Derfor omgår servicepersonalet dagligt og nogle gange 2 gange om dagen alle luftudløserventiler og frigiver det. Dette kræver en masse låsesmede og tid..
For at reducere lønomkostningerne begyndte de at installere små tanke til opsamling af luft, som blev kaldt luftopsamlere. Traversal kunne nu udføres meget sjældnere, men det var stadig påkrævet.
I moderne huse bruges lejlighedsopvarmningskabler med et lavere rørledningsarrangement i stigende grad. Anvendelsen af et sådant varmesystem giver en række fordele: besparelse af materialer under installationen, varmemåling af lejligheder, temperaturregulering af lejligheden, op til en fuldstændig nedlukning, forbedrer rummets design. Men der er også nogle problemer. Når man fylder et sådant varmesystem, kan luften i batterierne ikke forskydes fra det. Da varmeapparatet er placeret over rørledningen.

Ordninger for et etrørs varmesystem i et privat hus Etrørs varmesystem i et privat hus med bundledninger: diagram
Hygge i huset er ikke kun en smuk ramme, korrekt udvalgte interiørartikler, men også varme, især i vinterkulden. Varme skal leveres konstant, hvilket skaber en behagelig …
Derfor, for at frigive luft, er alle moderne varmeenheder udstyret med en lille udluftningsventil til fjernelse af gasser, navnet er “Mayevsky -kran”. Ved navnet på opfinderen af denne kran. Disse haner åbnes og lukkes kun manuelt. Enhedens princip er enkelt. En skrue skrues i stikket, skærpes i enden på en kegle. Ved to eller tre omdrejninger bevæger keglen sig væk fra hullet og frigiver langsomt luft. Når der vises vanddråber, skrues skruen tilbage og lukker hullet.
Kugleventiler
En metalkugle bruges som lukker i enheder af denne type. Det er fremstillet af aluminium, stål og andre metaller. Elementet er dækket med et lag gummi for at forlænge levetiden..
En sådan lukker fungerer som følger: Når kølevæsken bevæger sig gennem enhedens krop i den ønskede retning, løfter den bolden, som bevæger sig ind i ventilens øvre rum.

Kugleventilen har minimal hydraulisk modstand, derfor bruges den i vid udstrækning i en lang række varmesystemer. Et andet plus er en lang levetid
Så snart bevægelsesretningen ændres, eller strømmen stopper, sænker bolden straks og lukker røret. Således bliver væskens bevægelse i den modsatte retning umulig..
Fordelene ved disse ventiler omfatter:
- pålidelighed – designet inkluderer ikke gnidnings- eller bevægelsessystemer, hvilket reducerer muligheden for brud betydeligt og giver dig mulighed for at arbejde i enhver position;
- vedligeholdelse – den øvre del af ventilhuset er udstyret med et aftageligt dæksel, som giver let adgang til indersiden af strukturen;
- lav hydraulisk modstand.
I betragtning af ulemperne er det værd at bemærke den ret store arbejdsdiameter. Af denne grund er det umuligt at bruge dem i husholdningsrørledninger med små tværsnit..
Kugleventiler er lunefulde, når de installeres på grund af designfunktioner. Når de installeres vandret, skal de placeres med låget opad, ellers kan lukkeren ikke stige for at tillade vandstrømning. Baseret på de samme overvejelser, når du installerer lodret, skal du strengt sikre, at væsken bevæger sig strengt opad..
Kugleventiler vil ikke kunne fungere normalt i rørledninger med lavt tryk. Da den mindste værdi, hvormed kuglen, der lukker åbningen stiger, normalt er 25 bar.
Hovedtyper
Først og fremmest er ventilerne forskellige i diameter. I standarderne for installation af kloakker, der er tilbage fra sovjettiden, er der en diameter på 110 mm for stigerør, og alle andre rør har en diameter på 50 mm. I dag er der vist ikke-standardmuligheder, for eksempel med en diameter på 75 mm, men de er meget mindre udbredt..
Forskellige materialer bruges til fremstilling af afspærringsanordninger. De kan både være metal (bronze, messing, rustfrit eller kulstofstål) og polymer (PVC, polyethylen). Hver af mulighederne har sine egne fordele og ulemper:
- Metalprodukter er betydeligt dyrere. De er holdbare, men kræver opmærksomhed på deres tilstand og periodisk vedligeholdelse..
- Plastventiler er billigere. De tærer praktisk talt ikke. Men den mekaniske styrke af sådanne strukturer er mindre.
Strukturelt er kontrolventiler (eller afløb) også forskellige. De mest almindelige muligheder er:
- Kugleventilen har en meget enkel struktur: en gummikugle er frit placeret i røret, hvis diameter er lidt større end rørets samlede diameter. Når væsken bevæger sig i fremadgående retning, går bolden ind i et specielt kammer, og under den omvendte bevægelse stopper bolden fanget af vandet tæt på rørets hals. Takket være et så enkelt design er der simpelthen ikke noget at bryde i denne enhed..
- Skiveenhed. Den mest kompakte mulighed. En sådan ventil er praktisk til installation i trange rum. Men i tilfælde af fejl skal du skille en del af systemet ad for at reparere eller udskifte den forældede enhed..
- Løfte- og drejeventiler er designet med fjederbelastede klapper. Sådanne enheder er relativt store, tunge og ikke billige. Fordelen er muligheden for let at adskille til rengøring, justeringer og mindre reparationer.
Valget af en bestemt type enhed afhænger af det budget, der er afsat til reparationen, installationsstedet, typen af rør og de eksisterende forhold..
Lukker af kronblad
Denne type ventil er forseglet med en tynd stålplade. Det fastgøres til en hængselstruktur, der gør det muligt at bevæge sig..

Dobbeltbladet kontraventil er meget pålidelig og kan modstå højt tryk. Men det har samtidig alvorlig hydraulisk modstand, da klappernes svingakse er placeret direkte i midten af passagehullet
Der er to typer kronbladeindretninger. Enkeltblad eller drejelige er udstyret med en plade, der kan rotere rundt om en akse.
Når kølemidlet bevæger sig i en given retning, løfter det rammen og åbner derved passagehullet. Når strømningsretningen ændres, sænkes pladen. Dette kan gøres med eller uden en fjeder..
Sommerfuglventiler er designet lidt anderledes. De har to låseplader fastgjort til drejeakslen og centreret om boringen..

Kølevæsken, der bevæger sig langs varmekredsløbet, åbner begge klapper på kontraventilen med to blade, og når bevægelsesretningen ændrer sig, slår fjedrene pladerne
Fordelene ved at bruge disse ventiler anses for at være følgende:
- nogle modeller af tyngdekraftsventiler kan fungere uden fjedre, hvilket gør det muligt at bruge dem i tyngdekraftsystemer;
- relativt lave omkostninger ved enheder.
Af manglerne er det værd at bemærke en temmelig høj hydraulisk modstand. Dette gælder især for dobbeltbladede modeller – drejeaksen er placeret direkte i midten af boringen, hvilket er en væsentlig hindring for en væske i bevægelse.
Af denne grund bruges sommerfuglventiler udelukkende i højtrykssystemer..
Løfteudstyr
Løfteventiler er udstyret med en spole, der kan bevæge sig frit omkring en lodret akse. På det gennemgående hul er der et landingssæde, hvor spolen er placeret.
Når væsken tilføres, hæver dens tryk kraft lukkeren, og den bevæger sig langs aksen og åbner hullet for kølevæskens bevægelse. Så snart strømningstrykket svækkes eller ændrer retning, vil spolen sænke sig ned i sædet.

Liftventilen er kun installeret lodret. Ellers vil varmeoverførselsvæskens tryk ikke være nok til at hæve låsemekanismen
Fordelene ved disse enheder er:
- Pålidelighed. Udstyret har et ret simpelt design, som gør det muligt at operere med minimal risiko for sammenbrud..
- Lav følsomhed over for kølevæskens kvalitet.
- Mulighed for reparation. Til dette er et aftageligt dæksel placeret i den øverste del af enhedens krop..
Blandt manglerne er det nødvendigt at bemærke begrænsningerne i installationen. På grund af designfunktionerne kan de kun monteres i en strengt lodret position..
Tyngdekraftsventil til opvarmning
Det kaldes også en krakkerventil, det bruges kun i tyngdekraftsystemer og installeres som regel ved indløbet til kedlen. Består af et metal “kronblad”, der presses tæt mod kanten ved hjælp af en fjeder.

Fjederen i en sådan enhed er temmelig svag og forstyrrer ikke den naturlige cirkulation af kølevæsken, ligesom den næste præsenterede mulighed.
Kobling
Alle produkter, der blev diskuteret ovenfor, var fuldstændig autonome og adlød ikke eksterne påvirkninger, og arbejdede kun i en retning. Men i tilfælde, hvor det for eksempel er nødvendigt at tømme kølemidlet fra rørene, er der behov for en enhed, der gør det muligt at åbne kølemiddelstrømmen i den modsatte retning – bare sådan en enhed er en kobling eller ventilventil.

Valget mellem en kobling og en ventil skyldes oftest netværkets interne arbejdstryk, hvis det er højt, bruges en ventil, hvis det er medium, vil koblingen være nok.
Trevejs varmeventil
For at regulere vandtemperaturen i to-rør og solfangersystemer er der installeret en trevejs blandingsventil i varmesystemet. Det tilsluttes flow- og returrøret.

Princippet for drift af en trevejs blandeventil i et varmesystem er at blande varmt og koldt vand i rørene. Dette giver dig mulighed for at indstille det nødvendige varmemiddelvarmeniveau uden at ændre kedlens driftstilstand..
Den afgørende faktor ved valg af en trevejsventilmodel er et kontrolelement, der kan være af følgende typer:
- Hydraulisk;
- Pneumatisk;
- Elektrisk.
Ved autonom opvarmning installeres oftest modeller med et elektrisk drev. De kan forbindes til systemets kontrolelementer
Det er vigtigt at indstille blandingstilstanden korrekt for ikke at forringe varmeforsyningsparametrene.
Valg og installation af varmeventiler bør kun udføres efter en nøjagtig beregning af systemet. Som et resultat af dette arbejde bestemmes parametrene for alle komponenter, og på grundlag af disse data vælges de eksisterende modeller..
Justering af drivmekanisme
Trevejsventiler er opdelt i fire typer i henhold til kapacitetstype og flowkontrol:
- Brugervejledning;
- Hydraulisk;
- Termostatisk;
- Elektrisk.
En manuelt justerbar ventil er den enkleste og mest upålidelige løsning. Når temperaturen på kølevæsken ændres, tilpasser den sig ikke til den.
Den hydrauliske aktuator er udstyret med et stempel fyldt med temperaturfølsom væske. ved opvarmning udvider den sig, og stempelstangen overlapper sædemekanismen.
Termostatiske 3-vejs ventiler er udstyret med en konventionel termostat. De er ikke justerbare og har et smalt arbejdstemperaturområde. Sådanne ventiler er ikke almindelige og bruges til at løse specifikke problemer..
Trevejsventiler med et elektrisk drev (servodrev) er den mest praktiske og almindelige mulighed. De kan justeres til den ønskede temperatur. De er udstyret med en temperatursensor, der giver signaler til elmotoren. Det omdirigerer igen kølevæskestrømmene. Moderne trevejsventiler giver dig mulighed for at justere driftstilstande afhængigt af tidspunktet på dagen.
Elektriske ventiler fås i to versioner. I form af en monoblok, hvor en sensor, en motor og en controller er samlet i et tilfælde og en separat. I sidstnævnte kan controlleren tages separat, hvilket gør det praktisk at installere i varmesystemer i private huse og lejligheder.
Intern organisation
Der er to typer drejeventiler, sæde og roterende. De adskiller sig i intern struktur og type påført kraft til justering..
Den roterende trevejsventil har en kugleventil. Det drejer, blokerer en retning og åbner en anden (se fig). Den indre struktur af en sådan vandhane ligner en kugleventil..


Arbejdsprincip for 3-vejs roterende ventil
Tre-vejs sadelventilen har en spindel med en (i blandingen) eller to (i adskillelsen) afspærringsanordninger (se fig.). De er metalbolde, der passer tæt ind i reden. Når en af dem blokerer strømmen, er den anden helt åben.

Driftsprincippet for en trevejs ventil.
Driftsprincip
3-vejs omskifterventilen regulerer ikke varmemængden. Det fordeler det bare mellem de to tråde. Hvis du øger volumen og hastighed for kølevæsken, der kommer ind i den ene strøm, falder det i den anden..
3-vejs blandeventilen muliggør mere præcis temperaturkontrol. Det producerer kun en strøm af varmebærer, hvor to væsker blandes – opvarmet og afkølet. Justering af en sådan ventil giver dig mulighed for at give den ønskede temperatur.
Trevejs blandeventil
Blandeventilen fungerer som en slags bypass. Det fungerer som følger:
- Kølevæsken tilføres kredsløbet (varmt gulv, radiatorer);
- Når den passerer langs konturen, afgiver den varme og køler ned;
- Ved udgangen fra kredsløbet kommer en del af kølevæsken ind i trevejsventilen, hvor den blandes med den opvarmede;
- Temperaturen sænkes, og varmemediet strømmer igen gennem varmesystemet.
Det tilrådes at installere trevejsblandeventiler i separate kredsløb. For eksempel i gulvvarmesystemet installeres de umiddelbart efter solfangeren..

Installation af en trevejs blandeventil i varmesystemet
Tips til valg og installation
Hvis du har brug for at opretholde en konstant temperatur på varmemediet, er en hydraulisk eller termostatventil tilstrækkelig. Hvis du planlægger at ændre temperaturregimet, er det værd at vælge en elektrisk eller manuelt betjent ventil..
Hvis du har valgt en manuel, hydraulisk eller termostatventil, skal du overveje fremtiden. Du vil måske installere en servo med en controller. Vælg derfor en model med mulighed for at udskifte drevet..
Vær særlig opmærksom på følgende punkter, når du vælger:
- Maksimalt arbejdstryk (det skal svare til varmesystemets egenskaber);
- Maksimal driftstemperatur (skal være større end kølevæskets maksimale temperatur);
- Gennemstrømning – ventildysernes indre diameter;
- Overensstemmelse med gevindforbindelser i gevindhældning og diameter;
- Ventilmateriale – bronze og messing holder længere end stål og støbejern.
Vær opmærksom på følgende punkter under installationen:
Producentens vurdering
Det er naturligvis umuligt at svare entydigt på, hvilken producent der laver de bedste trevejsventiler. Hvert produkt har sine egne styrker og svagheder. I denne liste er stedene fordelt efter pris / kvalitetsforholdet.
- ESBE (Sverige);
- Danfoss (Danmark);
- Watt (EU);
- Valtec (Rusland-Italien);
- Caleffi (Italien);
- Herz (Østrig);
- Barberi (Italien).
Poppet ventil
Denne type enhed antager tilstedeværelsen af en disk, der er ansvarlig for overlapning af sektionen i rørledningen i tilfælde af ændringer i forholdene i kredsløbet.
Funktioner ved funktion:
- Skiven passer ind i sædet, som er forsynet med en tætning.
- Indefra er strukturelementet fastgjort til en stang, der frit kan bevæge sig langs ærmet.
- En fjeder, der er placeret mellem dukken og karosseriet, sikrer, at skiven trykkes fast mod sædet.
For at forhindre vandstrøm i den modsatte retning installeres et skiveelement af løfte- eller gennemstrømningstype.
Kugleventil
Kugleventiler er kendetegnet ved tilstedeværelsen af en kugle som en aktuator. Til fremstilling af elementet anvendes gummi eller aluminium. Hvis fjederen udløses, når vandstrømmen ændres, overlapper bolden strømningsområdet og falder ned i sadlen. Under den øverste låge bevæger den sig langs en skrå kanal.
Hoppe- og kugleventilerne er designet til installation i et standardvarmesystem. Men i tilfælde af rør med stor diameter garanterer det ikke tilstrækkelig beskyttelse..
Sommerfuglventil
For at sikre en gnidningsløs drift af systemet, hvor der anvendes rør af større størrelser, er en butterflyventil designet. Den er monteret både til levering og retur..
Navnet på denne type enhed skyldes tilstedeværelsen af to fjederflapper, som let åbnes af kølevæsken i tilfælde af normalt tryk i systemet. I tilfælde af en nødsituation forhindrer lukkede klapper vandbevægelse i den modsatte retning.
En særlig akse er ansvarlig for at forhindre forkert cirkulation, krydse strømningsområdet, hvor skærmene er fastgjort. Det menes, at denne ændring af kontraventilen er den mest pålidelige. Enheden er velegnet til højtrykssystemer.
Opvarmning med firevejsventil
Installation af et varmesystem med en firevejsventil:
- Cirkulationspumpetilslutning. Installeret på returrøret;
- Installation af sikkerhedsledninger på kedlens ind- og udløbsrør. Installer ikke ventiler og vandhaner på sikkerhedsledninger, da de er under højt tryk;
- Installation af en kontraventil på vandforsyningsrøret. Driftsprincippet har til formål at beskytte varmesystemet mod påvirkning af modtryk og sifondræning;
- Installation af ekspansionsbeholder. Installeret på systemets højeste punkt. Dette er nødvendigt, så kedlens drift ikke hæmmes under udvidelsen af vandet. Ekspansionsbeholderen er fuldt funktionel både i vandret og lodret position;
- Installation af en sikkerhedsventil. Termostatventilen er installeret på vandforsyningsrøret. Det er designet til jævnt at fordele energi til opvarmning. Denne enhed har en dobbelt sensor. Når temperaturen stiger over 95 ° C, sender denne sensor et signal til den termostatiske mixer, hvilket resulterer i en strøm af koldt vand. Efter at systemet er afkølet, sendes et andet signal til sensoren, som helt lukker hanen og stopper forsyningen af koldt vand;
- Installation af en trykreduktion. Placeret foran indgangen til termostatblanderen. Funktionsprincippet for reduceren er at minimere trykfald under vandforsyning.

Tilslutningsdiagrammet for et varmesystem med en firevejsblander består af følgende elementer:
- Kedel;
- Fire-vejs termostatblander;
- Sikkerhedsventil;
- Reduktionsventil;
- Filter;
- Kugleventil;
- Pumpe;
- Opvarmning af batterier.
Det installerede varmesystem skal skylles med vand. Dette er nødvendigt, så forskellige mekaniske partikler fjernes fra det. Derefter skal kedlens funktion kontrolleres ved et tryk på 2 bar og med ekspansionsbeholderen slukket.
Det skal bemærkes, at der skal gå en kort periode mellem starten på kedlens fulde drift og dens kontrol under hydraulisk tryk. Tidsbegrænsningen skyldes, at det med et langt fravær af vand i varmesystemet vil tære
Diagrammer – hvordan kontraventiler bruges
I varme- og vandforsyningssystemer installeres kontraventiler i parallelle grene, hvor en omvendt væskestrøm er mulig, når tilstanden ændres i nabolandet.
Det enkleste eksempel: mange kredsløb med pumper fra et rør. Når du tænder for en pumpe, ændres trykket i de nærliggende, – hvor en omvendt væskestrøm er uønsket, er der installeret en kontraventil der..
Mest typiske almindeligt anvendte kontraventilkredsløb.
- Tilslutning af en reservekedel, der tænder automatisk uden menneskelig indgriben. En typisk ordning for at kombinere en fastbrændselskedel og en el -kedel. Kontraventilen forhindrer væske i at strømme gennem parallelkedlen, mens en kører. Der bør være ventiler med minimal modstand mod væskebevægelse, men muligvis med en stor kraft til at åbne..

- En anden typisk mulighed er at installere en fast brændselspumpe, samtidig med at muligheden for tyngdekraft bevares. En kontraventil med stor diameter i tyngdekraftsrøret forhindrer strålen i at kortslutte, når pumpen (automatisk) tændes. En ventil med let åbning for at sikre, at tyngdekraften er passende her, og en stor diameter udligner dens lokale modstand..

- Tilslutning af sammensætningen af ethvert varmesystem fra vandforsyningen. I princippet er en kontraventil ikke så nødvendig her … det er installeret i tilfælde af, at trykket pludselig forsvinder i vandforsyningen under påfyldning af systemet. Uden at bemærke dette i tide, kan du slippe hele kølevæsken tilbage i vandforsyningen …
- Kontraventilen er altid installeret i vandforsyningen til pumpen, hvilket forhindrer rørledningen i at dræne ved hjælp af tyngdekraften tilbage til kilden.

Sådan installeres en kontraventil til en pumpe
Typer af reguleringsventiler og deres parametre
Typerne af specielle ventiler til styring af varmeforsyningen til radiatoren omfatter:
- regulatorer fremstillet i form af ventilmekanismer med termiske hoveder, der indstiller en fast temperatur;
- kugleventiler;
- specielle afbalanceringsventiler, manuelt betjent og installeret i private huse – med deres hjælp er det muligt at opvarme husets indre jævnt;
- udluftningsventiler – manuelle Mayevsky -mekanismer og mere avancerede automatiske ventilationsåbninger.
Listen suppleres med prøveventilregulatorer, der bruges til at skylle batterier og dræne vand. Den samme klasse inkluderer også en kontraventil, der forhindrer kølemidlets bevægelse i den modsatte retning i netværk med tvungen cirkulation.
Indikatorerne, der kendetegner driften af enhver form for afspærringsventiler, omfatter:
- standardstørrelser på enheder, hvormed de matches til bestemte typer radiatorer;
- tryk opretholdt i driftstilstande
- begrænsning af bærerens temperatur;
- produktgennemstrømning.
For det korrekte valg af afspærringsventilen vil det være nødvendigt at tage alle parametre samlet i betragtning..
Sådan vælges en trevejsventil til et privat hus varmesystem
Nu ved du i hvilke tilfælde visse typer ventiler bruges. Men dette er ikke det eneste valgkriterium, fordi ventilerne har flere metoder til temperaturregulering og forskellige strømningshastigheder. Og fremstillingsmaterialet kan variere. Lad os behandle dette mere detaljeret..
Valgkriterier
Antallet og parametrene for ventiler, der kræves for et specifikt CO, vælges på stadiet af beregninger og design. De vigtigste kriterier, der påvirker valget af disse elementer, er:
- Type, skema og konfiguration af CO.
- Temperaturtilstand (nominel og maksimal).
- Systemtryk (drift og maksimum).
- Rørsektion og gevindtype.
- Kølevæsketype (vand, saltlage, frostvæske).
Driften af disse enheder stabiliserer CO, gør det effektivt og sikkert. Enhver, der beskæftiger sig med selvinstallation af et varmesystem i et hjem, skal kende formålet og deres funktionsprincip. Alle ventiler kan opdeles efter deres formål i tre kategorier: Sikkerheds-, kontrol- og reguleringsgruppe.
Alle ved, at enhver CO er en øget fare, da kølevæsken i systemet er under pres. Og jo højere temperaturen er, jo højere er trykket (i lukket CO). Overvej derefter de enheder, der er ansvarlige for sikkerheden ved CO
Adskillelses- og blandeanordninger
Visuelt ligner trevejsventilen en tee, men udfører helt andre funktioner. En sådan enhed, der er udstyret med en termostat, tilhører afspærringsventiler og er et af dens hovedelementer..
Der er to typer af disse enheder: adskillelse og blanding.
Den første bruges, når kølevæsken skal tilføres samtidigt i flere retninger. Faktisk er enheden en mixer, der danner et stabilt flow med en indstillet temperatur. De monterer det i et netværk, hvorigennem der tilføres opvarmet luft og i vandforsyningssystemer.

Trevejsventilen bruges både som mixer og som luft- eller varmtvandsfordeler
Produkter af den anden type bruges til at kombinere strømme og deres termoregulering. Der er to åbninger til indgående strømninger med forskellige temperaturer, og en til deres udgang. De bruges ved installation af gulvvarme for at forhindre overophedning af overfladen..
Trevejsventilen og temperaturregulatoren sælges separat. For autonome varmesystemer betragtes det stadig som en mere rationel og effektiv løsning at købe en struktur med en termostat.
Design af trevejsventiler
Ved design er ventilerne opdelt i sadel og roterende. Funktionsprincippet for førstnævnte er baseret på stammens rytmiske bevægelse lodret – justeringsskemaet “stilk -sadel”. Denne type refererer til blandingsventiler. Ofte styret af et elektromekanisk drev.
Nøgleelementet i drejestrukturen er den roterende sektor. Under bevægelse virker stangen på kugleventilen, og den afbryder tilførslen af kølemiddel helt eller delvist. Denne justeringsordning kaldes “kugle-fatning”.
Disse enheder er yderst holdbare. De er tilpasset store temperatursvingninger og klassificeres som afspærringsventiler. I private huse, hvor vand forbruges i relativt små mængder, kan de også fungere som vandhaner..
Et særligt træk ved blandeventilen er tilstedeværelsen af et udløb og to indløb. Det er designet til at styre arbejdsvæskens temperatur ved at kombinere høje og lave temperaturstrømme. Når produktet er korrekt installeret, kan og vil produktet adskille strømme.

Her er driften af en trevejsventil af en sadelblandings- og adskillelsestype vist skematisk
En trevejsventil af en separeringstype bruges, når det er nødvendigt at tilføre et varmt kølevæske i flere retninger..
Alle modeller af sådanne kraner adskiller sig fra hinanden på nogle måder:
- lukkermekanik – det kan enten være spændings- eller pakdåse;
- stubform – der er L, T, S -formet;
- typen lukker – der er en cylindrisk, sfærisk, konisk;
- forbindelse til kredsløbet – ved hjælp af en kobling, flange, ved svejsning osv .;
- kontrolmetode – automatisk, halvautomatisk, manuel.
Blandeindretningen er udstyret med en centralt placeret spindel; der er kun en kugleventil i den. Det lukker lukkeren for indløbet på det rigtige tidspunkt.
I anordninger af adskillelsestypen er skaftet udstyret med to ventiler monteret i udløbsdyserne.
Det fungerer efter en lidt anderledes ordning. Arbejdet med en trevejsventil bliver tydeligere efter en detaljeret analyse af dens design.

Trevejsventilen består af: hus (1), ventilindsats (2), ventilkegle (3), poleret ventilspindel (4), ventilsæde (5), aflastningskammer (6), pakning af pakninger (7)
Kroppen af denne type produkt er støbt. Den er lavet af messing eller bronze med en forkromet nikkelforzinket belægning. Det udfører både beskyttende og dekorative funktioner. Til tilslutning til rørledningen er der gevindskårne grene – kun tre stykker. Type skrueforbindelse afhænger af den valgte model.
Optimale trykparametre i varmesystemet til stabil ventildrift er 10 kg / cm². Hvis denne værdi overskrides, kan der opstå problemer..
Der er også temperaturgrænser – 95º for kedler, 110º for solpaneler. Den tilladte regulering af kølevæsketemperaturen for forskellige modeller ligger i området 20-60º. Produktiviteten spænder fra 1,6-2,5 m3 / t.
Løfterens højde
I sikkerhedsventiler med lav løft stiger stikket ikke mere end 0,05 af sædediameteren. Åbningsmekanismen i sådant udstyr er proportional.
Det er kendetegnet ved lav båndbredde og det mest primitive design. Lavt løftende udstyr bruges på fartøjer med flydende medium.

Fuld løfteudstyr er udstyret med en to-positions åbningsmekanisme. De bruges til at udstyre ikke kun beholdere med væsker, men også systemer, hvor komprimerbare medier cirkulerer (trykluft, damp, gas)
For fuldløfteanordninger er boltliften højere. Det betyder, at deres kapacitet er meget bedre end den tidligere version, så de er i stand til at aflade større mængder overskydende kølevæske..
Efter svarhastighed
Dækpladen til proportionale aflastningsventiler åbner gradvist. Som regel er åbningsmængden proportional med stigningen i trykket, der udøves på den indre overflade. Samtidig med løft af mekanismen øges mængderne af det udtømte kølemiddel jævnt.
Udformningen af enhederne begrænser ikke mulighederne for deres anvendelse i et komprimerbart medium, men ikke desto mindre hersker de i systemer med vand og anden væske..

Blandt fordelene ved sikkerhedsventiler med en proportionel reaktionshastighed er lave omkostninger, enkelhed i design, ingen selvsvingning, batchåbning på de værdier, der kræves for at opretholde specifikke driftsparametre.
Et træk ved on-off ventiler er øjeblikkelig drift med fuld åbning efter at have nået grænsetrykmærkerne i systemet, hvor sikkerhedslukkeren åbner.
Eksperter anbefaler at bruge disse enheder i komprimerbare medier. Deres største ulemper omfatter tilstedeværelsen af karakteristiske selvsvingninger af lukkeren..
Når man installerer en to-positions ventil i et varmesystem med en flydende varmebærer, skal man huske på, at under en pludselig åbning af lukkeren vil der blive udledt en stor mængde vand..
Dette får trykket til at falde for hurtigt. Ventilen lukker øjeblikkeligt og forårsager vandhammer. Proportional udstyr forårsager ikke sådanne risici..
Funktioner af trevejs nødventiler
Separat er det værd at tale om en enhed, der ikke er så kendt for forbrugerne – en trevejsventil med en manuel eller elektrisk kontakt. Det bruges i varmesystemer med lavtemperatur kredsløb.
Sikringernes design er udstyret med tre huller, hvoraf det ene er indløb og to udgange. Mediumstrømmene styres af en lukker, der er lavet i form af en kugle eller en stilk. Væske i bevægelse omfordeles ved rotationer.

Trevejssikringer er velegnede til kondensering af kedler og i tilfælde, hvor flere forskellige systemer fungerer fra et varmeudstyr
Forestil dig en situation: et varmesystem med et system med konventionelle radiatorer og gulvvarme er implementeret i et hus. De tekniske krav til funktionen af den anden mulighed giver ikke for høje kølevæsketemperaturer.
Kedlen opvarmer vand ved samme temperatur for alle systemer. Under sådanne forhold er der behov for en omfordelingsindretning, hvis opgaver trevejsventilen udfører et fremragende stykke arbejde..
Han er ansvarlig for følgende funktioner:
- afgrænsning af områder;
- distribution af fluxdensitet efter zoner;
- lette blanding af kølevæske fra forsyning / returretnings hovedgrener for at sende koldere vand til gulvvarmerørledningen end til radiatorerne.
For ikke konstant at kontrollere medietemperaturen alene, skal du være opmærksom på ventilmodeller udstyret med et servodrev.
Denne enhed drives af en sensor installeret i lavtemperaturkredsløbet. Når temperaturmærkerne ændres, udløses en afspærringsmekanisme, der åbner eller lukker væsketilførslen fra returen.
Tips til valg af den bedste model
Inden man går i gang med et specifikt sikkerhedsudstyr, er det bydende nødvendigt at gøre sig detaljeret bekendt med kedelfabrikkens tekniske egenskaber..

Sikkerhedsventilens funktion afspejles negativt i temperaturer under nul. Derfor er en tilstrækkelig vigtig egenskab for enheden tilstedeværelsen af frostbeskyttelse
Undlad at læse producentens anvisninger, der angiver alle grænseværdier..
Flere kriterier spiller en afgørende rolle for valg af opvarmningsanordning:
- Kedelydelse.
- Maksimalt tilladt tryk af mediet for varmeudgang fra varmeudstyret.
- Sikkerhedsventildiameter.
Det bør kontrolleres, at trykregulatoren i enheden har et område, inden for hvilket parametrene for en bestemt kedel er inkluderet. Responstrykket skal være 25-30% højere end den driftsindikator, der kræves for stabil systemdrift.

Jo højere driftstryk, desto kortere tid skal enheden tage at køre. Afstanden mellem trykket ved bevægelsens start og når lukkeren åbnes helt, bør være 15% for en nominel værdi mindre end 2,5 atm, 10% for højere parametre
Sikkerhedsventilens diameter må ikke være mindre end indløbstilslutningen. Ellers tillader konstant hydraulisk modstand ikke sikringen at udføre sine umiddelbare opgaver fuldt ud..
Det optimale materiale til fremstilling af udstyr er messing. Det har en lav termisk ekspansionskoefficient, som udelukker ødelæggelse af kroppen fra virkningerne af stærkt tryk.
Kontrolenheden er fremstillet af varmebestandige plastmaterialer, der bevarer den nødvendige stivhed, selv i kontakt med en kogende væske.
Temperaturreguleringsmetode

Lad os starte med manuelle justeringer. Her er stammen forbundet til en ventil eller håndtag, under dem er der mærker, ved hjælp af hvilken temperaturen reguleres. Dette er den enkleste og billigste måde, så nogle mennesker anser det for mere pålideligt. Men jeg tror, at alt afhænger af virksomheden: hvis ventilen er af høj kvalitet, vil den ikke fungere mindre med automatisk justering end med manuel.
| Fordele | ulemper |
| Lav pris i forhold til andre ventiler | Du skal uafhængigt reagere på alle ændringer i miljøforholdene |
| Virker uden tilslutning af elektricitet | Varmekredsen opvarmes ikke jævnt |

Termostatisk.
Hvis en termostat er indbygget i strukturen, kaldes en sådan ventil for en termostatventil. Det konfigureres normalt kun én gang. Derefter vælger han selv stilkens position, baseret på temperatursvingninger. En varmefølsom væske eller gas er ansvarlig for dette: Når temperaturen stiger, udvider de sig og begynder at flytte stammen. Disse ventiler er elektroniske og mekaniske. En trevejsventil med termostat er meget mere praktisk end en manuel, da de fungerer automatisk, men det koster også mere.
| Fordele | ulemper |
| Automatisk temperaturkontrol | Høj pris i forhold til manuelle ventiler |
| Ensartet opvarmning af varmekredsen | |
| Mekaniske modeller kører uden elektricitet | |

Servodrevet.
De mest præcise er trevejsventiler med et elektrisk drev. De har en indbygget termostat, men de styres af en elektronisk enhed, der fungerer på et servodrev. Når temperaturen ændres, sender termostaten et signal til controlleren. Og han styrer allerede drevet, hæver eller sænker stammen.
| Fordele | ulemper |
| Kræver ikke menneskelig deltagelse i temperaturkontrol | Høj pris |
| Højeste præcision af alle trevejsventiler | Afhængighed af elektricitet |
| Højeste kvalitet og ensartet opvarmningsopvarmning | Højere energiforbrug sammenlignet med elektroniske termostatventiler |
Jeg synes, det er bedre at vælge den midterste mulighed. Manuel justering er ubelejlig, og den motoriserede ventil er dyr. Og sådan nøjagtighed kræves sjældent i hjemmet..
Temperaturområde og arbejdstryk
Ved valg af en trevejsventil skal temperaturjusteringsområdet også tages i betragtning. For eksempel er en termoblander til gulvvarme normalt indstillet til 30-40 ° C. Selvom denne rækkevidde er den mest behagelige til opnåelse af varmt vand. Det maksimale tryk, som ventilen kan modstå, er også forskelligt. Nogle modeller kan tåle op til 16 bar. Selvom der normalt ikke kræves mere end 6 bar under husholdningsforhold. Generelt reguleres arbejdstrykværdierne for disse enheder af GOST 26349-84.
Ansøgninger
Trevejsventilen, hvis driftsprincip blev diskuteret ovenfor, har en temmelig bred vifte af applikationer. Så dens sorter, såsom en elektromagnetisk enhed eller en enhed med et termisk hoved, findes ofte på moderne motorveje, hvor det er nødvendigt at justere proportionerne ved blanding af to adskilte væskestrømme, men uden at reducere effekten eller volumen..
Med hensyn til husholdningsbrug betragtes den mest populære her som en termostatisk blandeindretning, som du som nævnt ovenfor kan regulere arbejdsvæskens temperatur. Denne væske kan leveres både til gulvvarmerørledningen og til radiatorer. Og hvis ventilen også har automatisk styring, vil det være muligt at styre temperaturen i boligen uden problemer.!
Bemærk! Anvendelsen af en trevejsventil i et varmesystem for at afbalancere temperaturfald er yderst fordelagtig ikke kun hvad angår komfort og bekvemmelighed, men også med hensyn til omkostningsbesparelser.
Faktum er, at ved at regulere væskens temperatur på varmeapparatets “retur”, er det muligt at reducere mængden af brændstofforbrug betydeligt, og dette vil have en positiv effekt på selve systemets effektivitet. I nogle systemer er en ventil simpelthen påkrævet. For eksempel forhindrer denne enhed i et “varmt gulv” -system gulvbelægningen i at blive overophedet over et forudbestemt komfortniveau og derved lindre brugerne for ubehagelige fornemmelser..

Denne type styreenheder bruges også i vandforsyningssystemer for at opnå en permanent strømning ved den krævede temperatur. Det enkleste eksempel er en almindelig mixer, hvor du kan gøre vand varmere / køligere ved at åbne / lukke en kold hane..

Kedel sikkerhedsventil
Tidligere beskrev vi, hvordan man vælger og tilslutter en sikkerhedsventil til en kedel, talte om dens anvendelsesområder og interne struktur. Ud over denne artikel anbefaler vi, at du læser: alle detaljer er her
Andet
Glem naturligvis ikke, at trevejsventiler har forskellige diametre på forbindelsesrørene. De mest almindelige hjemmestørrelser er 1 og ¾ tommer. Tråden kan være intern eller ekstern.
Antallet af liter, der passerer gennem ventilen i timen, afhænger af gennemløbsindikatorerne. Det bør vælges, så ventilen har en koefficient, der er lidt højere end det beregnede resultat. For eksempel, hvis der strømmer 2 m³ i timen gennem systemet, skal der vælges en ventil med en kapacitet på 2,5 m³ i timen..
Men kapaciteten varierer afhængigt af, om ventilen er helt åben eller lidt åben. Forholdet mellem disse indikatorer kaldes det dynamiske område for regulering. Jo højere forholdet er, jo bedre opretholdes gennemstrømningen. Det bedste forhold anses for at være 100: 1, men det er ret sjældent. De mest almindelige indikatorer er 50: 1 eller 30: 1, ventiler med sådanne indikatorer kan trygt tages.
Hvor installeres en 3-vejs ventil, og når det ikke er nødvendigt
Inden du vælger en trevejsventil, er det tilrådeligt at sikre, at det virkelig er nødvendigt. På internettet og i virkeligheden er der faktisk nok rådgivere, der dårligt forstår essensen af spørgsmålet. Så lad os liste de situationer, hvor denne ventil virkelig er nødvendig:
- For at beskytte kedlen til fast brændsel mod tilførsel af koldt kølevæske og kondens på ovnens indvendige vægge.
- For at regulere temperaturen på vandet i varmekredsløbene.
- For at begrænse opvarmningen af kølevæsken i gulvvarmekredsløbene.
Der er blevet talt meget om kondensat, hvilket fremkalder dannelsen af klæbrige opbygninger på væggene i TT-kedelkammeret, herunder på vores ressource. Det vises under opvarmningsprocessen, når temperaturen i ovnen allerede er høj, og der kommer koldt vand fra varmesystemet. For at undgå dette er forsynings- og returledninger forbundet med en bypass, hvor en 3-vejsventil er installeret. Det tvinger kølevæsken fra kedeltanken til at strømme i en lille cirkel, og først ved opvarmning til 50-60 ° C begynder det at blande vand fra systemet.

Et kredsløb med en bypass og en mixer beskytter TT -kedlen mod kondens og temperaturchok
Vigtig note. Ventilen fungerer som et sikkerhedselement til varmeveksleren i støbejern, hvis en er installeret i din varmegenerator. Forestil dig, at strømmen i huset er slukket i 1-2 timer, hvor radiatornetværket når at køle ned. Uden en mixer vil koldt vand pludselig strømme ind i en forvarmet kedel, når strømforsyningen genoptages. Fra et sådant fald vil støbejern opleve et temperaturchok og kan revne..

System med flere varmekredse, der fungerer i forskellige tilstande
Temperaturregulering i varmekredse med et blandesæt er nødvendig i følgende tilfælde:
- i komplekse varmesystemer, når flere linjer med forskellige temperaturforhold skal forbindes til en fælles kam, for eksempel et radiatornetværk, gulvvarme og en indirekte varmekedel;
- ved tilslutning af de samme forbrugere til en buffertank – en varmeakkumulator;
- ved levering af opvarmet vand til varmeveksleren på en ventilationsluftforsyningsenhed, der bruges til luftopvarmning af et sommerhus.

Ventilen i varmekredsen regulerer ikke kun fremløbstemperaturen, men tillader også kedlen at opvarme varmeakkumulatoren
Da en varmebærer med en temperatur på højst 50 ° C sendes til varmekredsløbene til gulvvarme, og 85 ° C kan komme fra kedlen, bør den begrænses. Normalt (men ikke altid!) Problemet løses ved at installere en blandeenhed med en 3-vejs ventil på fordelingsmanifolden. Sidstnævnte blander det afkølede vand fra gulvkredsløbene med den “eksterne” varmebærer, der kommer fra kedlen.

Ordningen med forberedelse af vand med den nødvendige temperatur til fodring i gulvvarme -sløjfer
Lad os nu udpege de situationer, hvor køb og installation af en mixer (eller separator) ikke er nødvendig:
- Hvis længden af hver sløjfe af gulvvarmevandet ikke overstiger 50-60 m, hvilket er meget muligt at opnå, sker reguleringen uden en blandeenhed. I stedet placeres hoveder af RTL-type på returmanifolden, hvilket begrænser strømmen med mængden af kølevæske.
- Når 2-3 varmeenheder skiftevis fungerer for at opvarme et privat hus, der opretholder en konstant temperatur i netværket, der ikke er lavere end 40 ° C, er det ikke nødvendigt at sætte en trevejsventil til en fastbrændselskedel.
- I varmesystemer med naturlig vandcirkulation. Årsagen er trykfaldet over ventilen, hvilket hæmmer kølevæskens bevægelse. Det samme gælder for varmeakkumulatorer, der bruges af tyngdekraften..
Bemærk. I tyngdekraftsystemer anvendes rør med øget diameter DN40— DN50. Det betyder, at de bliver nødt til at købe ikke en almindelig røremixer, men en omfangsrig flange-ventil til en anstændig pris. En sådan beslutning kan ikke kaldes rimelig.
Hvis du er interesseret i, hvorfor det er bedre at vælge RTL -hoveder, og hvordan de styrer gulvvarmekredsløb, kan du se en video fra en erfaren håndværker og vores ekspert Vladimir Sukhorukov:
Installations- og opsætningsregler
Efter at have planlagt selvinstallation af en sikkerhedsventil til opvarmning, bør du forberede et sæt værktøjer på forhånd. På arbejdet kan du ikke undvære justerbare nøgler og skruenøgler, en stjerneskruetrækker, tang, målebånd, silikontætningsmasse.
Inden arbejdet påbegyndes, skal du finde et egnet sted til installation. Sikkerhedsventilen anbefales at monteres på forsyningsrøret nær kedlens udløb. Den optimale afstand mellem elementer er 200-300 mm.

Alle kompakte husholdningssikringer er gevind. For at opnå fuldstændig tæthed ved indskruing er det nødvendigt at tætne røret med slæb eller silikone. Det er uønsket at bruge FUM -tape, da det ikke altid tåler kritisk høje temperaturer.
I den lovgivningsmæssige dokumentation, der følger med hver enhed, planlægges installationsprocessen normalt trin for trin..
Nogle centrale installationsregler er de samme for alle ventiltyper:
- hvis sikringen ikke er monteret som en del af en sikkerhedsgruppe, placeres en manometer ved siden af den;
- i fjederventiler skal fjederaksen have en strengt lodret position og være placeret under enhedens krop;
- i gear-lastudstyr er håndtaget placeret vandret;
- på sektionen af rørledningen mellem varmeudstyret og sikringen er det ikke tilladt at installere kontraventiler, haner, portventiler, en cirkulationspumpe;
- for at forhindre skader på kroppen, når ventilen roterer, er det nødvendigt at vælge med en skruenøgle fra siden, hvor der udskrives;
- et afløbsrør, der fører kølevæsken ind i kloaknettet eller returrøret, er forbundet til ventiludløbsrøret;
- udløbsrøret er ikke forbundet direkte til kloakken, men med inddragelse af en tragt eller en pit;
- i systemer, hvor væskecirkulationen er naturlig, er sikkerhedsventilen indstillet på det højeste punkt.
Enhedens nominelle diameter vælges på grundlag af metoder udviklet og godkendt af Gostekhnadzor. Ved løsning af dette problem er det klogere at søge hjælp fra fagfolk..
Hvis dette ikke er muligt, kan du prøve at bruge specialiserede online programmer til beregning.

For at reducere hydrauliske tab under trykket af mediet på ventilskiven udføres installationen af nødudstyr med en hældning mod kedelanlægget
Ventilindstillingen påvirkes af typen af spændestruktur. Fjederindretningerne har en hætte. Fjederens forkomprimering justeres ved at dreje den. Justeringsnøjagtigheden for disse produkter er høj: +/- 0,2 atm.
I håndtagsenheder foretages justeringer ved at øge massen eller flytte belastningen..
Efter 7-8 operationer i det installerede nødudstyr slides fjederen og pladen ud, hvorved tætheden kan blive brudt. I dette tilfælde er det tilrådeligt at udskifte ventilen med en ny..
Monteringsregler for fittings
Normalt angiver fabrikanten på kroppen af en trevejsventil vandstrømmens bevægelse med pile. Ved disse referencepunkter kan du også bestemme ventiltypen. Forbindelse til systemet fortsætter som angivet med pilene. Installationsstedet skal være bekvemt til efterfølgende justeringer eller udskiftning i tilfælde af fejl. Til dette er både retur og levering egnet. Men læs instruktionerne omhyggeligt, da ikke alle ventiler kan installeres til forsyning.
Da de fleste ventiler er lavet af keramik indvendigt, tåler de ikke godt snavset vand. Derfor er det bedre at installere et filter foran ventilen. Hvis dette ikke gøres, kan apparatet blive tilstoppet. I nogle tilfælde er det nok at rengøre det, men nogle gange hjælper selv dette ikke. Spar derfor ikke på filtre..
Det elektriske drev bør ikke være placeret i bunden, og mekaniske termostatiske blandere rådes heller ikke til at installere på denne måde, udelukkende lodret. Men jeg vil sige af egen erfaring, at dette i nogle tilfælde er muligt. Og anmeldelser fra nogle ejere bekræfter dette..
Layout af trevejsventilen i varmesystemet

Den enkleste ordning i et system med en fast brændselskedel. Formål: beskyttelse mod kondens og overophedning, opretholdelse af temperaturen i varmekredsen.
Varmeordning med el -kedel og gulvvarme. Hydrosamlere bruges til at adskille varme gulve i flere kredsløb..
Anvendes i rørledninger ved hjælp af en indirekte varmekedel, som giver dig mulighed for at organisere varmtvandsforsyning med en enkeltkreds-kedel.
Generelle installationsretningslinjer
Det vigtigste er i første omgang at sætte ventilen i den korrekte position, styret af instruktionerne angivet med pilene på kroppen. Pegere angiver vandstrømningens vej.
A står for direkte kørsel, B står for vinkelret eller bypass retning, AB står for kombineret input eller output.
Baseret på retningen er der to ventilmodeller:
- symmetrisk eller T-formet;
- asymmetrisk eller L-formet.
Når den er monteret langs den første af dem, kommer væsken ind i ventilen gennem endehullerne. Kommer ud gennem midten efter blanding.
I den anden variant kommer en varm strøm ind fra enden, og en kold strøm kommer nedefra. Udløbet efter blanding af væsken ved forskellige temperaturer sker gennem den anden ende.

Ventilinstallationsdiagrammet vist på billedet bruges i varmesystemer, der drives af et trykmanifold
Det andet vigtige punkt ved installation af blandeventilen er, at den ikke må placeres med aktuatoren eller det termostatiske hoved nedad. Inden arbejdet påbegyndes, er forberedelse nødvendig: vand afskæres foran installationsstedet. Kontroller derefter rørledningen for tilstedeværelse af rester i den, der kan få ventilpakningen til at mislykkes.
Det vigtigste er at vælge et sted til installation, så ventilen har adgang. Det skal muligvis kontrolleres eller demonteres i fremtiden. Alt dette kræver ledig plads..
Blandingsventilindsats
Når der indsættes en trevejs blandeventil i et fjernvarmeanlæg, er der flere muligheder. Valget af ordningen afhænger af arten af tilslutningen af varmesystemet.
Når et sådant fænomen som overophedning af kølemidlet i returen ifølge kedlens driftsbetingelser er tilladt, opstår nødvendigvis et overtryk. I dette tilfælde er der monteret en jumper, der kvæler det overskydende hoved. Det installeres parallelt med ventilblandingen..

Dette kredsløb bruges, når varmesystemet er tilsluttet en tyngdekraftsamler. Det er vigtigt at vælge den korrekte installationsmulighed baseret på egenskaberne ved din rørledning.
Diagrammet på billedet er en garanti for højkvalitetsregulering af systemparametrene. Hvis trevejsventilen tilsluttes direkte til kedlen, hvilket oftest er tilfældet i autonome varmeanlæg, kræves en indreguleringsventilindsats..
Hvis anbefalingen om installation af en afbalanceringsenhed ignoreres, kan der forekomme betydelige ændringer i arbejdsfluidens strømningshastighed afhængigt af stilkens position i AB -porten..
Tilslutning i henhold til ovenstående diagram garanterer ikke, at kølevæsken ikke cirkulerer gennem kilden. For at opnå dette er det nødvendigt yderligere at tilslutte en hydraulisk isolator og en cirkulationspumpe til dens kredsløb..
Blandingsventilen er også installeret for at adskille strømningerne. Behovet for dette opstår, når det er uacceptabelt at isolere kildekredsløbet fuldstændigt, men det er muligt at omgå væsken i returen. Oftest bruges denne mulighed i nærvær af et autonomt fyrrum..

Balanceringsventilen er installeret i sektionen af rørledningen til trevejsventilen forbundet til porten markeret med symbolet B. Dens hydrauliske modstand skal være identisk med kedlens.
Vær opmærksom på, at der kan forekomme vibrationer og støj på nogle modeller. Dette skyldes inkonsekvente strømningsretninger i rørledningen og blandingsartiklen. På grund af dette kan trykket over ventilen falde under det tilladte.
Båndbreddeberegning
Det vil ikke fungere ganske enkelt at vælge en trevejsventil i henhold til diameteren på varmeenhedens grenrør eller forsyningsrørledningen. Faktum er, at i processen med automatisk regulering skaber elementet en variabel hydraulisk modstand, som skal overvindes af cirkulationspumpen for at sikre den nødvendige strømningshastighed for kølevæsken. Ved beregning vælges ventilen på en sådan måde, at den passerer den nødvendige mængde vand på forskellige positioner af stilken.

Hovedkonstruktionskarakteristikken for enhver 3-vejsventil er den nominelle kapacitet, angivet med bogstavet Kvs og udtrykt i m³ / h. Denne værdi, angivet i produktpasset, afspejler mængden af koldt kølevæske, der passerer gennem en helt åben ventil på 1 time. I dette tilfælde er trykfaldet i sektionen før regulatoren og efter det 1 bar.
Eksempel. Hvis bare en sådan mængde vand ledes gennem en trevejsventil med Kvs = 1,6 m³ / h i en time, vil trykfaldet (hydraulisk modstand) være 1 bar eller 10 m vandsøjle. Dette er for meget for varmesystemet i et privat hus, derfor tages der i beregningerne et reelt trykfald-0,15-0,2 Bar (1,5-2 mWC).
For at vælge en reguleringsventil til gennemstrømning skal du først bestemme strømningshastigheden for kølevæsken, der strømmer gennem den regulerede ledning. Følgende formel bruges:
Her:
- G er den nødvendige vandgennemstrømningshastighed, m³ / t;
- Q er varmebelastningen på varmegrenen, kW;
- Det er temperaturforskellen mellem tilførsels- og returvand, normalt taget 20 ° С og i varme gulve – 10 ° С.
Eksempel. Huset med et areal på 100 m² er planlagt opvarmet med gulvkredsløb, hvilket skal give en varmeoverførsel på 10 kW. Derefter skal fordelingsmanifolden forsynes med G = 0,86 x 10/10 = 0,86 m³ / t kølevæske.
Det næste trin er at beregne den reelle koefficient K for blandingsventilens gennemstrømning under hensyntagen til trykfaldet over det 0,2 Bar ved formlen:
For det samme eksempel vil værdien af K være lig med 0,86 / √0,2 = 0,86 / 0,45 = 1,9 m³ / t. Åbn derefter kataloget over den valgte ventilproducent og vælg fra linjen en trevejsventil, hvis Kvs er lig med eller større end den opnåede værdi. Tag det kendte Danfoss-mærke, og vælg fra VRB3-produktserien en ventil med DN15 dyser og Kvs = 2,5 m³ / t. Den tidligere betegnelse i serien er 1,6 m³ / t, hvilket klart ikke er nok i vores tilfælde..
Til reference. Som regel anvendes kedler til fastbrændsel og gulvvarme, der er arrangeret i private huse, trevejsventiler med en nominel diameter på DN15-DN25, ikke mere. Men deres båndbredde skal beregnes. Derudover er det efter valg af elementet tilrådeligt at kontrollere hastigheden af det flydende kølevæske, som beskrevet i den næste video:
Nuancerne ved at vælge en enhed
Følgende retningslinjer er almindelige, når du vælger en passende 3-vejsventil:
- Anerkendte producenter foretrækkes. Ofte på markedet er der ventiler af lav kvalitet fra ukendte virksomheder..
- Kobber- eller messingprodukter er mere slidstærke..
- Manuel kontrol er mere pålidelig, men mindre funktionel.
Nøglepunktet er de tekniske parametre i systemet, hvor det skal installeres. Følgende egenskaber tages i betragtning: trykniveauet, kølevæskens højeste temperatur ved installationen af enheden, det tilladte trykfald, vandmængden, der passerer gennem ventilen.
Kun en ventil i korrekt størrelse vil fungere godt. For at gøre dette skal du sammenligne ydelsen af dit VVS -system med enhedens gennemgangskoefficient. Det er obligatorisk mærket på hver model..
For værelser med begrænset areal, f.eks. Et badeværelse, er det irrationelt at vælge en dyr ventil med en termoblander.
På store områder med gulvvarme kræves en enhed med automatisk temperaturkontrol. Retningslinjen for valg bør også være produktets overensstemmelse med GOST 12894-2005.
Omkostningerne kan være meget forskellige, alt afhænger af producenten.
I landhuse med en installeret fastbrændselskedel er opvarmningsordningen ikke særlig kompliceret. En trevejsventil med et forenklet design er fint her..
Det fungerer autonomt og har ikke et termisk hoved, sensor eller endda en stang. Det termostatiske element, der styrer dets drift, er indstillet til en bestemt temperatur og er placeret i huset.
Udvælgelsestip
En uvidende husejer, der beslutter sig for at kigge kataloget over et velkendt firma på jagt efter en trevejsventil, kan blive forvirret af antallet og sortimentet af tilbudte produkter. For at hjælpe dig med at vælge den rigtige ventil fra en lang række produkter, vil vi give dig et par anbefalinger, der starter med en liste over mærker, hvis kataloger overhovedet er værd at åbne. Her er en liste over kendte mærker, hvis produkter er troværdige:
- Danfoss (Danmark);
- Herz Armaturen (Østrig);
- Honeywell (USA);
- Icma (Italien);
- Esbe (Sverige);
- Caleffi (Italien).

3-vejs termisk ventil blev ikke opfundet i går. På billedet – et produkt fra ESBE -virksomheden, prøve 1935
Til reference. De børsnoterede selskaber sælger et stort udvalg af armaturer til varmesystemer, herunder tovejs-, sikkerheds- og firevejsventiler, elektromagnetiske spjæld og termostater. Fra producenterne i de post-sovjetiske lande kan vi anbefale produkterne fra mærket Valtec (Valtek).
Nu er den vigtigste blok af anbefalinger:
- For at beskytte en fast brændselskedel mod kondens kan du vælge 2 typer trevejsventiler – med en fast indstilling og et termisk hoved med en fjernbetjent sensor. Den anden mulighed vil koste 20-30% mere og er ikke altid berettiget, da en ændring i returtemperaturen er unødvendig her. Køb en regulator med en intern termostat indstillet til 50 eller 55 ° C.
- For at styre opvarmningen af individuelle grene og kredsløb til gulvvarme er det absolut nødvendigt med en 3-vejsventil med en fjernbetjent sensor og et termostatisk hoved. Sensorkolben er installeret på solfangeren eller rørledningen, hvis temperatur skal overvåges..
- Boldregulatorer (de er også roterende) fungerer sammen med et elektrisk drev eller indstilles manuelt. Hvis du ikke ønsker at komplicere kredsløbet og er afhængig af elektricitet, skal du vælge det produkt, der er egnet til egenskaberne ved sædeventilerne, der fungerer fra termiske hoveder..
- Det mest “populære” kropsmateriale er messing eller bronze. Rustfrie elementer er dyrere, og støbejern er bange for temperaturchok og har en anstændig masse.
- I ordningerne bruges både blandings- og trevejsventiler med lige stor succes. Men hvis du ikke er ekspert inden for opvarmning og samler systemet med egne hænder, så er det bedre at tage en ventilblander. Det er lettere at håndtere det og sætte det korrekt, hvilket eksperten vil fortælle detaljeret om i sin video:
To sidste anbefalinger
Da vi har præsenteret en forenklet metode til beregning og valg af en 3-vejs ventil efter kapacitet, anbefaler vi på det kraftigste at rådføre sig med kyndige mennesker om dette. Hvis dette ikke er muligt, skal du købe en ventil med en margin, uanset prisen. Der er en anden mulighed: aftale med sælgeren om en mulig udskiftning af produktet, hvis det ikke passer.
Hvis du har brug for at installere vandvarme i et stort sommerhus opvarmet af et radiatornet og gulvvarme, og det er planlagt at levere varmt vand fra en indirekte varmekedel, så vil du ikke kunne undvære hjælp fra erfarne specialister. Du bliver nødt til at lave fra 4 til 10 justerbare grene, for hver af dem skal du beregne og vælge en trevejsventil og derefter afbalancere deres arbejde i komplekset.
Gulvvarmeordning med trevejsventil
Når der er en forståelse af, hvad en trevejsventil er, og hvad dens arbejde består af, kan du overveje forskellige tilslutningsordninger afhængigt af elementets formål og rolle i opvarmning af huset..
Installation af en termoblandeventil udføres i følgende tilfælde: - For at beskytte kedlen med fast brændsel mod kondens og temperaturchok efter pludselige strømafbrydelser.
- Kølevæsken i gulvvarmekredsløbene må ikke opvarmes til mere end 45 ° C, som leveres af en blandeenhed med en trevejsventil.
- For at opretholde den nødvendige kølevæsketemperatur i forskellige dele af systemet.
- For at beskytte fastbrændselsvarmeenheden mod kondensdannelse er det umuligt at tillade kølet vand fra radiatornetværket til kedeltanken under opvarmningen..
Til dette bruges følgende kedeltilslutningsdiagram med en bypass og en trevejs blandeventil:

Kredsløbet fungerer sådan. Indtil varmegeneratoren er blevet varm, cirkulerer vandet i en lille cirkel gennem bypass. Når kølevæsken i returledningen varmer op til 50-55 ° C, begynder ventilen at åbne og blander det kolde kølevæske fra systemet. Når varmelegemet går i driftstilstand, lukkes bypass, og hele strømmen går gennem radiatorerne.
I gulvvarmesystemet udfører dette element de samme funktioner. Cirkulationspumpen driver kølevæsken langs varmekredsløbene, indtil den begynder at køle af. Så snart dette sker, fungerer sensoren og det termiske hoved, hvorefter trevejsventilen tilføjer varmt vand fra kedlen til det lukkede kredsløb.
Sådan installeres gulvvarme -manifold, pumpe og ventil korrekt med egne hænder er vist i diagrammet:

Det næste eksempel på brug og tilslutning af denne vigtige del er rørføringen af en varmegenerator til fast brændsel og en buffertank, som er en varmeakkumulator..
For at varme det op hurtigt hurtigt nok skal temperaturen på det medfølgende kølevæske være fra 70 til 85 ° C, hvilket slet ikke er nødvendigt i radiatorvarmesystemet. Trevejsventilen installeret bag tanken sammen med en separat cirkulationspumpe hjælper med at sænke den..

Vigtig. Når du installerer blandeventilen, skal du huske, at pumpen skal være placeret på den side, hvor den altid åbne forbindelse af trevejsventilen er placeret..
Det komplekse varmesystem i et stort sommerhus kan få mange forbrugere forbundet ved hjælp af en hydraulisk pil og et fordelingsmanifold.
Desuden er det i hvert af kredsløbene nødvendigt at levere et kølevæske med en anden temperatur. Det højeste er nødvendigt for en indirekte varmekedel, derfor er der ingen reguleringsventiler på forsyningen til den. Resten af forbrugerne har brug for et koldere kølevæske, og derfor er de forbundet via trevejsventiler.

Afhængig af strømningsretningen fås den termostatiske ventil i to modeller: - T-formet eller afbalanceret kredsløb. Med denne forbindelse kommer varmt og koldt vand ind gennem sidehullerne, og efter blanding strømmer væsken ud gennem den centrale passage.
- L-formet eller asymmetrisk kredsløb. I dette tilfælde kommer varmt vand fra den ene side, og koldt vand kommer nedefra. Efterfølgende forlader det blandede flow fra det andet sideslag.

Trevejs blandingsventiltilslutningsdiagram.
Der er installeret en blandeventil udstyret med en termostat, hvis det er nødvendigt for at sikre en stabil temperatur af kølevæsken.
I betragtning af blandeenheden kan følgende komponenter skelnes i den: - Kontraventil;
- temperatur måler;
- cirkulationspumpe;
- blanding af trevejsventil.

Blandeenhedsdiagram til gulvvarme
Tilslutningsdiagrammet indeholder en cirkulationspumpe monteret på forsyningen. Derefter installeres en temperatursensor, som er nødvendig for at bestemme opvarmningsgraden for det indgående vand..
Dette efterfølges af en termostatventil. Der er monteret en kontraventil med et udløb på “returen”, som er forbundet til røret med cirkulerende afkølet væske, rettet mod blandeventilen.
Med et lignende tilslutningsskema bevæger kølemidlet sig langs følgende rute: - Pumpning af varmt vand ved hjælp af en cirkulationspumpe i gulvvarmesystemet. Kølevæsketemperaturen kan nå 80 ° С.
- Blandes med koldt vand ved at passere gennem en trevejsventil. Som et resultat nås den ønskede temperatur.
- Fordeling af kølevæsken gennem rørene på det varme gulv.
- Retur af afkølet vand til “returledning”, hvorfra det tages ind i en trevejsventil til efterfølgende blanding med varm væske.
Med en sådan forbindelse styrer temperatursensoren graden af opvarmning af vandet, der kommer ind i vandkredsløbet. Der er også andre måder at kontrollere det på. Den mest ineffektive er den manuelle metode, når det er nødvendigt at ændre strømmen ved at dreje håndtaget.
Der er en variant af kontrol ved hjælp af en servo, hvis kommandoer modtages fra controlleren i overensstemmelse med de signaler, der modtages fra sensorerne.

Sammensætning baseret på trevejsblanding og termostatventiler til gulvvarme.
Den termostatiske ventil spiller en vigtig rolle i installationen af en vandgulvvarme. Ved at forhindre overophedning af kølevæsken i rørene sparer det brændstof. Derudover er sikkerheden sikret under driften af et ret komplekst varmesystem, og perioden med problemfri service forlænges..
Installationsdiagram over en trevejs separationsventil
Giver kvantitativ kontrol hos forbrugeren – ved at ændre kølevæskens strømningshastighed. Det bruges, hvis det i henhold til varmekildens driftsbetingelser er tilladt at omgå kølevæsken til returledningen, og ophør af cirkulation i kildekredsløbet ikke er tilladt..
Denne trevejsventilinstallationsordning har været meget udbredt i vand- og luftvarmeenheder, der er forbundet fra et autonomt fyrrum. For at forbinde de hydrauliske kredsløb skal hovedtabet ved balanceringsventilen i bypasslinjen være lig med hovedtabet hos forbrugeren.
Dette trevejs ventilinstallationsdiagram er beregnet til tilslutning til en rørledning med overtryk. Kølemidlets cirkulation i forbrugerkredsløbet er tilvejebragt på grund af det overtryk, som cirkulationspumpen skaber i varmekildens kredsløb.

Installationsdiagram over en trevejs separationsventil
Installationsdiagrammer over en blandings trevejsventil til adskillelse
Giver kvantitativ kontrol hos forbrugeren ved hjælp af en 3-vejs blandeventil. Det bruges, hvis det i henhold til driftsbetingelserne ikke er tilladt at afslutte strømmen i kildekredsløbet, og kølevæskens bypass fra forsyningsrørledningen til returen er acceptabel.
Lignende ordninger til tilslutning af trevejsventiler bruges i vid udstrækning i rørføring af luftvarmere og luftkølere samt vandvarmeanlæg installeret i autonome fyrrum..
Det anbefales at installere en balanceringsventil med hydraulisk modstand svarende til forbrugerens på blandingsrøret i trevejsventilen. Cirkulation gennem forbrugeren og bypass udføres på grund af overtrykket i kildekredsløbet.
Med det korrekte valg af ventilen og hydraulisk forbindelse af bypass med forbrugskredsløbet er strømmen gennem varmekilden konstant og i forbrugerkredsløbet – variabel.

Tilslutningsdiagram for en blandende trevejsventil til flowadskillelse til et trykmanifold
Da vandstrømmen bevæger sig i den modsatte retning af strømningsretningen i blandeventilen, kan støj og vibrationer øges på nogle ventiler samt et fald i det tilladte trykfald over ventilen..
Installationsdiagram over en trevejs blandeventil til adskillelse til en hydraulisk kontakt Ved tilslutning af en enhed med en trevejs adskillelsesventil til en varmekilde direkte eller i en ikke-trykmanifold manifold, skal der installeres en cirkulationspumpe i forsyning eller retur rør. Pumpen kan deles af flere kredsløb.

Tilslutningsdiagrammet for en trevejsventil, der deler strømmen, med en ekstra bypass i forbrugerkredsløbet, parallelt med blandeledningen, bruges, forudsat at kildens temperaturregime overstiger forbrugerens temperaturregime.
Det særlige ved denne ordning er, at omkostningerne i kilden og forbrugerens kredsløb vil være konstante, og det overophedede kølevæske kommer ikke til forbrugeren. Forbrugeren får kvalitetsregulering. For at denne ordning fungerer, er det nødvendigt at installere en pumpe i forbrugerkredsløbet og i kildekredsløbet..

Trevejs blandeventil med termisk hoved
Den termostatiske ventil garanterer systemets praktiske og effektivitet. Trevejsventiler til opvarmning er designet til at regulere varmestrømmen, hvilket sikrer indendørs komfort og økonomisk brug.

Inden man fortsætter med designet af varmesystemet, udføres en termisk beregning. Baseret på dets resultater vælges en passende effekt og type varmeenheder, der kan opretholde et optimalt temperaturregime i rummet..
Rummets areal tages i betragtning, hvorefter eventuelt varmetab analyseres. På baggrund af dette beregnes varmesystemets kapacitet, hvilket er nødvendigt for at skabe et behageligt mikroklima i værelserne. Herefter udarbejdes en varmebalance for alle rum..
Disse beregninger foretages dog under særlige forhold, der kan ændre sig under drift..
Faktorerne, der påvirker radiatorens funktion, er forskellige: - temperaturen falder udenfor;
- sol Aktivitet;
- vindstyrke;
- tilstedeværelsen af husholdningsapparater, der genererer varme.
Som følge heraf forstyrres den beregnede temperaturbalance, og det bliver varmt i rummet. Det er imidlertid umuligt at fjerne dele af radiatoren fra rummet eller overdøve varmestrålingen. Det bliver således nødvendigt at styre energien, der genereres af varmeindretninger for at opretholde et behageligt mikroklima i rummet..
Der er to måder at regulere den energi, der frigives af radiatoren: - Kvalitativ ændring i radiatorens egenskaber.
- Kvantitativ regulering af den genererede varme.
- I begge tilfælde er manipulationer med væsken, der cirkulerer gennem rørene, nødvendige..
Hvis du ikke kan påvirke temperaturen på vandet, der kommer ind i radiatoren, kan du justere mængden. Til dette er det nødvendigt at købe trevejsventiler til opvarmning med en termostat.
Disse enheder giver dig mulighed for at begrænse mængden af vand, der passerer gennem radiatoren, og som følge heraf vil der med samme område af batteriet komme mere eller mindre varme ind i rummet, naturligvis inden for de grænser, der begrænses af effekten af systemet..

Trevejs blandeventil med termostat
Trevejsventilen til varmesystemet og temperaturregulatoren installeret på radiatoren kan bruges separat, men i autonome varmesystemer i moderne lejligheder og private sommerhuse bruges ofte en kombineret metode til at øge effektiviteten.
Det er således tilrådeligt at købe en trevejsventil til opvarmning med en termostat..
Det er vigtigt at tage højde for, at funktionsprincippet for trevejsblandeventilen giver dig mulighed for kun at øge eller reducere radiatorens temperatur inden for de fastsatte grænser. Disse grænser dikteres af de tekniske egenskaber ved den termiske enhed, nemlig værdien af dens maksimale varmeoverførsel og afhænger af hver specifik radiator.
Hvad er en sikkerhedsventil til??
Noget af dette er allerede blevet nævnt i den indledende del af artiklen. Det er enkelt – med en stigning i temperaturen i varmesystemet (når kedlen er i drift) har kølevæsken en tendens til at ekspandere.
Dels lykkes det – bare til sådanne formål er der en ekspansionsbeholder til rådighed i ethvert system. Og i vores tid begyndte systemer hovedsageligt at blive fremstillet af en lukket type, det vil sige med en forseglet ekspansionsbeholder af en membran- eller ballontype..
I sådanne tanke er der et luftkammer, som er forpustet med et bestemt tryk. Under indflydelse af kølemidlet, der udvider sig i volumen (og det er den eneste måde til fri ekspansion), trækker luftkammeret sig sammen, trykket i det og i systemet som helhed øges.
Hvad er bypassventilen i rørledningen til?
Under driften af et varme- eller vandopvarmningssystem kan arbejdsmediets volumen ændre sig. En stigning eller et fald i kølevæsketrykket påvirker varmekredsløbets ydelse negativt: det kan føre til ujævn opvarmning, luftning af systemkomponenter og sammenbrud. En ændring i arbejdsmiljøets tryk påvirker også komforten: temperaturen i lokalerne ændres ukontrollabelt, og rørene begynder at nynne og vibrere
For at forhindre, at dette sker, er det vigtigt at opretholde en trykbalance i rørledningen.
Det er ikke svært at konstant overvåge trykket, bløde eller tilføre kølevæske manuelt, men det er bedre at overlade dette rutinemæssige arbejde til automatiseringen.

Der er flere typer styreventiler, der gør dette job bedre end mennesker..
Bypass- eller overløbsventil giver dig mulighed for at stabilisere trykket i rørledningen ved at omdirigere arbejdsvæsken gennem en ekstra gren af rørledningen, kaldet en bypass.
Regulering sker ikke ved en enkelt eller periodisk blødning af overskydende kølevæske, men i portioner, på grund af hvilke trykket af væsken eller gassen konstant opretholdes på samme niveau.
Enheden kan og bør være udstyret med rørledninger af enhver kompleksitet, men mest af alt har de brug for at justere trykket:
fler -kredsløb varmesystemer – i tilfælde af nedlukning af et af kredsløbene reduceres forbruget af kølevæske og trykket øges, hvilket kan forårsage brud på rørledninger, overbelastning af pumpen og varmegenererende enhed – for at undgå dette skal du reducere pres og opretholde det på det ønskede niveau;
varmesystemer udstyret med termostater og varmtvandsforsyningssystemer – ved indstilling af temperaturen ændres mængden af den forbrugte varmebærer, og du skal hurtigt genoprette trykbalancen i kredsløbet;
vandforsyningssystemer udstyret med vandvarmere af lagertype – vand er under højt tryk i kedlen og rørledningen, og da mængden af den leverede væske ændres fra konstant justering og hyppig til- og frakobling af vand, er det især vigtigt at regulere arbejdsmediets tryk, så der ikke sker en ulykke, og vandvarmeren er gået i stykker.
Hvorfor har du brug for batteriventiler
Ventiler er også installeret på radiatorer og batterier i kredsløbet, men deres hovedfunktion er at fjerne luft fra systemet.
Den installerede ventil til radiatoren kan være manuel eller automatisk. Manuel ventil åbner og lukker manuelt med en nøgle og en skruetrækker.
Den automatiske ventil på varmebatteriet kræver ikke menneskelig indgriben. Det fjerner luft perfekt, men dens største ulempe er dens følsomhed over for tilstopning på grund af forurening af kølevæsken. For at fjerne opløst luft fra kølevæsken og rense den for snavs og slam anbefales det at installere luftudskillere.
Sådan vælges en aflastningsventil
På bekostning af køb og installation er en traditionel sprængventil naturligvis billigere end temperaturindretninger. Det vil let beskytte et lukket varmesystem, der er tilsluttet en gas-, diesel- eller el -kedel, fordi de i tilfælde af en ulykke stopper opvarmningen næsten øjeblikkeligt. En anden ting er en træfyret og kulfyret varmegenerator, som ikke er i stand til at slukke med det samme..
Følg disse retningslinjer for at vælge en termisk aflastnings- eller overtryksventil:
- Når du bruger en anden energikilde end fast brændsel, er du velkommen til at købe en konventionel nedrivningsenhed.
- Se dokumentationen til din varmekilde eller kedel (alt efter hvad der er nødvendigt for at beskytte), og vælg sikkerhedsarmaturer i henhold til det maksimalt tilladte tryk, der er angivet deri. Det meste varmeudstyr er designet til en grænse på 3 Bar, selvom der er undtagelser – litauiske Stropuva -kedler tåler kun 2 Bar, og nogle russiske enheder (fra billige) – 1,5 Bar.
- For effektiv afkøling af træfyrede varmegeneratorer i tilfælde af en ulykke er det bedre at installere en af de termiske aflastningsventiler. Deres maksimale arbejdstryk er 10 bar..
- I åbne systemer med en TT -kedel er trykaflastning ubrugelig. Vælg en sikkerhedsanordning, der fungerer ved en kølevæsketemperatur på 95-100 ° C, egnet til din enhed og make-up-metoden.
Råd. Lad være med at købe billige sikkerhedsbeslag fra Kina. Det er ikke kun upålideligt, det lækker også efter den første eksplosion..
Ud over modeller med faste indstillinger er der ventiler til salg med mulighed for justering. Hvis du ikke er professionel inden for opvarmning, bør du ikke købe dem, og der er ikke noget særligt behov..
Element med fjernbetjeningssensor
Produktet er den samme fjedermekanisme indbygget i et hus med to dyser til tilslutning til forsyningsledningen og udledning til kloakken. Stangen, der åbner pladen og stien til kølevæsken, sættes i gang med bælge (2 grupper – hoved og reserve). Når vandet overophedes (fra 95 til 100 ° C), presses det af en temperaturfølsom væske, der kommer fra sensorkolben gennem et kapillarrør. Udformningen af sikkerhedselementet er vist i figuren:

Temperaturventilen er inkluderet i rørledningen til fastbrændselskedlen på tre måder:
- med køling gennem varmegeneratorens vandkredsløb;
- det samme gennem en særlig nødvarmeveksler;
- kølevæskemængde med automatisk efterfyldning.
Den første ordning, vist nedenfor, bruges til varmesystemer med dobbelt kredsløb, der opvarmer vand til varmtvand. Når sensoren, der er monteret under kabinettet af TT-kedlen, virker på mekanismen, tømmes varmt vand fra kredsløbet i kloakken, og dets plads indtages af koldt vand fra vandforsyningen. Uanset årsagerne til ulykken vil et sådant gennemstrømningssystem hurtigt afkøle kedlens kappe og forhindre konsekvenserne..

Varmtvandsbatteriet i en dobbeltkredsløbskedel kan fungere som både en varmelegeme og en køler i tilfælde af overophedning. For beskyttelse er det nok at tilslutte en termisk ventil i henhold til ordningen
Bemærk. Publikationen anvender ordninger fra mærket CALEFFI, hentet fra producentens officielle ressource.
Den anden ordning er for varmegeneratorer med en indbygget nødvarmeveksler til køling i tilfælde af overophedning. Sådanne enheder produceres af europæiske mærker Atmos, Di Dietrich og andre..

For et eksempel på tilslutning af et spildelement gennem en standard varmeveksler, se videoen:
Sidstnævnte ordning implementeres kun i forbindelse med et automatisk efterfyldningssystem, da ventilen her udleder kølevæsken og ikke kølevandet..

Som du kan se, tillader producenten installation af to nødudstyr – tryk (sikkerhedsgruppe) og temperatur (aflastningsventil)
Advarsel. Det anbefales ikke at bruge automatisk make-up til brændeovne med en støbejerns brandkasse. Sidstnævnte er bange for temperaturændringer og kan revne fra tilførsel af en stor mængde koldt vand til retur.
Vanddrevne kombinationsventiler
Denne markante repræsentant for nødbeslag ligner hvad angår princippet om arbejde med bypassventiler og udfører 3 funktioner på én gang:
- Udledning af den overophedede varmebærer fra kedeltanken ved signalet fra den eksterne sensor.
- Effektiv varme generator køling.
- Automatisk påfyldning af varmesystemet med koldt vand.

Ovenstående billede viser produktets design, hvor det kan ses, at der er installeret 2 plader på en stang, der samtidigt åbner 2 passager: det kogende kølemiddel udledes langs det første, vand strømmer langs det andet i den modsatte retning og fylder tab. Tilslutningsdiagrammet for den kombinerede bypassventil med en fastbrændselskedel ser således ud:

Bemærk. Hvis det er nødvendigt at bruge en lignende enhed til afkøling af en TT-kedel med en støbejerns varmeveksler, skal strømmen organiseres gennem en åben ekspansionsbeholder eller en indirekte varmekedel.

Omløbsventilen med et tredobbelt udløb fungerer efter det samme kombinerede princip, kun den er indbygget direkte i kølevæsketilførselsledningen nær varmeenheden. Bælgen er placeret i den del af kroppen, der er placeret i røret. Udledningen udføres gennem det nedre grenrør, og vandforsyningen og påfyldningsledningen er forbundet med de to øvre. Sådanne produkter bruges, når der mangler ledig plads i fyrrummet..

En sådan aflastningsventil er designet til at blive installeret i forsyningsledningen
Fælles drift af ventilen og ekspansionsbeholderen
Ekspansionsbeholderen i varmesystemet er designet til at stabilisere trykket. Men det er en fejl at tro, at en sikkerhedsventil ikke er nødvendig med en sådan tank. Tanken fungerer muligvis ikke korrekt, bare være løbet tør for luft.
En anden fejl er den modsatte opfattelse, at ventilen kan overtage ekspansionsbeholderens funktioner – slip trykket, så snart det er lidt øget. Denne enhed er strukturelt ikke designet til flere operationer, og efter flere udladninger vises en konstant lækage gennem den …
Sikkerhedsventilen er kun designet til at fungere i tilfælde af en nødstigning i trykket, over normen, hvorefter personalet skal træffe foranstaltninger for at fjerne årsagerne til en sådan situation.
Hvornår fungerer ventilen normalt?
Der er fire typiske situationer, hvor en ventil udløses ved opvarmning.
- Væske pumpes ind i systemet med en manuel pumpe uden trykregulering, eller den automatiske påfyldning viste sig at være defekt og giver øget tryk.
- Varmesystemet er defekt – ekspansionsbeholderen var ikke installeret eller blev blokeret af en hane.
- Ekspansionsbeholder fungerer ikke korrekt – der er ingen luft i den.
- Kedel koger med massiv dampudløsning.

Hvad reglerne kræver
Fra standarderne kan du finde ud af, at på vej til ventilen fra varmeveksleren bør der ikke kun være afspærringsanordninger, men også reguleringsanordninger samt en rørledning med en mindre diameter end selve ventilen. Trykindstillingen skal være 15 til 25% højere end væskens arbejdstryk. Svarstærsklen bør kontrolleres mindst en gang om året under rutinemæssig systemvedligeholdelse ….
Enhedsmærkning
Sikkerhedsventiler er underlagt obligatorisk mærkning. Følgende anvendes på sikkerhedsventilhuset:
- produktbetegnelse
- en pil, der angiver mediumets strømningsretning
- nominel trykværdi
- værdi af nominel ventildiameter
- ventil serienummer
- fremstillingsdato
Typeskiltet er normalt fastgjort til ventilkappen eller til ydersiden af udløbsflangen.
Diameter
Diameteren på trykaflastningsventilen i varmesystemet må ikke være mindre end tilslutningsrørets tilslutning. Ellers vil konstant hydraulisk tryk forstyrre mekanismens funktion..
Ventil driftsbetingelser
Efter kontrol og revision justeres ventilerne og undergår den nødvendige justering til det angivne tryk. Derefter forsegles enheden. Installation uden forsegling er strengt forbudt. Alle sikkerhedsventiler har et teknologisk pas eller “operationskort”.
Sikkerhedsventilers levetid er direkte afhængig af korrekt drift og vedligeholdelse. Ofte opstår der under drift forskellige fejl..
Blandt dem er sådanne almindelige fejl:
- en lækage
- krusning
- dårlige
En lækage er kendetegnet ved en lækage i arbejdsmediet. Det opstår, når sælerne er beskadiget, og fremmedlegemer rammer dem. Og også når fjederen er deformeret. Elimineres ved at blæse, lappe, udskifte fjederen, installere eller justere ventilen korrekt.
Krusning – for hyppig åbning / lukning. Forekommer med en indsnævret sektion eller høj gennemstrømning. Problemet elimineres ved korrekt valg af de nødvendige parametre.
Beslaglæggelse under drift opstår som følge af fejljustering under montering. Elimineres ved mekanisk behandling og yderligere korrekt montering.
Opbevaringsbetingelser
Instrumentets opbevaringssted skal være i et tørt, lukket område. Enhederne er placeret i en opretstående position på specielle puder. De placeres i kasser eller stativer, der giver lodret positionering.
Hvad er bundlinjen?
Trykaflastningsanordningen anses for at være meget pålidelig på grund af dets enkle design. Når du træffer et valg, skal du være opmærksom på materialets kvalitet og ikke jagte et billigt produkt. Lige så vigtigt er den korrekte indstilling af ventilen for kedelanlæggets maksimale tryk..
De mest kendte producenter og modeller: egenskaber og priser
Nu vil jeg tale om de mest populære og pålidelige trevejsventiler, så det er lettere for dig at vælge den rigtige model..
TIM
Producent fra Kina. Tilbyder produkter af temmelig høj kvalitet til varme og vandforsyning til en relativt lav pris.
| Foto | Model | specifikationer | Særegenheder | Pris, gnid. |
 | (ZEISSLER) BL3110C04 | Materiale: messing Temperaturområde: 35-60 Arbejdstryk: 2-5 bar Diameter: 1 tommer | Blanding, til opvarmning og varmtvandsforsyning | 2.300-3.000 |
 | BL8803 | Materiale: messing Temperaturområde: 38-60 Arbejdstryk: 3-10 bar Diameter: ¾ tommer | Blanding, ekstern forbindelse via amerikansk | 2800-3 500 |
 | BL8804A | Materiale: messing Temperaturområde: 38-60 Arbejdstryk: 3-10 bar Diameter: 1 tommer | Blanding, med elektrisk drev | 2.000-2.600 |
Esbe
Dette svenske firma beskæftiger sig med produktion af forskellige modeller af ventiler og controllere. Jeg tror, at produkterne i dette firma er af højeste kvalitet. Selvom det er dyrt.
| Foto | Model | specifikationer | Særegenheder | Pris, gnid. |
 | VTA321 | Materiale: messing Temperaturområde: 35-60 Arbejdstryk: 2-10 bar Diameter: ¾ tommer | Blanding, til opvarmning og varmtvandsforsyning | 6.000-6.500 |
 | VTA372 | Materiale: messing Temperaturområde: 20-55 Arbejdstryk: 3-10 bar Diameter: 1 tommer | Blanding, høj gennemstrømning | 7.000-8.000 |
 | VTC511 | Materiale: støbejern Temperaturområde: 60-75 Arbejdstryk: 3-10 bar Diameter: 1 tommer | Til kedler med fast brændsel | 8.000-9.000 |
STOUT
Fælles produktion af Rusland, Italien, Spanien og Tyskland. Produkterne er perfekt tilpasset russiske forhold.
| Foto | Model | specifikationer | Særegenheder | Pris, gnid. |
 | SVM-0120-164325 | Materiale: messing Temperaturområde: 20-43 Arbejdstryk: 3-10 bar Diameter: 1 tommer | Blanding, til opvarmning og varmtvandsforsyning | 4.500-5.000 |
 | SVM-0125-186520 | Materiale: messing Temperaturområde: 30-65 Arbejdstryk: 3-10 bar Diameter: ¾ tommer | Blanding, til opvarmning | 4.000-4.300 |
 | SVM-0120-256025 | Materiale: messing Temperaturområde: 35-60 Arbejdstryk: 3-10 bar Diameter: 1 tommer | Blanding, høj gennemstrømning | 5 200-5 800 |
WATTS
En af de største producenter af varmeudstyr i Europa. Kæmpe udvalg af produkter.
| Foto | Model | specifikationer | Særegenheder | Pris, gnid. |
 | Aquamix 61C | Materiale: messing Temperaturområde: 32-50 Arbejdstryk: 3-10 bar Diameter: ¾ tommer | Blanding, til varmtvandsforsyning | 5 200-5 700 |
 | Aquamix 63C | Materiale: messing Temperaturområde: 25-50 Arbejdstryk: 1-10 bar Diameter: ¾ tommer | Blanding, til gulvvarme | 5.500-6.000 |
 | V3GB Watts Classic | Materiale: messing Temperaturområde: 20-50 Arbejdstryk: 3-10 bar Diameter: 1 tommer | Blanding, med elektrisk drev | 12.500-14.000 |
Tilslutningsdiagram muligheder
Inden du vælger en kontraventil, skal du finde ud af dens formål i dit varmesystem. Lad os gøre opgaven lettere og foreslå muligheder for brug af returlåse:
- Ventilerne installeres på separate lukkede kredsløb udstyret med cirkulationspumper. Målet er at forhindre forekomsten af parasitære strømme, der forringer driften af varmegrene eller parallelt forbundne kedler.
- Når den er installeret i en bypass parallelt med pumpen, hjælper lukkeren systemet automatisk med at skifte til naturlig cirkulationstilstand, når strømforsyningen pludselig afbrydes.
- En binding i make-up-linjen undgår at tømme varme-netværket i forskellige situationer.
En vigtig anbefaling. Lyt ikke til “eksperterne”, og anbring ikke en fjederbelastet ventil foran en enkelt cirkulationspumpe i et konventionelt enkeltkredsløbssystem. Sikringer om, at du på denne måde vil redde pumpeenheden fra vandhammer og andet pjat, svarer ikke til virkeligheden.

Kabeldiagram for 2 kedler – træ og elektrisk – ved hjælp af returlåse
Som et eksempel på den korrekte installation af kontraventiler giver vi et diagram over ledforbindelsen mellem et fast brændstof og en elektrisk kedel. Hvis en af pumperne stopper, driver den anden uundgåeligt kølevæsken med et parasitært flow i en lille cirkel. Stopventiler er uundværlige her..
Bemærk. En lignende situation kan opstå ved tilslutning af et radiatornetværk og en indirekte varmekedel med en separat pumpe uden fordelingsmanifold, hydraulisk pil eller buffertank.

Det andet eksempel er typisk for tyngdekraftsystemer med naturlig cirkulation af vand, der konverteres til arbejde med en pumpe. Hovedtilstanden er tvunget, men når lyset slukkes, stopper bypass -enheden og stopper med at trykke på den udførende del af kontraventilen, der er indlejret i den lige linje. Derefter genoptages konvektionsstrømmen af vand langs hovedledningen, indtil der leveres strøm.

Installation af en efterfyldningsventil er valgfri, men kan spare dig for uventede problemer. Eksempel i virkeligheden: En husejer besluttede at sætte varmesystemet under tryk og tændte efterventilen i fyrrummet. Da vandforsyningsfirmaet på det tidspunkt reparerede netværket og lukkede for vandforsyningen, overførte kølevæsken koldt vand og gik delvist i røret. I stedet for make-up skete der tømning, som følge heraf faldt trykket og gaskedlen stoppede.
Hvor er luftudløsningsventilerne
I ethvert varmtvandsopvarmningssystem er der steder, hvor installation af ventilationsåbninger er påkrævet. Hvis vi taler om Mayevskys haner, skal de installeres på alle batterier for at udlufte opsamlingsluften. Det nøjagtige sted er i stikket i det øverste hjørne, fjernt fra forsyningsledningens tilslutningspunkt til enheden. Luftboblen dannes præcis der.

Hvis kedlen er udstyret med en indbygget udluftning, er det ikke nødvendigt at sætte den på forsyningen.
Den automatiske luftventil skal installeres strengt lodret på følgende punkter i varmenettet:
- i sikkerhedsgruppen for en kedel forbundet til et lukket system;
- på begge gulvvarmesamlere;

- hvis det højeste punkt er rørledningen, og ikke radiatoren, skærer flydeventilen ind i den;
- i en buffertank og en indirekte varmekedel, hvis dette er bestemt af designet;
- på den opvarmede håndklædestangsspole;
- ind i en fælles fordelingsmanifold af et komplekst og forgrenet system (for begge samlere);
- til den hydrauliske kredsløbsseparator (hydraulisk pil).
Ud over de angivne punkter er der installeret luftdumpere i problemområder i varmeanlægget, hvor de på grund af de vanskelige forhold ved rørlægningen danner U-formede sløjfer, vendt opad. For eksempel omgår en motorvej en døråbning eller en trappe på toppen og går derefter ned igen. I sådanne ekspansionsfuger dannes luftlåse med en sandsynlighed på 100%, så der er brug for en udluftning der, bedre – en automatisk..

Når det højeste punkt i netværket er et rør eller en kompensator, monteres en ventil på det.
Råd. Skær aldrig Mayevsky -hanen direkte i rørledningen, da bobler vil passere forbi den sammen med kølevæskestrømmen og ventilen vil være ubrugelig. For korrekt drift har den manuelle “udluftning” brug for et kammer til opsamling af luft (“maskinen” har sin egen). Lav en indbinding i linjen med et lodret rør, der vil fungere som en luftopsamler, og installer en hane ovenpå.
Hvis du ikke ønsker at køre mellem radiatorer med en skruetrækker, når du fylder varmeværket med vand, skal du udskifte Mayevsky -ventilerne med automatiske vinkelluftventiler. Denne mulighed er også velegnet til beboere i lejligheder opvarmet centralt: luftstop vises ofte i støbejernsbatterier, og der er ingen måde at fjerne dem derfra..
Endnu et tip. For at forhindre, at pæren i hjørneluftventilen stikker ud ved almindeligt syn og klamrer sig til gardinerne, skal du tage en mini-model af ventilen indbygget i kølerdækslet.
Ventilinstallationssted
Der er punkter i varmesystemet, hvor luft nødvendigvis opsamles. Så Mayevskys haner i lejligheden skal installeres på hver radiator. I mange moderne modeller af radiatorer installeres luftudluftningsenheder på fremstillingsstadiet af producenterne selv..

Bemærk! Hvis du har klassiske radiatorer, skal luftventilen installeres i den øverste del af den, som er placeret overfor forbindelsen.
Så du kan altid selv kontrollere den normale drift af dine varmebatterier og ikke være afhængig af boligkontorarbejdernes ønske eller naboernes stemning ovenfra..
Punkter til installation af luftaflastningsventiler:
- radiatorer, badeværelsesspole, øvre del;
- det øverste punkt på rørledningen;
- varmekedel sikkerhedssystem i individuel kommunikation;
- til hydraulisk forgrening;
- på samlerne af den fælles manifold;
- på alle U-formede sløjfer i kommunikation, på det øverste punkt;
- til ekspansionsfuger i plastvarmeanlæg.

Det skal forstås, at luft altid akkumuleres i den øvre del af kommunikationen. En luftlås kan opstå i bøjningen af et plastrør, hvis installationen blev udført med fejl, og der var en temperaturdeformation.
Den letteste måde at slippe af med proppen i rørledningen permanent er at skære en tee i røret. En ventil er installeret på den frie lodrette gren af tee (hvis diameter vælges i overensstemmelse hermed) for at frigive luft.
Vi installerer ventilen korrekt
For ikke at begå fejl, når du vælger og installerer en kontraventil på det rigtige sted i varmesystemet, skal du lytte til enkle anbefalinger:
- For at undgå parasitære strømme i tilstødende grene skal du placere produkter af kronblad eller skive. Førstnævnte foretrækkes, fordi de ikke skaber en øget hydraulisk modstand..
- I bypass -samlingen af et tyngdekraftsystem skal du bruge en kugleventil med næsten nul modstand.
- Vælg højtrykspandeelement til make-up

Produkter med tyngdekraftsventiler placeres altid vandret med stikket opad.
- Tyngdekraftventilventilen er altid monteret vandret. Desuden skal servicemøtrikens hoved være lodret, ellers lukker lukkeren ikke og begynder at passere kølevæsken i den modsatte retning.
- Køb ikke beslag med støbejernshus. Det er tungere og mindre pålideligt at arbejde..
- Kontroller den korrekte installation mod pilen på ventilhuset og angiver vandstrømmens retning..
- Anbring ikke fittings med fjederlås i et kredsløb med naturlig cirkulation – tyngdekraften stopper på grund af høj modstand.
Poppet- og klappeventiler kræver periodisk vedligeholdelse og rengøring. Hvis faste partikler eller aflejringer kommer under sædetætningen, mister kontraventilen sin tæthed. Den bedste måde at rengøre på er at fjerne elementet og blæse de tilstødende overflader ud med en kompressor..
Kontrollér ventilens installationsregler
Når du beslutter, hvor kontraventilen til opvarmning skal placeres, skal du først og fremmest blive guidet af projektets krav. Hvis ledningsdiagrammet kræver den obligatoriske tilstedeværelse af en kontraventil, skal den installeres på det rigtige sted og under hensyntagen til alle krav og standarder. Som regel installeres sådanne fittings på tidspunktet for rørføring af varmekedlen.
Bemærk venligst, at for den korrekte installation af kontraventilen skal du vælge dens type korrekt i overensstemmelse med arbejdstrykket og temperaturen på kølevæsken
Derudover er det vigtigt at montere produktet på den måde, som producenten angiver i det tekniske datablad for beslagene. Som regel bestemmes placeringen af kontraventilerne på varmesystemets designfase.
Som regel bestemmes placeringen af kontraventilerne på varmesystemets designfase..
Installation af kontraventiler på varmesystemet giver dig mulighed for at klare flere opgaver på én gang. Først og fremmest gør sådanne enheder det muligt at forhindre negative konsekvenser for varmesystemet i nødstilfælde. Derudover er dette en slags forsikring mod unødvendige reparationsomkostninger i fremtiden. Et andet vigtigt punkt er konsistensen af driften af forskellige enheder, der er sløjfet ind i et system. Det opnås bare ved at installere afspærringsventiler.
Så hvis du er bekymret for varmedriftens holdbarhed og pålidelighed og ikke ønsker at have ekstra omkostninger i fremtiden, skal du helt sikkert sørge for tilstedeværelsen af en kontraventil i varmekredsen..
Ved udrustning af et varmesystem er det vigtigt ikke kun at tænke over parametrene for dets vigtigste funktionelle dele (rør, varmekedel osv.), Men også at være opmærksom på dets små komponenter og mekanismer på kvaliteten af installationen af som varmeforsyningen stort set vil afhænge. Elementet, der er ansvarligt for sikker drift, er sikkerhedsventilen i varmesystemet, hvis hovedfunktion er at beskytte mod potentielle farer forbundet med overbelastning af systemet samt at kontrollere cirkulationen af kølevæsken. På trods af den relativt begrænsede række opgaver, den udfører, installeres en kontraventil til opvarmning på forskellige punkter i systemet og er en vigtig del af det.
På trods af den relativt begrænsede række opgaver, den udfører, installeres en kontraventil til opvarmning på forskellige punkter i systemet og er en vigtig del af det.
Elementet, der er ansvarligt for sikker drift, er en sikkerhedsventil i varmesystemet, hvis hovedfunktion er at beskytte mod potentielle farer forbundet med overbelastning af systemet samt at kontrollere cirkulationen af kølevæsken
På trods af den relativt begrænsede række opgaver, den udfører, installeres en kontraventil til opvarmning på forskellige punkter i systemet og er en vigtig del af det.

Hvad der kan være en aflastningsventil til opvarmning, såvel som funktionerne i dens enhed og forbindelse, vil blive diskuteret yderligere.
Indflydelse af luft på varmesystemet
Varmesystemets funktion er baseret på cirkulation af opvarmet vand med overførsel af en del af varmen til batterierne for at opvarme rummet. Hvis luft kommer ind i den indre del af systemet (processen kaldes luftning), er der en krænkelse af varmebærerens cirkulation.
Systemet reagerer på udsendelse som følger:
- Under cirkulationen af kølemidlet høres tydeligt lyde, hvilket ikke kun skaber ubehag for beboerne, men også er et symptom på rørledningsvibrationer samt tilbageslag i leddene. I nogle tilfælde resulterer vibrationer i ødelæggelse af svejsede samlinger med åbenlyse ubehagelige konsekvenser..
- Luftlommer dannes i kredsløbene. Dette sker især ofte i lokaler, der ikke er til beboelse, hvor der ikke er regelmæssig temperaturkontrol. Resultatet af trafikpropper er afrimning af systemet..
- Forringelse af cirkulationen eller fuldstændig ophør. Under forhold med langsom cirkulation falder systemets effektivitet, og brændstofforbruget stiger..
- Udviklingen af ætsende processer som følge af luftindtrængning i indre metaldele. Korrosion resulterer i kortere levetid på udstyret.
Afspærringsventiler

I varmesystemer bruges afspærringsventiler til opvarmning til at styre tilførslen af varmebærer samt til at åbne kredsløbet. Det giver dig mulighed for at styre opvarmningsprocessen, hvilket gør den mere effektiv og rationel. I de fleste tilfælde er der installeret en afspærringsventil på varmebatteriet i områderne af radiatorrørene. Ud over de funktionelle fordele har en sådan løsning også praktiske fordele – ved at lukke afspærringsventilen til varmebatteriet vil husejeren kunne reparere varmelegemet uden at stoppe driften af hele varmesystemet. I øjeblikket er afspærringsventiler til opvarmning repræsenteret af en bred vifte af enheder.
Følgende typer enheder bruges ofte i varmesystemer:

lukkeventiler;
- Kugleventiler;
- nåleventil;
- portventiler.

Disse elementer er lavet af holdbare metaller, der er modstandsdygtige over for korrosion og høje temperaturer. Afslutningsbeslag beskytter kredsløbet mod kritiske nødsituationer og øger varmesystemets pålidelighed og hjælper med at minimere negative konsekvenser i tilfælde af fejl i en separat varmelegeme.
Nålhane
Funktionerne, som nåleventilen udfører til opvarmning, kan være forskellige. Afhængigt af designet kan denne enhed udføre en afspærrings-, regulerings- og afbalanceringsfunktion. I varmesystemer bruges en afspærringsnålventil oftest til en radiator, som giver dig mulighed for jævnt at lukke for strømmen og undgå forekomst af vandhamre, som er skadelige for systemet..
Mekaniske balancere

Dette er en af ventiltyperne, hvor skaftets position justeres manuelt. Der er en digital skala på håndtaget, der angiver den aktuelle værdi af passagen i rørledningen. Fordelen er muligheden for at bruge den til afbalancering og som afspærringsventiler. Eksempel: lukning af visse sektioner af rørledningen til reparationsarbejde.
Derudover kan du installere et manometer og et termometer til at styre tryk, temperatur. Men til dette skal du vælge modeller med de passende stik. Fremstillingsmaterialet er messing, sjældnere bruges rustfrit stål. Når du vælger, skal du være opmærksom på den maksimale trykindikator, som enheden kan modstå.
Automatiske balancere
Består af to komponenter – en mekanisk ventil og en differenstrykregulator. I den første er en membranblok installeret, på kroppen er der 2 fittings, der er forbundet til en manometer til justering eller til en differenstrykregulator. Når trykket ændres, øges eller formindskes tykkelsen af membranblokken, og derved reguleres linjens arbejdspassage. Returmonteret.

Differenstrykregulatoren er installeret på forsyningsledningen. Tilsluttet mekanisk balancer med kapillarrør. Når varmeparametrene ændres, korrigeres trykket automatisk.
Ved store forgrenede systemer anbefales installation af automatiske balancere. Dette er vigtigt med hyppige trykfald, ændringer i kølevæskens temperatur. Hvis systemet fungerer relativt stabilt, men du regelmæssigt skal overvåge de hydrauliske parametre, kan du installere mekaniske balancere.
Tip: Balanceringsventilerne adskiller sig i måden, de er forbundet på. For små rør vælges modeller med en ekstern eller indvendig gevind. Der er balancere med flangeforbindelse.
Sådan justeres balanceringsventilen i varmesystemet

Inden du justerer balancen i radiatornetværket, er det nødvendigt at studere instruktionerne for ventilen, som er vedhæftet med købet. Det angiver justeringsskemaet, hvis brugeren installerer alt korrekt, vil han virkelig kunne reducere omkostningerne ved varmeenergi. Ventilen kan justeres på to måder.
Den første måde at justere ventilen på
Dette er den enkleste og mest dokumenterede justeringsmulighed, som anbefales af erfarne termiske indstillinger i vandvarmenetværk. For at gøre dette skal du dividere antallet af ventilomdrejninger med antallet af batterier, der er installeret i varmekredsløbet omkring rummets omkreds. Denne teknik gør det muligt korrekt at bestemme trinnet i tuningsalgoritmen. Metoden består i at lukke alle ventiler i omvendt rækkefølge – fra det sidste til det første batteri i forhold til varmekilden.
For eksempel for et blindkredsløb med 4 radiatorer udstyret med mekaniske afbalanceringsventiler og en spindelindstilling på 4,5 omdrejninger:
4,5: 4 = 1,1 omdrejninger
Åbningsskema:
- Første indreguleringsventil – 1,1 omdrejning.
- Anden indreguleringsventil – 2,2 omdrejninger.
- Tredje indreguleringsventil – 3,3 omdrejninger.
- Fjerde balanceringsventil – 4,5 omdrejninger.
Den anden måde at justere balanceren på
Der er endnu en måde at afbalancere i meget høj kvalitet. Det udføres meget hurtigere og indeholder evnen til at tage højde for nogle specifikationer for batteriets placering. Det eneste, der kræves for at fuldføre det, er et termometer af kontakttype.
Hele processen foregår i følgende rækkefølge:
- Alle ventiler åbnes, og netværket får lov til at indtaste temperatur ligevægt med driftstemperaturen, for eksempel ved 80 C.
- Mål temperaturen på alle varmeapparater.
- Fjern forskellen ved at lukke den første og den midterste hane. Endeventiler er ikke justerbare.
- Normalt drejer den første ventil ikke mere end 1,5 omdrejninger, og de midterste – 2,5 omdrejninger..
- Lad systemet komme til temperatur -ligevægt inden for 20 minutter
- De måler temperaturer og justerer ventilerne yderligere, hvis det er nødvendigt.
Mayevsky kran

Mayevsky kran design
Hvis opvarmningen af en bestemt radiator er blevet væsentligt forringet, er der stor sandsynlighed for en luftsluse. For at forhindre overophedning af kølevæsken er det nødvendigt at installere Mayevsky -haner på hver af varmeenhederne på forhånd..
Denne varmestyringsventil er en nåleventil, der er helt forseglet, når den lukkes. Installeret på det øvre kølerør, i tilfælde af overbelastning af luft, hjælper det med at fjerne dem. For at gøre dette skal du bruge en nøgle eller en skruetrækker til at løsne graden af at trykke på gardinet. Dette gøres, indtil den karakteristiske lyd fra den udgående luft høres. Proceduren slutter først, når kølevæsken begynder at strømme..
Anbefalede producenter
Flere globale producenter beskæftiger sig med fremstilling af sådanne afspærrings- og styreventiler. Varmeforsyningsarbejdet afhænger af materialernes kvalitet, justeringens nøjagtighed og design. Derfor anbefales det at købe ikke analoger, men originale modeller. Dette vil øge systemets pålidelighed..
Balancere fra Valtec, Danfoss, Herz og Honeywell findes på markedet. De adskiller sig kun i udseende, deres funktionelle funktioner er de samme. Tabellen viser populære varmebalancere fra disse producenter..
| Fabrikant | Mekanisk balancer | Automatisk balancer |
| Valtec | VT.042.G | VT.040.G |
| Danfoss | Leno MVT eller MNT | AB-PM, APT eller ASV |
| Herz | 4017 M | TS-V |
| Honeywell | Kombi-3-Plus | – |
Disse modeller adskiller sig i størrelse, måder at forbinde til rørledningen. Nogle af dem er kun designet til koldtvandsforsyning, men de fleste er universelle og kan bruges til opvarmning og vandforsyning. Eksempel – Danfoss produkter.
Luftventil til opvarmning til udluftning af batteri
I moderne varmesystemer er der en særlig enhed til fjernelse af akkumuleret luft – en luftventil til opvarmning. Uden denne enhed ville opvarmningen ikke kunne fungere normalt ….
Hvad er en make-up enhed, og hvordan fungerer den
Denne knude er som allerede nævnt et vigtigt varmeelement. Dens hovedopgave er at kontrollere mængden af kølevæske og om nødvendigt påfylde den..
Som regel er der i moderne varmesystemer installeret automatiske enheder, hvis hovedelement er en påfyldningsventil. Den har en lille membran, som påvirkes af trykket inde i systemet og af en fjeder.
Hvis trykket i varmekredsen falder, reduceres virkningen på fjederen tilsvarende. Membranen stopper med at komprimere fjederen, og den skubber stammen, hvilket åbner åbningen til genopfyldning af varmesystemet. Vand strømmer gennem dette hul.
Som regel er efterfyldningsventilen til varmesystemet installeret på røret, der forsyner almindeligt vand. Det vil sige, at den er forbundet til vandforsyningssystemet. Dette bør tages i betragtning, da renset vand bruges til varmesystemet (det efterlader mindre plak på væggene i rør og radiatorer).
Mens det sædvanlige vand fra vandforsyningssystemet ikke er blevet renset. Det vil sige, det er mere rationelt at sætte et lille filter ved indløbet og ændre det fra tid til anden. Således kan du beskytte rør og forbindelser mod for tidlig ophobning af aflejringer..
Når yderligere vand begynder at strømme ind i varmesystemet, begynder trykket i det gradvist at stige. Så snart det når det nødvendige niveau, påføres tryk igen på membranen. Det virker på en fjeder, som ved komprimering lukker hullet.

Hvad består efterfyldningsventilen af
Vigtigt: der er tidspunkter, hvor der er stor sandsynlighed for, at kølevæsken fra varmekredsen kommer ind i vandrørene. Dette er meget uønsket, da mange ejere bruger vand med frostvæske som varmebærer.
Hvor skal man installere?
Eksperter siger, at det er bedst at installere påfyldningsventilen nær ekspansionsbeholderen. Dette er faktisk tilfældet, da tanken regelmæssigt udløses, og følgelig, umiddelbart efter at trykket i systemet falder på grund af tankens funktion, genoprettes den automatisk af ventilen. Det vil sige, at afbrydelser i presset er ekstremt kortvarige og påvirker ikke systemets kvalitet..
Efterfyldningsenheden bør ikke placeres på returrørene i nærheden af varmekedlen. I dette tilfælde kan en portion koldt vand fremkalde funktionsfejl. Det anbefales ligeledes ikke at installere en automatisk påfyldningsventil på forsyningsvandsrørene. I dette tilfælde er kølevæsken for varm og kan beskadige elementerne i selve enheden..
Hvorfor automatisering?
Borte er de dage, hvor trykniveauet i systemet blev justeret manuelt. Grunden til at installere en automatisk knude er, at der faktisk kræves make-up ganske ofte. Automatiseringen styrer selv trykniveauet, bestemmer selv den nødvendige mængde vand, som skal tilføjes for at normalisere driften af opvarmning.
Alimat-efterfyldningsventilen er et godt eksempel på moderne udstyr af høj kvalitet. Dette er et kvalitetselement, der hjælper dig med at sikre varmesystemets normale drift uden trykproblemer..
Princippet om drift af den automatiske efterfyldningsventil
Driftsprincippet såvel som installationsprocessen for en sådan enhed er ekstremt enkel. Alle driftsparametre skal konfigureres på forhånd. Forprogrammer fremtidige vandtab – som regel bør du også angive minimumstrykket i netværket. Og hvis mængden af arbejdsvæsken for eksempel falder med 10 procent, så aktiverer dette ventilen, som igen starter pumpen.
Med denne pumpe pumpes koldt vand fra forsyningsrøret ind i varmeledningen i de nødvendige mængder. Og så snart væsketabet genopfyldes, fungerer ventilen igen og stopper den automatiske tilførsel af kølevæske..

Det er ganske muligt at klare installationen af den beskrevne enhed alene. Først skal der installeres et manometer eller en anden elektronisk sensor af kontakttypen på rørledningen, der forsyner koldt vand (ved hjælp af en sådan sensor vil brugeren kunne regulere trykket samtidigt i to retninger). En af grupperne skal indstilles til minimumstrykket i netværket.
Det er på dette sted, at en kontaktor eller et mellemliggende relæ skal installeres. Og så snart mængden af varmt kølevæske i den lukkede linje falder, starter denne kontaktor aktiveringen af en mekanisme, der starter trækkende pumpeudstyr. Der er også en anden gruppe – det er nødvendigt for at deaktivere alle disse processer, når væsketab genopfyldes. Aktuatoren i dette tilfælde kan være en elektrisk ventil – en slags ventil udstyret med en elektrisk motor.
Vigtig note! Hvis varmesystemet tilføres ved hjælp af automatisering, vil det (automatisering) uafhængigt styre driftstrykket og beregne væskens kompensationsvolumen. Bypass -make -up – når du har brug for det?
Det skete bare sådan, at næsten alle lukkede varmesystemer kun er i stand til normalt at fungere ved et højt tryk i arbejdsvæsken. Selvom dette ikke er den eneste vigtige faktor, da kølevæskens temperatur også finder sted.

Så hvis temperaturen stiger, fører dette til en temperaturudvidelse af individuelle tekniske netværksnoder. Og for at kompensere for denne udvidelse installeres en særlig hydroakkumulator (også kendt som en expamzomat), som er i stand til at absorbere overskydende hydraulisk energi eller omvendt give den væk i tilfælde af et underskud. Akkumulatoren tilsluttes på samme måde som den sanitære bypass.
Et kendetegn ved en åben varmeledning er, at der ikke er noget højt tryk i den. I denne henseende kan en ekspansionsbeholder, omend noget moderniseret, tjene som en slags sensor til at reducere væskemængden. Denne tank skal installeres på det højeste punkt i systemet..
Bemærk! I dette tilfælde vil make-up udelukkende blive udført med et fald i mængden af kølemiddel i tanken. For at finde ud af, om niveauet virkelig er faldet, skal du åbne kontrolrøret: hvis der er mangel på kølevæske, vil der ikke være noget tryk der
Ofte er udløbet af dette rør installeret i køkkenet eller på badeværelset. Og hvis der ikke er tryk under revisionen, er det nødvendigt at tilføje arbejdsvæske til systemet. Til dette tjener et andet element i fodersystemet – en knude, der forbinder varmenetværket med vandforsyningen. Fra et konstruktivt synspunkt vil denne knude indeholde sådanne elementer.
- Kugleventil, der lukker / åbner vandstrømmen ind i netværket.
- Kontraventil – det er nødvendigt for at forhindre tilbagevenden af væske fra netværket til vandforsyningen. Dette kan for eksempel ske i mangel af vand i en centraliseret vandforsyningsrørledning..
- Filter. Som du ved, opfylder kvaliteten af postevand ikke altid kravene, så det skal renses yderligere for alskens snavs. Hvis dette ikke gøres, dannes der et lag af skala på de indre overflader af metalelementer..
Det er i henhold til denne ordning, at opbygningen af det åbne varmesystem udføres. Men det er værd at huske, at en luftventilation skal installeres på forhånd, ved hjælp af hvilken overskydende luft vil blive fjernet. Vi tilføjer også, at dens minimumstemperaturindikator er nødvendig for at kunne genopbygge vandmængden på en kompetent måde.
Bemærk! En enklere make-up ordning kan bestå af en almindelig lagertank, selvom vandstanden i dette tilfælde skal overvåges visuelt
Sådan tilsluttes varmesystemet
Med et lukket kredsløb gør det lille forskel, hvor make -up -rørledningen skal tilsluttes – til forsyning eller retur. Vi anbefaler at bruge den klassiske gennemprøvede metode – tappestedet skal placeres på returledningen ved siden af kedlen, efter cirkulationspumpen og ekspansionsbeholderen. Årsager:
- enheden er placeret i ovnrummet ved siden af udstyr og apparater;
- pumpning af vand i returen afspejles straks på manometeret installeret på strømmen bag kedlen;
- bindingen er placeret på det laveste punkt, strømmen fordeles i 2 retninger – ind i kedlen og radiatorer, luften presses jævnt ud.
På samme måde skærer make-upen ind i returlinjen i det åbne system. Den anden mulighed er at tilføje kølevæsken direkte til tanken, ulempen ved metoden er at lægge tilførselsrøret til loftet.
Tilslutning af make-up-linjen er også tilladt på andre punkter:
- til en separat montering af en fastbrændselskedel leveret af producenten;
- til bunden af den hydrauliske pil;
- til manifoldens returmanifold;
- til udløbet af den indirekte varmekedel.
Disse muligheder implementeres normalt i komplekse og forgrenede systemer i landejendomme. Sminkeforbindelsen til kedlen er vist i den næste video:
Lige røranordninger
En lige udluftning er den mest efterspurgte version af enheden, da den er velegnet til installation på de øvre ender af lodrette stigninger, på gulvvarmesamlere, som en del af en sikkerhedsgruppe, på cirkulationspumper. Ved hjælp af en tee kan den skæres i et problemafsnit af rørledningen, hvis en lille hældningsvinkel fremkalder udseende af luftlåse.

Design af en direkte automatisk udluftning med et grenrør
Radiator og hjørnemodeller
Den vinklede ventilationsåbning er designet til installation på svært tilgængelige steder. På grund af forgreningsrøret, der er placeret på siden af huset, kan enheden f.eks. Forbindes med gevindenden af den vandrette rørledning til varmesystemets blindgangsgren. Om nødvendigt kan vinkelautomatiske ventilationsåbninger i varmesystemet bruges i stedet for direkte.
I stedet for en Mayevsky manuel hane kan der automatisk installeres standardvinklede automatiske afløbsventiler på radiatorer for at fjerne hyppige luftlåse fra radiatorer. En mere rationel tilgang er imidlertid at bruge specielle automatiske radiatorventiler. En sådan model har også et kantet design, men adskiller sig fra standardtråden – den er velegnet til at forbinde enheden direkte til radiatoren uden at bruge en adapter.
Hvorfor er der behov for genopladning
Efter påfyldning af varmtvandsopvarmningskredsløbet begynder væskemængden i det gradvist at falde af forskellige årsager. Luft kommer ind på stedet uden kølevæske, hvilket påvirker systemets funktion negativt.
I en lukket sløjfe med tvungen cirkulation falder trykket gradvist, derudover slides pumpen, som ikke er designet til at pumpe en blanding af luft med vand, hurtigere og kan svigte for tidligt. Som følge heraf afbrydes bevægelsen af kølevæsken, den overophedes, hvilket fører til en nødstop af kedlen. I det åbne kredsløb overophedes kølevæsken også, hvis volumen er utilstrækkelig til systemets fulde funktion..
Det er vigtigt at forstå, hvad der forårsager vandlækage fra et åbent og lukket varmesystem:
- i et kredsløb med en åben ekspansionsbeholder fordamper kølemidlet ret intensivt fra tanken, og det skal fyldes regelmæssigt op;
- når de automatiske ventiler til udluftning af luft fra systemet udløses, kommer en del af kølemidlet også ind i ydersiden i form af damp, da ventiler til fjernelse af luft fra systemet er installeret på de højeste punkter i kredsløbet, hvor der i henhold til fysikkens love, væsketemperaturen er maksimal;
- funktionen af en fast brændselskedel ledsages af betjening af en sikkerhedsventil, hvis kølevæsken opvarmes til kritisk høje temperaturer, mens damp og en del af væsken udsendes fra kredsløbet, desuden kan sikkerhedsventilen konstant undergrave damp eller lækage, mens dråberne hurtigt fordamper uden at efterlade spor;
- for at udlufte luft fra radiatorerne bruges en Mayevsky -kran – når du fjerner luftlåsen, skal du vente på en jævn strøm af kølevæske, på grund af hvilken væskemængden i kredsløbet falder;
- lækager (nogle gange umærkelige) ved samlingerne på stederne for installation af systemelementer er også en af årsagerne til manglen på kølevæske i rørledningen.
Åbent varmekredsløb: Installation af wattregulator, væskemængde
Et åbent varmekredsløb betragtes som ikke-flygtigt og det enkleste. Det bruger den naturlige bevægelse af kølevæsken. Driftsprincippet er baseret på termodynamiske love.
Der oprettes et højt tryk ved kedlens udløb, derefter går det opvarmede kølemiddel gennem rørledningen til den del af rørledningen med reduceret tryk, hvor temperaturen falder. Derefter bevæger koldt vand sig igen ind i kedlen og varmer derop..
Den opvarmede væske ekspanderer, så kredsløbet er udstyret med en ekspansionsbeholder. Elementet er nødvendigt for at optage overskydende væske under ekspansion og returnere det i en afkølet form inde i linjen.
Tanken lækker på nogle punkter: Kølevæsken fordamper, vandstanden skal efterfyldes. Til dette formål betjenes efterfyldningspumper.
En åben motorvej består også af følgende elementer:
- radiatorer;
- en kedel, der drives af gas, fast brændstof eller diesel;
- ekspansionsbeholder;
- lukkeventiler i rustfrit stål;
- rørledning.
Rør i et åbent termisk kredsløb opvarmes langsomt på grund af den langsomme cirkulation af vand. Dette forhindrer kølemidlet i at koge og beskadiger ikke rørene. Hvis varmeledningen ikke er i brug om vinteren, skal vandet tømmes.
Tegn på en kritisk mangel på kølevæske
Ikke alle ejere af private huse overvåger den tekniske tilstand af vandopvarmning, det virker – og okay. Når der dannes en latent lækage, fortsætter systemet med at fungere i nogen tid, indtil mængden af kølevæske falder til et kritisk niveau. Dette øjeblik spores på følgende grunde:
- I et åbent system tømmes ekspansionsbeholderen først, derefter fyldes hovedstigningen, der stiger fra kedlen, med luft. Resultat: kolde batterier med overophedning af forsyningsrøret, det hjælper ikke at tænde cirkulationspumpens maksimale hastighed.
- Manglen på vand med tyngdekraftledninger manifesterer sig på en lignende måde, derudover kan du høre boblende vand i stigerøret.
- På en gasvarmer (åbent kredsløb) er der hyppige start / tænding af brænder – ur, TT -kedlen overophedes og koger.
- Mangel på kølevæske i et lukket (tryk) kredsløb reflekteres på manometeret – trykket falder gradvist. Vægmonterede modeller af gasfyr stopper automatisk, når de falder under en tærskel på 0,8 bar.
- Gulvstående ikke-flygtige enheder og kedler til fast brændsel fortsætter med at opvarme det resterende vand regelmæssigt i et lukket system, indtil volumen frigivet af kølevæsken er fyldt med luft. Cirkulationen stopper, der opstår overophedning, sikkerhedsventilen udløses.

En vigtig afklaring. Når en TT -kedel koger og opererer i et åbent gravitationssystem, følger der ikke en eksplosion, da kølevæsken er i kommunikation med atmosfæren. Det vand, der opvarmes af varmelegemet, vil fordampe, derefter starter en brand i fyrrummet. Selvom den beskrevne proces tager meget tid, er sådanne situationer langt fra ualmindelige..
Vi vil ikke forklare, hvorfor systemet skal genopfyldes – dette er en oplagt foranstaltning for at bevare opvarmningens effektivitet. Det er stadig at vælge metoden til genopfyldning af varmeanlægget.
Ventil til automatisk efterfyldning af varmesystemet: installationsfunktioner
Som nævnt ovenfor er eftertrykreduktionsventilen det vigtigste element i efterfyldningsenheden. Hele make-up-enhedens effektivitet afhænger af den korrekte installation af trykreduktionsventilen..
Følgende anbefalinger skal derfor overholdes ved installation af trykreduktionsventilen:
- Til installation i et varmesystem er det bedst at vælge en ventil med en manometer..
- Ventilen skal installeres på det sted med det laveste tryk i systemet. Så i et lukket varmekredsløb er et sådant punkt indgangsstedet foran pumpen.
- Ved installation af en mekanisk ventil skal systemet yderligere være udstyret med afspærringsventiler. Så ankerventilen kan installeres mellem koldtvandsledningen og indgangen til varmekredsen..
For at ventilen skal fungere mere effektivt, skal varmesystemet samtidig være udstyret med en cirkulationspumpe, der øger trykket. Denne enhed vil generere mere tryk, end hvad en ventil alene kan levere..
Kedel reducer
Reduktionsapparatet er installeret på returrørledningen foran kedlen for at levere netvand til netværkskredsløbet. Vand fra byens rørledning kommer ind gennem ventilen, når trykket i netværksrørledningen falder, forårsaget af utætheder eller en luftlås. Hvis der i henhold til ordningen er installeret en cirkulationspumpe, monteres den anden. Ellers kan hele varmesystemet fungere forkert..
Reduktionsapparatet fungerer i automatisk tilstand uden servicepersonale. Nogle gange er dette ikke altid praktisk, da det er umuligt at kontrollere lækagen, og dens størrelse kan nå nødstørrelser. Derfor foretrækker mange brugere manuel make-up mode eller arrangerer systemer med alarmer med stor lækage..
Pumpegruppe
En eller flere pumper forsyner efterfyldningsvand opstrøms for kedlerne med et tryk, der er højere end returtilførselsvandet. Pumpen udløses af en tryksensor og tilfører vand fra efterfyldningsvandsbeholderen.
Der er ordninger med en nedsænket pumpe, der kan tage vand fra en brønd eller brønd. Pumpegruppen beregnes i henhold til timefunktionen af standardmake-up, antallet af elektriske pumper skal være mindst 2, hvoraf den ene er reserve.

Filtre til make-up vand

Urenhederne i råvand har en dårlig effekt på driften af varmeudstyr, især på kedlen og kan aflejres på kedelvarmeoverfladerne i form af skala og slam, hvilket reducerer kølevæskens cirkulationshastighed og forårsager overophedning i kedlen, med efterfølgende brud på rør.
Derfor installeres udstyr til at rense make-up-vandet..
Nemmere rengøring udføres med mekaniske filtre fyldt med sand eller aktivt kul. Enklere anordninger kan også arrangeres – mudderopsamlere, hvor siler er installeret og har en større kropsdiameter end returrørene. Vand kommer ind i sumpen, dens hastighed falder, og suspenderede faste stoffer udfældes. Mere komplekse hårdhedssalte skal fjernes i specialiserede blødgøringsfiltre..
Vedligeholdelse af enheden
Hvis standardbetingelserne for tryk, temperatur og mekanisk belastning opretholdes, kan enheden tjene i årevis uden behov for vedligeholdelse og reparation..
Det er imidlertid tilrådeligt at periodisk kontrollere tilslutningsventilforbindelserne, tilstanden af de små O-ringe og korrekt måleres funktion..
Hvis der findes et filter i designet, skal dets maske rengøres regelmæssigt og om nødvendigt ændre pakninger..
Beregning af varmesystemets make-up
Som nævnt ovenfor sikrer efterfyldningsventilen sikker drift af varmesystemet. Med henblik på dets stabile drift er det nødvendigt at foretage en beregning af systemets forsyning af høj kvalitet og udføre en pålidelig installation af ventilen..
For at beregne opvarmningsopladningen bruges en formel, hvor husets areal multipliceres med klimakraften og divideres med ti. Den klimatiske effektfaktor bestemmes ud fra den region, hvor huset ligger..
Beregning af opvarmningseffekten baseret på regionen
Regionsnavn Opfyldningseffekt, kW
| centrale region | 1,3-1,6 |
| Nordlige region | 1.6-2.2 |
| Region Syd | 0,8-0,95 |
Formlen til beregning af effekt Nk = 100 * 1,3 / 10 = 13 kW
hvor
100 er bygningens areal i m²;
1.3 er en indikator for klimakraften.
Organisering af automatisk genopladning
For dem, der ikke har tid til at rode rundt i fyrrummet, er automatisk fodring af varmesystemet egnet. Dette vil resultere i køb af ekstra fittings, samt i installationen på stedet. Essensen af metoden er den samme som i det første enkle skema, men i stedet for en konventionel hane installeres en hel enhed på forsyningsrørledningen, vist i figuren:
Hovedelementet i det præsenterede diagram er en trykreduktionsventil til sammensætning af varmesystemet. Det fungerer sådan: Mens trykket i et privat huss varme netværk er over minimum, er fjederen i en komprimeret tilstand, understøttet på den ene side af kølevæsken. Når trykket falder under den indstillede grænse, retter fjederen, hvis elastiske kraft bliver større, ud og åbner passagen for strømmen fra vandforsyningen.
Efter påfyldning stiger trykket i netværket igen og overvinder fjederkraften og lukker spjældet. Ud over reduktionsenheden indeholder make-up-regulatoren en sil og en kontraventil. En strømafbrydelse er installeret foran den, hvilket forhindrer indtrængen af snavset kølemiddel i koldtvandsledningen. Filterelementet er udstyret med 2 manometre til bestemmelse af forureningsgraden fra trykfaldet. Alle fittings er installeret på bypass og udstyret med afspærringsventiler, hvilket gør det muligt at servicere dem.
I en situation med hyppige vandstop eller med en autonom vandforsyning skal trykket ved indløbet til den automatiske enhed leveres af en pumpe til fodring af et system med en membranakkumulator. Men det er upraktisk kun at købe og installere en pumpe for at genopbygge varmeanlægget. Den skal monteres og bindes på en sådan måde, at pumpen i mangel af centraliseret vandforsyning opbygger tryk i hele husholdningsnettet og pumper vand fra en reservetank eller pool.
Lukket kredsløb med gearkasse og hane: station med tank (kapacitet), frostvæske
Når temperaturen i ledningen stiger, åbner ventilen på ekspansionstanken som en portventil for at fjerne det overskydende vand. Hvis temperaturen på kølevæsken falder, pumper pumpen vand tilbage i ledningen.
Det anbefales, at trykket i et lukket system holdes inden for de forudindstillede grænser. Dette hjælper med at aflufte kølevæsken. Ekspansionsbeholder regulerer stabil drift og styrer væskestrømmen.
Make-up i et åbent varmesystem
I varmenetværk i private huse med tvungen strøm af varmebæreren bruges ventiler derfor til genopladning, der automatisk tilfører vand til kredsløbet. I åbne systemer med små beboelsesbygninger eller sommerhuse bruges normalt en lidt anderledes, meget enklere ordning for påfyldning af et kølevæske. Automatisk genopladning af varmesystemet i dette tilfælde vil sandsynligvis være overflødig..

Ekspansionsbeholdere i naturlige flownetværk er normalt monteret på loftet. For at kunne styre mængden af vand i kredsløbet i sådanne systemer, ud over retur og forsyning, leveres der yderligere to rør til dem. En af dem kaldes en kontrol en og skærer i tanken herunder. Det andet (overløbsrør) føres til ekspansionsbeholderen øverst. Derefter trækkes rørene for eksempel ind i køkkenet.
Det er ganske enkelt at kontrollere, om der er tilstrækkelig mængde vand i varmesystemets kredsløb. Hvis kølevæsken ikke strømmer fra hanen, der er indlejret i tankens kontrolrør, når den åbnes, er der ikke nok af den i systemet. I dette tilfælde, før du tilføjer væske til kredsløbet, skal du åbne ventilen på overløbsrøret. Så snart systemet er fyldt til de nødvendige parametre, begynder vand at strømme fra det..
Installations instruktioner
Det første trin er at slukke for vandstigningen i lejligheden eller huset. Vælg derefter det område, hvor ventilen skal stå, og skær den ud med en kværn. For at rense rørets endeflader fra flis.
For tæthed skal du lægge en gummipakning i fatningen (hvis installationen er med gevind, i stedet for pakningen – en hygiejnefilm). Efter det skal du installere luftemaskinen og fastgøre den i stigrøret.
For en lejlighed kræves mindst 3 ventiler til det interne kloaksystem – en til hver forbruger.
Opdateret råd om emballage og vedligeholdelse
Uanset hvilken strømforsyning du vælger, skal du først og fremmest huske, at den skal være sikker og let at bruge, lavet af materialer af høj kvalitet. Hvis varmesystemet er lille, skal du foretrække en enhed med det enklest mulige design. Den centrale støtte med bevægelige dele og det indre kompensationsstempel skal være fremstillet af materialer med lav vedhæftningskoefficient: risikoen for kalkdannelse i samlingen skal minimeres. Det er ingen hemmelighed, at de er hovedårsagen til enhedens dårlige ydeevne..
Vær opmærksom på, om produktet har en udskiftelig patron: dette vil i høj grad lette og fremskynde processen med at revidere samlingen for dig.

Periodisk vedligeholdelse af make-up-enheden hjælper med at undgå funktionsfejl i hele varmesystemet
Gør følgende for at rengøre eller udskifte hele patronen:
- Isoler installationen.
- Skru betjeningsknappen, der er placeret i bunden, af.
- Skru justeringsskruen helt af, og fjern dækslet.
- Fjern patronen med en tang.
- Efter de nødvendige manipulationer samles enheden igen.
Det eneste, der er tilbage, er at konfigurere udstyret og fortsætte med at nyde den smidige drift af varmesystemet i dit hjem.!
Endelig om sikker påfyldning af kølevæske
Følg vores anbefalinger ved påfyldning af vand eller delvis make-up:
- Genopfyld det opvarmede system langsomt ved at åbne ventilen en fjerdedel af håndtagets slag. På denne måde vil det være muligt at undgå dannelse af luftlåse og beskytte kedelvarmeveksleren mod temperaturchok..
- Tank op fra bunden, når varmegeneratoren ikke fungerer, og cirkulationspumpen er slukket..
- Kontroller trykket i ekspansionsbeholderen, og gå over alle radiatorerne, og åbn Mayevsky -hanerne for luftudslip.
- Hvis din kedel er udstyret med moderne elektronik, skal du læse punkterne i vejledningen vedrørende make-up. Det er ofte nødvendigt at aktivere en særlig servicetilstand i enheden..
- Overskydende tryk ventileres let gennem den nærmeste luftudluftning.

Sminkemodulet til et komplekst system kan tilsluttes et lavt tab header og en manifold
Reference. Støbejerns varmevekslere revner let af pludselige temperaturændringer, og stålovne er dækket af kondensat indefra. Sidstnævnte blandes med soden og danner en tæt belægning..
Pumpning af frostvæske med en håndpumpe skjuler ikke faldgruber. Presseanlæg er udstyret med deres egen manometer til at overvåge det faktiske tryk ved tappestedet.
Installationsanbefalinger
Ved placering af ventiler på rørledninger anbefales det at overholde følgende regler:
- Inden du køber en ventil, skal du sørge for, at den er valgt korrekt, det vil sige, at dens rumlige position, tryk og temperaturegenskaber svarer til bevægelsesretningen og parametrene for det medfølgende medium.
- Enhederne installeres strengt i kølevæskens bevægelsesretning. For at angive det kastes en markeringspil på kroppen, der viser den korrekte placering af enheden..
- For at forsegle stødsamlinger bruges der kun varmebestandige pakninger, den mest acceptable løsning er paronitringe.
- Ankeret skal installeres mellem strengt koaksiale sektioner af rørledningen, i dette tilfælde vil det ikke blive udsat for overdreven fysisk påvirkning, hvilket fører til forkert betjening og lækager ved leddene.
- For korrekt drift af ventilerne foran dem i mediets strømningsretning anbefales det at installere grove filtre fra fine suspenderede partikler af sand, rust og andre former for urenheder.

På grund af den høje hydrauliske modstand er enhver kontraventil i varmesystemet et uønsket element, der reducerer effektiviteten og effektiviteten af hele systemet. Oftest er ventilen installeret i bypass -jumperen parallelt med den elektriske cirkulationspumpe, hvor den ikke påvirker systemets drift, da kølevæskestrømmen ikke passerer igennem den i driftstilstand. I andre tilfælde udfører ventilbeslagene hjælpefunktioner, der forhindrer kølevæskens strømning i uønskede retninger.
Kontraventil til opvarmning – valg, installation, funktionsprincip
Hvorfor har du brug for en kontraventil?
Under drift vises hydraulisk tryk inde i varmesystemet, hvilket kan være ulige i dets forskellige sektioner. Årsagerne til dette fænomen er meget forskellige..
Oftest er dette en ujævn afkøling af kølevæsken, fejl i design og samling af systemet eller dets gennembrud. Resultatet er altid det samme: Retningen af hovedvæskestrømmen ændres, og den vender i den modsatte retning.
Dette er fyldt med meget alvorlige konsekvenser, indtil kedlen eller endda hele systemet er ude af drift, hvilket vil kræve betydelige reparationsomkostninger i fremtiden..
Af denne grund anbefaler eksperter kraftigt at installere en kontraventil. Enheden er i stand til kun at føre væske i en retning. Når der opstår en omvendt strøm, udløses en afspærringsmekanisme, og hullet bliver uigennemtrængeligt for kølevæsken.
Således er enheden i stand til at styre væskestrømmen og kun passere den i en retning..
Kontrolventilens princip er meget enkelt. Det passerer varmeoverførselsvæsken i en given retning og blokerer stien, når den forsøger at bevæge sig i den modsatte retning.
For normal drift af systemet er det nødvendigt, at enheden ikke skaber yderligere tryk, og at kølevæsken, der bevæger sig til radiatorerne, frit passerer igennem. Derfor er det ekstremt vigtigt at vælge det rigtige produkt.
Udnævnelse af ventiler til opvarmning
Autonom eller fjernvarme skal tilpasses parametrernes aktuelle værdier – tryk og temperatur i systemet. For at udføre denne opgave kræves en bypassventil i varmesystemet, en blandingsventil, en sikkerhedsventil og andre..
I modsætning til afspærringsventiler fungerer de i automatisk eller halvautomatisk tilstand. Alle varmestyringsventiler skal svare til parametrene for den specifikke varmeforsyning.
For at gøre dette skal du først beregne egenskaberne, udarbejde et detaljeret diagram og i henhold til de indhentede data vælge den optimale opvarmningsafløbsventil og andre typer lignende elementer.
De vigtigste kriterier er:
En passende ventil til udluftning af luft fra varmesystemet vælges på designstadiet. Betjeningen af denne enhed og lignende komponenter bør stabilisere systemets tilstand i tilfælde af risiko for nødsituationer. Derfor er det nødvendigt at kende driftsprincippet og typer ventiler til varmeforsyning..
Nogle ydeevneegenskaber er angivet direkte på varmebypassventilhuset. Hvis dette ikke er tilfældet, kræves professionel rådgivning..
Hvor er installeret i varmesystemet
Det generelle formål med en kontraventil er at lade kølevæskestrømmen strømme i en retning og forhindre, at den bevæger sig tilbage. Der kræves ingen strømforsyning eller andre betingelser for driften, de arbejder ud fra bevægelse af væsker. Der er installeret en kontraventil til opvarmning i alle positioner, hvor modstrøm og parasitære kredsløb kan forekomme.
I et varmesystem med flere grene placeres en kontraventil på returledningen. Dette forhindrer pumpen i at “skubbe” strømmen i den modsatte retning.
De samme enheder er placeret i koldt og varmt vandforsyningssystemer. Designet til opvarmning kendetegnes ved, at der bruges materialer, der godt tåler langvarig udsættelse for høje temperaturer. Hvis der er gummipakninger, bruges varmebestandigt gummi. Det samme gælder for plastdele..
Taler specifikt om varmesystemer (CO), er kontraventilen installeret:
Kontraventilsymbol i diagrammet
I diagrammerne er en kontraventil angivet som to trekanter rettet med deres hjørner til hinanden. En af trekanterne er udfyldt. Installationsstedet i en gren er næsten ethvert. Det vigtigste er at have det. Strømningsretningen er angivet med en pil på kroppen. I denne retning passerer kølevæsken. Modsat overlapper det. Når du installerer, skal du omhyggeligt følge pilen (du kan stadig fokusere på låseelementet).
Kontrolventilens funktionsprincip
Først og fremmest skal det bemærkes, at kontraventiler ikke er installeret “bare i tilfælde”, men kun hvis det er nødvendigt, hvis der ikke er nogen anden teknisk løsning. Dette skyldes, at elementerne ofte har en betydelig hydraulisk modstand, afhængigt af designet. Dette introducerer nogle begrænsninger ved brug af kontraventiler til naturlig cirkulationsopvarmning. Årsag – for lavt kølevæsketryk i systemet.
En undtagelse er tyngdekraftsventiler med rotationsspjæld, nogle af deres modeller er i stand til at åbne vejen for kølevæsken ved et minimumstryk på 0,001 bar.
På trods af forskellene i design leveres de fleste produkter med en vigtig del – foråret. Det er en aktuator, der lukker ventilen, når normale forhold ændrer sig, og dette er princippet for kontraventilen. Den indsats, der bruges på at overvinde fjederelasticiteten, bestemmer mængden af mekanisk hydraulisk modstand. For kredsløb med forskellige driftsparametre vælges produkter, der har den passende elasticitet og massivitet af fjederen.
Hvad virker foråret på? Dens opgave er at holde låseenheden lukket, det er dens normale tilstand. Derefter kan væskestrømmen, der strømmer fra den ene side, overvinde fjederkraften, åbne forhindringen og gå videre langs røret. Et forsøg på at ændre strømnings- og strømningsretningen i den anden retning vil ikke føre til noget – afspærringsenheden vil smække og hvile på tidevandet i kroppen. Der er et tætningselement på dette sted, som gør kontraventilen i varmesystemet helt lukket..
Spærreventiler designet til at arbejde i varmekredse er lavet af følgende materialer:
Varianter af enheder
Der findes flere typer afspærringsventiler, og ofte er forskellige typer produkter installeret på forsynings- og returløb. Afhængigt af det anvendte metal kan kontraventilen have sine egne egenskaber..
De mest anvendte produkter i messing, støbejern og stål. Derudover adskiller kontraventiler sig i deres design. Lad os overveje de vigtigste muligheder.
Hvilke opgaver løser kontraventilen?
Ventilen er nødvendig for at regulere vandstrømmen, som bør bevæge sig strengt i en retning. Ved opvarmning af rum med kedeludstyr er der risiko for trykændringer i systemet, luft ind i kredsløbet og andre funktionsfejl. Som et resultat vil varmt vand begynde at bevæge sig i den modsatte retning. Fraværet af en kontraventil i systemet vil uundgåeligt føre til en alvorlig ulykke..
Kontraventilens hovedopgaver:
I dette tilfælde bør enheden ikke påvirke vandets tekniske og operationelle egenskaber..
Fordele og ulemper
Kontraventil med filter forhindrer pladen i at sidde fast i enhver position
Kontraventilen har fordele og ulemper, der er fælles for alle typer enheder. Stigerøret vil ikke modtage en varm strøm, hvis der strømmer kold væske der. Dette forlænger systemelementernes ydeevne, der er designet til en bestemt temperatur. Enhederne er lette at installere og genererer ikke støj, når væsken passerer igennem. Kontraventiler løser kun problemet i et bestemt område, for andre kredsløb er der installeret yderligere styreenheder.
Nogle mekanismer tillader forekomst af vandhammer, når strømmen passerer arbejdsenheden, men denne funktion i ventilen skader kun systemet med en stor diameter. Ventilerne forurenes fra vandstrømmen, hvis systemet drives med en energibærer uden propylenglycol eller andre tilsætningsstoffer. I dette tilfælde kan disken eller pladen sidde fast i åben eller lukket position..
Med to eller flere kedler
Nogle ejere, for at spare på brændstof og for at eliminere konsekvenserne af nødsituationer under strømafbrydelse, installerer to eller flere kedler i systemet, der er forbundet parallelt med varmeledningen. Hvis en af kedlerne er i drift, kan varmebæreren desuden passere gennem varmeudvekslingskredsløbet på den anden enhed, hvilket fører til uberettigede varmetab.
Forbrugeren kan installere afspærringsventiler i forsynings- eller returledningen til hver af kedlerne og manuelt lukke for strømmen på det inoperative udstyr. Brugen af en kontraventil gør det imidlertid muligt at automatisere processen med at afbryde strømmen gennem varmeudvekslingskredsløbet i en tomgangskedel, når den anden tændes..
I kredsløb med nedlukning elektriske pumper
Normalt er parallelle grene af varme gulve og radiatorbatterier forbundet til en hydrostatisk kontakt eller samlerledninger. For at skubbe kølevæsken gennem rørene i hver af grenene bruger den cirkulerende elektriske pumper, der fungerer i automatisk tilstand.
Mange varmesystemer er designet og designet på en sådan måde, at begge cirkulatorer fungerer kontinuerligt. Men der er ordninger, hvor en termosensor er forbundet til radiatorernes eller varme gulvs konturer – når den indstillede temperatur overskrides, slukker den for strømforsyningen til cirkulationselektriske pumpe.
Da den anden enhed, der er forbundet parallelt med den første linje på dette tidspunkt, er i drift, leder den en del af kølevæsken ind i sit kredsløb, hvor der ikke er behov for yderligere opvarmning.
For at forhindre strømning af arbejdsvæsken ind i de parallelle grene er der installeret en kontraventil i hver af dem..
Det samme gøres i tilfælde, hvor systemet anvender skiftevis tilkobling af flere elektriske pumper installeret i grene, der er forbundet parallelt med en hydraulisk kontakt eller kollektorledninger.
I kredsløbet til hovedcirkulationen elektrisk pumpe
Hvis en kedel (mere præcist en kedel) bruges samtidigt til opvarmning af vand og opvarmning af rum med autonom vandforsyning, tilføres vand fra en nedsænket eller overfladeboret elektrisk pumpe til sin varmeveksler med et højt tryk på ca. 3 bar.
I dette tilfælde er strømmen delt: det meste, når det opvarmes, stiger op og kommer ind i varmevekslerradiatorerne eller varme gulve, og det resterende volumen sendes til returstrømmen og virker på den cirkulerende elektriske pumpe. Da borehulspumpen, der leverer koldt vand til kedlen, er meget kraftigere og giver et betydeligt højde på ca. 3 bar, mens cirkulationsenhedens grænse ikke overstiger 1 – 1,5 bar, kan den direkte strøm, der cirkulerer gennem indløbsrørene, blive klemt i den modsatte retning. Som et resultat kan knivene på den elektriske pumpe sidde fast, og varmebærerens bevægelse langs konturen stopper. I dette tilfælde er en kontraventil placeret foran den for at eliminere cirkulatorens omvendte strøm på grund af modstrøm..
På make-up pipeline
Ved tilslutning af varmekredsløbet til vandledningen til make-up er situationer med afbrydelser i vandforsyningen eller et fald i dets trykegenskaber mulige. I dette tilfælde vil vand fra varmeledningen strømme ind i vandforsyningssystemet, og systemet vil miste varmebæreren. For at undgå sådanne nødsituationer skal der være installeret en kontraventil i efterfyldningsrørledningen..
I bypass parallelt med pumpen
Kontraventilen placeres i bypass -jumperen i en parallel position i forhold til den elektriske cirkulationspumpe i følgende tilfælde:
Kedel del
Et standardvarmeanlæg indeholder mange interessante komponenter, hvor hvert af elementerne har en bestemt opgave. En af disse komponenter er en kontraventil, som overvåger kølevæskens strømning..
Under drift vises hydraulisk tryk, som er ujævnt fordelt over alle områder. Dette kan forekomme på grund af forskellige muligheder, men de mest almindelige årsager til disse problemer er:
Anvendelse af kontraventiler i kedelsektionen sker i de fleste tilfælde, hvis to gruber drives parallelt. For eksempel bruger de i produktionen en elektrisk og enhver anden. Under drift, parallelt, for en bestemt belastning ved forsyningen eller ved udgangen, er kredsløb installeret, så under fejl i en kedel fortsætter den anden med at fungere.
Dette giver dig mulighed for ikke at kortslutte linjerne i et bestemt område. Derudover vil en tilstrækkelig tæt placering gøre det muligt normalt at omgå trykegenskaberne og opvarme den anden kedel. Sådanne ventiler er i stand til at modtage overskydende retur gennem varmeveksleren og lede udløbet gennem røret..
Hvis kedlen er fast brændstof, vil det gøre arbejdet i “jakken” på radiatoren meget stærkt med varmefjernelse. I kedelsektionen vil det være nok at installere ventiler på ind- og udgange under parallel drift, for ikke at genere.
Perifer sekundær del
En kontraventil er et element i varmesystemet, der består af en plast- eller metalbase, der udfører funktionen af fuldstændig blokering af kølevæsketilførslen. Dette sker, når strømmen begynder at bevæge sig i den modsatte retning. Metalskiven er fastgjort til en fjeder, som er under pres, når strømmen bevæger sig i en retning, og når den bevæger sig bagud, udløses fjederen for at blokere passagen i røret. Ventilenheden har ikke kun en skive og en fjeder, men også en pakning. Denne komponent hjælper med at holde disken på plads tæt. På grund af dette er der praktisk talt ingen mulighed for rørlækage. Skiveventiler er meget udbredt i husholdningsvarmesystemer.
Lad os overveje driftsprincippet og et eksempel på, hvornår kontraventiler er nødvendige, og hvornår ikke. I kredsløbets driftstilstand, hvor der er cirkulation, er tilstedeværelsen af en ventil valgfri. For eksempel hvis man ser på et klassisk fyrrum, hvor der er tre parallelle kredsløb. Dette kan være et radiator kredsløb med en pumpe, et gulvvarmekredsløb med egen pumpe og et kedelbelastningskredsløb. Ofte bruges sådanne ordninger i arbejdet med gulvkedler, som kaldes pumpeprioritetsordninger..
Pumpeprioriteter er definitionen af pumpernes vekslende drift. For eksempel sker brugen af kontraventiler, når kun en pumpe er i drift..
Installation af ventiler forsvinder helt, hvis der er en hydraulisk pil på diagrammet. Dette gør det muligt under trykfald i visse pumper at slippe af med dette problem uden at bruge kontraventiler. Den hydrauliske pil angiver afslutningssektionen, der arbejder for at genoprette trykket i en af pumperne.
Tilstedeværelsen af en gulvkedel i kredsløbet gør det også muligt ikke at installere kontraventiler til opvarmning. Dette skyldes dens tønde, der bygger et bestemt sted fra faldet, hvilket anses for at være nul modstand eller en hydraulisk pil. Kapaciteten på sådanne tønder når undertiden 50 liter..
Kontraventiler i varme bruges, hvis kedlen er placeret i en tilstrækkelig stor afstand fra pumperne. Desuden, hvis samlingerne og kedlen er 5 meter fra hinanden, men rørene er for smalle, skaber dette tab. I dette tilfælde kan en inaktiv pumpe skabe cirkulation og tryk på andre knuder, så det er værd at sætte alle tre kredsløb på med en kontraventil.
Et andet eksempel på brugen af kontraventiler er, når der er en vægmonteret kedel, og parallelt med den fungerer to enheder. Oftest har vægmonterede kedler et radiatorsystem, og det andet er et vægmonteret blandemodul sammen med et varmt gulv. Kontraventiler behøver ikke at installeres, hvis blandeenheden kun fungerer i konstant tilstand, vil der i tomgangstilstand ikke være noget at regulere ventilerne, fordi dette kredsløb vil blive lukket.
Der er tidspunkter, hvor pumpen ikke fungerer på blandevæggenheden. Dette sker nogle gange, når pumpen slukkes med en rumtermostat under en bestemt rumtemperatur. I dette tilfælde er ventilen nødvendig, fordi cirkulationen vil fortsætte i enheden.
I dag tilbydes moderne blandeenheder på markedet, når alle sløjferne på manifolden er slukket. For at pumpen ikke skal gå i tomgang, tilføjes der også en bypass med en bypass -ventil til manifolden. De bruger også en afbryder, som slukker pumpen, når alle sløjfer på manifolden er lukket. Mangel på korrekte elementer kan fremkalde en kortsluttet knude.
Dette er alle tilfælde, hvor kontraventiler ikke er nødvendige. I de fleste andre forhold er brug af kontraventiler ikke påkrævet. Ventiler bruges kun i et par tilfælde:
Tilfælde, hvor kontraventiler bruges meget sjældent, så nu gradvist udfases de..
Årsager til udseendet af luft
Spørgsmålet er logisk: hvordan kommer luften ind i varmesystemet, hvis den er helt forseglet??
Der kan være mange årsager til dette fænomen:
Ovenstående faktorer udtømmer ikke årsagerne til luftning af varmesystemet, men de er de mest almindelige..
Formålet med kontraventilen til opvarmning
Moderne bygninger kan ikke forestilles uden normalt fungerende husholdningssystemer. Når de installeres, ud over hovedkomponenterne, bruger de en sådan type beslag som en kontraventil til varmesystemet. Hvad er det, og hvilken funktionel belastning det bærer?
Behovet for ansøgning
Installation af en kontraventil kan være obligatorisk eller rådgivende. Til industrielle formål er fagfolk engageret i deres installation. Hvad angår beboelsesbygninger og lejligheder, er der flere tilfælde, hvor sådanne indretninger er nødvendige:
Ved installation af en vandmåler
Dette er en forudsætning, uden hvilken det er umuligt at opnå dokumentarisk godkendelse fra vandforsyningsselskaber..
Ventilen tillader ikke vand at cirkulere i den modsatte retning, hvilket kan skyldes en trykforskel inde i rørene.
Under driften af vandvarmere af lagertype
Installation af sådanne fittings på kedler til gas og elektrisk udstyr er obligatorisk ved indløbet til koldt vand.
Til cirkulationspumper
Ved brug af cirkulationspumper installeres ventiler ved stikkontakten.
Dette giver dig mulighed for at undgå ulykker og fejl i systemet, som kan udløses af den omvendte bevægelse af vand i kredsløbet med en svagere pumpe, når kølevæsken forskydes af en mere kraftfuld enhed..
På varmeledningsledningen
På varmereturledningen er ventilen monteret foran selve indgangen til kedlen..
Hvis der sker en ulykke, vil beskyttelsesbeslagene ikke tillade, at kølevæsken lækker ud, og under normal drift af systemet tillader det ikke at bevæge sig i en forbudt retning.
Til nedsænkelige pumper
Desuden bruges sådanne beskyttelseselementer til drift af pumper designet til dybt arbejde for at forhindre vand i at strømme ud af rørledningen, når den ikke er i drift..
Klassifikation
Disse produkter bruges ikke kun i varme- og vandforsyningssystemet, men også i installationen af spildevand og ventilationsudstyr. Ankeret udfører den samme funktion, forskellig i størrelse, form, kropsmateriale, startmetode samt typen af lukker.
Efter fremstillingsmateriale
Ventiler i rustfrit stål betragtes som de bedste. De er dyrere end støbejern, der bruges til rør med stor diameter eller messing, som betragtes som en glimrende mulighed til husholdningsformål..
Men på den anden side adskiller de sig i tidstestet holdbarhed..
Mange moderne producenter fremstiller kontraventiler af flere materialetyper (fjeder – rustfrit, messinghus og plastplade).
Efter tilslutningsmetode
Sikkerhedsventiler kan være af følgende typer:
Kloaksystem
Installation af ventiler til kloaksystemet involverer 2 typer indbinding: lodret og vandret. Det produceres på de punkter, hvor rørene mødes. Når du arbejder, er det nødvendigt at bruge adaptere (fra metal til plast og omvendt).
Sikkerhedsvarmeventiler
Ud over opvarmningsomløbsventilen er installationen af andre typer styre- og beskyttelsesventiler påkrævet for systemets normale drift. Under driften af varmeforsyningen kan der forekomme et overskud af luft, kølemidlets omvendte bevægelse vil forekomme. For at forhindre disse fænomener er det nødvendigt på forhånd at installere en luftventil til opvarmning og retur.
Afhængigt af det funktionelle formål er der to typer sikkerhedsventiler – for at fjerne luft fra systemet og for at forhindre vandbevægelse tilbage i rørene. Uden disse elementer kan systemets drift være ustabil, hvilket vil føre til en overtrædelse af temperaturregimet, destabilisering af tryk og skabelse af nødsituationer..
Installation af sikkerhedsventiler udføres i følgende sektioner af systemet:
Sikkerhedsventiler bør ikke forringe varmesystemets ydeevne. Først og fremmest eliminerer de mulige funktionsfejl i driften af varmeforsyning. I “inaktiv” tilstand bør disse komponenter i systemet ikke forværre kølevæskens bevægelseshastighed, påvirke temperaturen.
For at forhindre et kraftigt trykfald i make-up-enheden skal der installeres en varmeaftapningsventil. Det forhindrer en pludselig trykstigning..
Varme luftventil
Under driften af varmeforsyningen kan der dannes luftlåse i rør og radiatorer. Årsagen til dette er det høje iltindhold i vandet, kølevæskens temperatur er over + 100 ° C. Som følge heraf sker oxidation af metalkomponenter, og temperaturfordelingen ændres. For at undgå disse situationer er det nødvendigt at installere ventiler for at udlufte luft fra varmesystemet..
Luftventilens arbejdsprincip
Først og fremmest er luftventilen til varmeforsyning monteret i sikkerhedsgruppen sammen med et afløb og en manometer. I varmekredsen er de placeret på en lige linje, der fører fra kedlen. På dette sted er den højeste temperatur af kølevæsken, såvel som de maksimale trykindikatorer. I kollektorkredsløbet er det obligatorisk at installere varmeforsyningsafløbsventiler på hver manifold.
Ventilationsåbninger er opdelt i to typer, som hver især er beregnet til installation i visse områder af systemet:
For sidstnævnte model er det vigtigt at overholde driftsbetingelserne. Efter en lang periode med inaktivitet er der stor sandsynlighed for at nogle bevægelige komponenter vil “klistre”, og så fungerer luftventilen ikke. For at undgå dette bør du regelmæssigt inspicere strukturen og om nødvendigt udskifte den med en ny..
De fleste varmeventilmodeller er designet til tryk fra 0,5 til 7 bar.
Fare for luftbelastning
Luften opløst i varmebæreren ødelægger til sidst metalrør og radiatorer samt stålelementer i varmekedlen. Den ætsende virkning af luft, som oprindeligt blev opløst i vand og derefter adskilt under forhøjede temperaturer, er betydeligt højere end atmosfærisk luft på grund af den høje mængde ilt.
Gasserne, der dannes i rørene, begynder ikke kun at fremprovokere eller fremskynde processen med korrosion af metalelementer, men skaber også luftlåse, der forhindrer varmesystemet i at fungere normalt:
Sådan vælges en luftventil
For at vælge en ventil skal du kende betingelserne og funktionerne, som den skal bruges under. Og tag også højde for ikke kun de nyttige kvaliteter, men også ulemperne ved luftventiler. Med håndholdte enheder er den eneste ulempe måske en persons deltagelse i at frigive luft..
Automatiske ventilationsåbninger mangler denne ulempe, men de har en række andre. For det første, når gassen frigives, sprøjter vand ud af apparatets dyse og efterlader spor på udsmykningen af vægge, loft eller gulv. For det andet kan disse enheder forårsage lækage af kølevæske, når flydermekanismen sidder fast. Hvad sker der med langvarig immobilitet, for eksempel i løbet af sommeren.
Derfor er det nødvendigt at tage hensyn til de mulige konsekvenser af brugen af automatiske enheder, når du vælger en udluftning..
Du skal også vide, at foran den automatiske ventil skal du sætte en hane, der giver dig mulighed for at afbryde enheden fra systemet til vedligeholdelse, udskiftning og i tilfælde af funktionsfejl. Desuden kan en sådan ventil bruges til at frigive luft, når systemet fyldes eller kølevæsken tømmes. For at fremskynde denne proces er det nok at skrue ventilen af vandhanen.
Nu vil vi overveje betingelserne for brug af luftfjernelsesenheder. De kan opdeles i tre grupper:
I det første tilfælde bruges kraner med et tværsnit på mindst 15 mm. En hane udstyret med en automatisk ventil kan bruges. Hvorfor ventilen fjernes fra hanen. Og efter afslutningen af processen, sæt tilbage.
Hvilke problemer kan luftventilen løse??
Når du bevæger dig langs konturen, vælger kølevæsken den vej med mindst modstand, og da luftige områder er en alvorlig hindring for passage af opvarmet vand fra kedlen, forbliver batterierne med akkumuleringer af luftmasse kolde eller opvarmes kun delvist. Ud over det faktum, at et sådant fænomen forringer kvaliteten af opvarmning, har det også en skadelig effekt på ydeevnen for alle elementer, der er forbundet til kredsløbet..
Hvis varmesystemet ikke bruger en ventil på radiatoren til at udlufte luft, kan ejeren forvente følgende problemer:
Det skal forstås, at luften i kredsløbet er en alvorlig gene. Og hvordan man kan slippe af med luften i kredsløbet kan findes i vores artikel “Sådan udluftes luft korrekt fra en radiator?” Det har fysiske egenskaber, der adskiller sig fra vand – ved opvarmning udvides det mere og hurtigere. Dette fører til alvorlige ulykker..
Ved at vide, hvordan man korrekt lufter varmesystemet, beskytter ejeren sig selv mod unødvendigt besvær og omkostninger og bringer varmekredsløbets pålidelighed til et nyt niveau..
Hvorfor sker luftningen af systemet?
Luftlåse fører til hurtig slitage af varmesystemet
Luftmasser i rør påvirker driften af varmeudstyr negativt. Jern, der kommer i kontakt med ilt, ruster hurtigere. I nærvær af stik kan kølevæsken ikke bevæge sig helt langs konturen, hvilket gør opvarmning minimal. Luftbobler fører også til nedbrud af cirkulationspumper..
Luftstop kan forekomme af flere årsager:
Hvorfor er luften i varmesystemet farlig?
Luften, der er opløst i kølemidlet, ødelægger gradvist stålrør og radiatorer, elementer i kedelenheden. Den ætsende aktivitet af luft, som først blev opløst i vand og derefter frigivet under opvarmning, overstiger betydeligt parametrene for atmosfærisk luft på grund af det øgede iltindhold.
Gasserne, der er akkumuleret i rørledningen, fremkalder eller fremskynder ikke kun korrosion af metalelementer, men danner også luftlåse, der forhindrer varmesystemet i at fungere fuldt ud:
På grund af gaspropper forringes kølevæskens cirkulation; i alvorlige tilfælde kan væskens bevægelse gennem rørene blokeres fuldstændigt. I en sådan situation afkøles varmeenheder hurtigt..
Luftlåse fungerer som varmeisolator, og hvis der samler sig gasser i den øverste del af batteriet, varmes det værre op og giver mindre termisk energi til rummet.
I nærvær af luftlåse ledsages kølevæskens bevægelse langs varmekredsen af høje gurglelyde og gurgling, hvilket krænker den akustiske komfort i huset.
Cirkulationspumper er ikke designet til at pumpe gasser; når der arbejdes med et luftfyldt kølemiddel, slides lejet og pumpehjulet på pumpeenheden meget hurtigere.
Særlige udluftningsanordninger giver dig mulighed for at løse de problemer, der er forbundet med luftning af varmesystemet
I hvilke tilfælde er der installeret en udluftning på radiatoren
Radiatorer tilsluttes varmesystemet på to punkter. En af dem er indløbet, hvorigennem kølevæsken kommer ind i batteriet, den anden er den udløb, hvorigennem kølevæsken kommer ind i returrørledningen.
I et klassisk varmeanlæg tilsluttes hvert batteri til forsynings- og returrørledninger øverst på radiatoren og i bunden. I dette tilfælde løber rørledningerne lodret, gennem alle etager, ved siden af batterierne. Nogle gange er 2 radiatorer forbundet på et tidspunkt ad gangen. Ved påfyldning af varmesystemet tvinges luft ud af radiatoren gennem den øvre indløbsåbning og siver opad langs den lodrette rørledning. I dette tilfælde er en udluftningsventil ikke påkrævet. Men det vil ikke være overflødigt.
Ved tilslutning af batteriet til et rør placeret på gulvet eller i gulvet i henhold til det nederste ledningsdiagram, vil luft ikke blive tvunget ud af varmeenheden. I dette tilfælde er installation af en ventil på varmebatteriet for at frigive gassen obligatorisk. Først efter fjernelse af luft fra radiatoren, vil enheden blive helt varm. Denne regel gælder for enhver radiator: støbejern, aluminium eller stål..
Vigtigt: Hvis luften i rør- og radiatorsystemet ikke har noget sted at gå ud, skal luftventilen installeres, uanset varmeforsyningssystemet.
Hvor anbefales installationen?
Som nævnt skal en luftudluftningsventil installeres på det højeste punkt i varmesystemet. Men nogle gange skal det installeres i andre områder..
Ved installation af varmesystemet anbefales det at udføre vandrette sektioner med en hældning, 3: 100. Dette fremmer fjernelse af luft til det højeste punkt i systemet til efterfølgende fjernelse. Det er imidlertid ikke altid muligt at overholde denne betingelse. I nogle tilfælde er det nødvendigt at foretage en lokal forhøjning, for eksempel over en døråbning eller ved krydsning med andre ingeniørnetværk. I dette tilfælde er det på det højeste højdepunkt nødvendigt at installere en udluftning på varmeledningen for at udlufte luft under påfyldning og efterhånden som den ophobes..
Hvordan installeres luftaflastningsventiler?
Alle luftventiler er gevindskårne. Til deres installation på rørledningen, på installationsstedet, tilsluttes en nal med den tilsvarende tråd. Dernæst installeres en manuelt styret ventil til udluftning af luft fra varmesystemet..
Hvis du planlægger at installere en automatisk udluftning, skal du først installere en afspærringsventil. Og først derefter selve udluftningen. Dette er nødvendigt for at slukke for den automatiske ventil under reparation og udskiftning eller i tilfælde af lækage..
På varmeapparater installeres luftudluftningsventiler af producenterne. Men om nødvendigt kan du selv installere Mayevsky -kranen. Til dette er radiatoren frakoblet varmesystemet. Stikket er skruet af. Der bores et hul i den. Hvis stikket er tykt nok, skæres der en tråd i det til Mayevskys hane. Ellers indsættes ventilen i det udvidede hul, en pakning installeres på bagsiden for at sikre tæthed, derefter skrues en skive og en møtrik på. Ved montering installeres stikket på plads.
Sådan fjernes luftslusen
For at evakuere gas åbnes den manuelle ventil let til minimumspositionen, indtil lyden af luft eller vand kommer frem. Når der kommer vand, er hanen lukket. For at beskytte nærliggende overflader mod sprøjt kan du bruge en klud, spand, tallerken.
Automatiske ventiler kan frigive luft på egen hånd. Men med jævne mellemrum, en gang om måneden eller når cirkulationen falder, bør de kontrolleres ved at udføre en kontrolnedstigning. Til dette er kontrolknapper installeret på dem. Når der trykkes på knappen, sænkes flyderen. Der er altid en lille mængde gas i flydekammeret, dette er normalt. Hvis der er meget mere luft, kan ventilen sidde fast. Efter et stykke tid er det værd at kontrollere sit arbejde igen..
For at fjerne luftlåsen fra svært tilgængelige steder eller i et område, hvor luftventiler ikke er installeret, skal kølevæskens maksimale strømningshastighed oprettes. Det bevægelige vand vil bryde luftslusen i små bobler og føre dem ud af akkumuleringsstedet. For at gøre dette kan du foretage en delvis dræning af vand, mens efterfyldningen kører eller kølevæsken tilføres ved indgangen til rummet. Dræning skal ske så tæt som muligt på luftningspunktet. Professionelle låsesmede fjerner stik på denne måde gennem afløbet i kælderen, selv i etagebygninger, når der ikke er adgang til den lukkede lejlighed på øverste etage.
Metoder til fjernelse af luft
Luftlåsen kan ikke være permanent et let tilgængeligt sted. Under installations- eller konstruktionsfejl akkumuleres luft i rørene. Det er ret svært at fjerne det derfra. For at gøre dette skal du først identificere korkens placering. På udseendet bliver rørene kolde, du kan også høre murren inde i dem. Hvis der ikke er tydelige tegn, kan du kontrollere lyden af rørene ved at trykke på. I området med overbelastning af en luftlås er lyden højere og mere klangfuld..
Derefter skal luften bortvises. Hvis vi overvejer varmesystemet i et privat hus, skal du øge trykket eller temperaturen for dette. For at øge trykket er det nødvendigt at skrue efterfyldningsventilen og den nærmeste luftudløsningsventil af. Vand vil begynde at strømme ind i varmekredsen, hvilket øger trykket, som tvinger luften til at bevæge sig fremad. Stikket kommer ud, når det kommer ind i afløbsventilen. Når alle luftmasser er helt væk, vil luftventilen stoppe med at hvæse.
Inden du fjerner luft, skal du omhyggeligt læse nuancerne i denne handling.
Dog kan ikke alle luftlommer fjernes på denne måde. I visse tilfælde er det nødvendigt samtidig at øge både tryk og temperatur. Disse indikatorer skal hæves til værdier, der er tæt på kritiske, men de kan ikke overskrides. Hvis luften efter proceduren ikke kommer ud, kan du prøve at åbne en ekstra afløbs- og efterfyldningsventil. Måske vil dette flytte luftslusen..
Hvis problemet vises regelmæssigt i en sektion, er fejlen i den forkerte rørføring eller en fejl i projektet. For ikke hele tiden at lide under opvarmningssæsonen skæres en udløsningsventil ind i problemområdet. Du kan installere en tee i rørledningen og sætte en ventil på den gratis indgang. I dette tilfælde løses problemet yderligere meget enkelt..
Automatisk ventil til forsyningsventilation AERECO:
Typer og designfunktioner af ventiler til opvarmning
I øjeblikket bruges til drift af bypass -ventiler to driftsprincipper, der er forskellige i deres væsen – fjeder og løftestang. Sidstnævnte bruges oftest til store centralvarmeledninger. Overvej detaljerne i arbejdet i hver af dem.
Fjederventiler
Princippet for denne mekanisme er som følger. Væskestrømmen virker på capan -lukkeren, hvis bevægelse er begrænset af en fjeder. Så snart trykværdien overstiger fjederens kompressionskraft, stiger stangen op. Som et resultat kommer kølevæsken ind i udløbet. Efter stabilisering af den interne vandmængde vil fjederen på sikkerhedsventilen til varmekedlen bringe lukkeren tilbage til sin oprindelige position. Som et resultat ophører kølevæskestrømmen med at strømme ind i udløbet.
Fjeder fyldt med plastik eller messingstamme
Denne type er den mest almindelige. Konstruktionen af en fjederbelastet kontraventil er ikke meget mere kompliceret. En skive bruges som et afspærringselement, hvortil en spindel er fastgjort. En fjeder sættes på denne stang. I den “oprindelige tilstand” tvinger fjederen skiven mod husets kanter og blokerer strømmen. Så snart kølevæsketrykket bliver større end trykket i systemet, bevæger skiven sig tilbage og åbner passagen. Trykket falder, afspærringselementet vender tilbage til sin oprindelige tilstand.
Fjederbelastet kontraventil og dens funktionsprincip
En kontraventil af denne type er billigere end et kronblad og en kugleventil, men det er ikke tilrådeligt at installere det i varmesystemer med naturlig cirkulation: det er usandsynligt, at gravitationsstrømmen vil “skubbe igennem” det. Og det indsnævrer tværsnittet kraftigt og reducerer igen systemets effektivitet. Men på returledningen for den indirekte varmekedel eller på systemets tilførselsledning til koldt vand fungerer det meget godt.
Nogle håndværkere ændrer sådanne prøver til naturlig cirkulation. For at gøre dette adskilles de, udskifter standardfjederen med en svagere – så den fungerer ved et lavere tryk. Den anden mulighed er at bygge aktien op. Under alle omstændigheder mislykkes de konverterede kopier ofte – låseskiven forvrænges, hvorefter den ofte sætter sig fast. Som et resultat fungerer systemet ikke normalt i nogen af tilstande. Så ved omløb af cirkulationspumpen bør en sådan mulighed ikke udtrykkes entydigt – hverken “original” eller ændret.
Oventrop SWI (Tyskland) – et af de mest pålidelige mærker, der har få klager
Den fjederbelastede kontraventil fås med messing- eller plaststamme. Hvis man ser på egenskaberne, er der ikke den store forskel. Begge kan bruges ved temperaturer op til 120 ° C. Men der er forskel i pris – tre gange dyrere med en messingstang. Det er op til dig at beslutte, da det vigtigste er et fjeder af høj kvalitet. Men bestanden er også vigtig.
Lever-vægt ventil
Denne type aflastningssikkerhedsanordning bruges til rørledninger med store diametre (fra 200 mm). I den udøver en belastning med en anden masse i stedet for en fjeder en kraft på stangen..
Inden du vælger en sikkerhedsventil til et varmesystem med et lignende design, skal du gøre dig bekendt med detaljerne i dens drift. Først og fremmest er dette en grov indstilling af den kritiske trykværdi. Dette kan gøres ved at ændre massen på yderarmen. På fjedermodeller kan dette gøres ved at dreje justeringshætten. Desuden kan den mindste ændring i trykværdien være 0,2 bar.
Balancering
Enhver CO kræver hydraulisk justering, med andre ord – balancering. Det udføres på forskellige måder: med en korrekt valgt rørdiameter, skiver, med forskellige strømningstværsnit osv..
Formålet med denne enhed er, at den nødvendige mængde kølemiddel og mængden af varme kan leveres til hver gren, kredsløb og radiator..
Ventilen er en konventionel ventil, men med to beslag installeret i messinglegemet, som gør det muligt at tilslutte måleudstyr (manometre) eller et kapillarrør med en automatisk trykregulator.
Funktionsprincippet for balanceringsventilen til varmesystemet er som følger: Drej justeringsknappen for at opnå en strengt defineret strømningshastighed for kølevæsken. Dette gøres ved at måle trykket ved hver dyse, hvorefter antallet af omdrejninger på justeringsknappen i henhold til diagrammet (normalt leveret af fabrikanten til enheden) bestemmes for at opnå den nødvendige vandgennemstrømningshastighed for hvert CO -kredsløb . Manuelle balanceringsregulatorer er installeret på kredsløb med op til 5 radiatorer. På grene med et stort antal varmeenheder – automatisk.
Poppet ventiler
Princippet om betjening af en tæppe -kontraventil er tydeligt fra dets design, vist på tegningen:
Vand, der strømmer i den rigtige retning, overvinder fjederkraften, åbner sædebenet og går videre. I den modsatte retning er strømmen umulig – kanalen lukker straks. Hvilke egenskaber ved en kontraventil er vigtige for varmesystemer:
I ingeniørnetværkene i private huse og lejligheder bruges ventiler med koblingsforbindelser.
Reference. Der er mere kompakte versioner af fjederbelastede kontraventiler, der er installeret mellem flanger. At reducere størrelsen er nyttig, når du installerer rør af kedler i et begrænset rum i ovnen.
Poppet -låse bruges også i vandforsyningsnetværk, for eksempel i forbindelse med nedsænkelige pumper. Ventilen tillader ikke vand fra rørledningerne at løbe tilbage i brønden eller brønden.
Løft ventiler
Et andet ventildesign er meget almindeligt. I den udføres bevægelsen af klappeventilen langs den lodrette akse. Ventilen løftes ved et direkte flow, men sænkes allerede, når den svækkes af sin egen vægt.
Produkterne er kendetegnet ved vedligeholdelse, de er lette at rengøre, og de fungerer ganske pålideligt. Men på samme tid skaber de en øget modstand mod strømmen, og deres installation er kun mulig i et vandret rør (eller i en position tæt på denne position), med en drejning af ventilhuset lige op.
Direkte og indirekte ventil
Trykreguleringsventiler er opdelt i direkte og indirekte enheder.
Inddeling af ventiler efter fastgørelsesmetode.
Plastventiler vil være de billigste, men de er heller ikke praktiske. Det er bedre at sætte amerikanske kvinder og en metalventil på tråden. Det stærkeste og mest holdbare rustfrie stål er tilbage.
Diskartikler
Et særpræg ved produktet er tilstedeværelsen af en sommerfuglventil. Dette er et plast- eller metalelement, hvis dimensioner tillader det helt at blokere kølevæskestrømmen, hvis det begynder at bevæge sig i den modsatte retning..
Skiven er forbundet til en stålfjeder. Med væskens direkte bevægelse er den i en komprimeret tilstand. Når du skifter retning, retter den sig og flytter disken fra sin plads og blokerer derved røret.
Ventildesignet indeholder også en pakning, der gør det muligt for ventilmekanismen at sidde så tæt som muligt i sædet. Derfor er lækage udelukket i apparater, der kan serviceres..
Diskenheder bruges meget i arrangementet af husholdningsvarmesystemer, da de har betydelige fordele:
Af de betydelige mangler er det værd at bemærke den uegnede til reparation. Derfor udskiftes fejlede ventiler med det samme med nye..
En væsentlig ulempe ved skivenheder er betydelig hydraulisk modstand. Diagrammet viser tydeligt, hvordan det opstår. Væsker skal overvinde en forhindring i form af en låseskive
Og en anden ulempe er den betydelige hydrauliske modstand, der skabes af enheden. For nogle systemer, f.eks. En jordvarmepumpe, kan dette være kritisk. Over tid bliver ventilen dækket af et lag med mineralske aflejringer, hvilket fører til fejl i enheden..
Standard skiveventiler genererer en vis stødbelastning, når de lukkes. Dette påvirker ikke deres ydeevne og tekniske tilstand på nogen måde, men der opstår en vandhammer i systemet. Hvad er uønsket for hende.
Uden denne ulempe er skivenheder med en ekstra mekanisme, der giver dig mulighed for at lukke hullet så let som muligt. Deres omkostninger er højere end for standardmodparter.
Manuelle ventilationsåbninger
Ved påfyldning af varmesystemet skal kølevæsken, der kommer ind under tryk, fortrænge al gassen. Til dette, på systemets højeste punkt, er der installeret en ventil til udluftning af luft fra varmesystemet. For at påfyldning kan finde sted på relativt kort tid, skal kranens gennemløb give en fri udgang. Derfor installeres haner med en diameter på mindst 15 mm, og nogle gange mere. Efter påfyldning af systemet lukkes ventilen.
I de første dage med opvarmning frigives gasser meget aktivt fra kølevæsken og akkumuleres. Derfor omgår servicepersonalet dagligt og nogle gange 2 gange om dagen alle luftudløserventiler og frigiver det. Dette kræver en masse låsesmede og tid..
For at reducere lønomkostningerne begyndte de at installere små tanke til opsamling af luft, som blev kaldt luftopsamlere. Traversal kunne nu udføres meget sjældnere, men det var stadig påkrævet.
I moderne huse bruges lejlighedsopvarmningskabler med et lavere rørledningsarrangement i stigende grad. Anvendelsen af et sådant varmesystem giver en række fordele: besparelse af materialer under installationen, varmemåling af lejligheder, temperaturregulering af lejligheden, op til en fuldstændig nedlukning, forbedrer rummets design. Men der er også nogle problemer. Når man fylder et sådant varmesystem, kan luften i batterierne ikke forskydes fra det. Da varmeapparatet er placeret over rørledningen.
Ordninger for et etrørs varmesystem i et privat hus Etrørs varmesystem i et privat hus med bundledninger: diagram
Hygge i huset er ikke kun en smuk ramme, korrekt udvalgte interiørartikler, men også varme, især i vinterkulden. Varme skal leveres konstant, hvilket skaber en behagelig …
Derfor, for at frigive luft, er alle moderne varmeenheder udstyret med en lille udluftningsventil til fjernelse af gasser, navnet er “Mayevsky -kran”. Ved navnet på opfinderen af denne kran. Disse haner åbnes og lukkes kun manuelt. Enhedens princip er enkelt. En skrue skrues i stikket, skærpes i enden på en kegle. Ved to eller tre omdrejninger bevæger keglen sig væk fra hullet og frigiver langsomt luft. Når der vises vanddråber, skrues skruen tilbage og lukker hullet.
Kugleventiler
En metalkugle bruges som lukker i enheder af denne type. Det er fremstillet af aluminium, stål og andre metaller. Elementet er dækket med et lag gummi for at forlænge levetiden..
En sådan lukker fungerer som følger: Når kølevæsken bevæger sig gennem enhedens krop i den ønskede retning, løfter den bolden, som bevæger sig ind i ventilens øvre rum.
Kugleventilen har minimal hydraulisk modstand, derfor bruges den i vid udstrækning i en lang række varmesystemer. Et andet plus er en lang levetid
Så snart bevægelsesretningen ændres, eller strømmen stopper, sænker bolden straks og lukker røret. Således bliver væskens bevægelse i den modsatte retning umulig..
Fordelene ved disse ventiler omfatter:
I betragtning af ulemperne er det værd at bemærke den ret store arbejdsdiameter. Af denne grund er det umuligt at bruge dem i husholdningsrørledninger med små tværsnit..
Kugleventiler er lunefulde, når de installeres på grund af designfunktioner. Når de installeres vandret, skal de placeres med låget opad, ellers kan lukkeren ikke stige for at tillade vandstrømning. Baseret på de samme overvejelser, når du installerer lodret, skal du strengt sikre, at væsken bevæger sig strengt opad..
Kugleventiler vil ikke kunne fungere normalt i rørledninger med lavt tryk. Da den mindste værdi, hvormed kuglen, der lukker åbningen stiger, normalt er 25 bar.
Hovedtyper
Først og fremmest er ventilerne forskellige i diameter. I standarderne for installation af kloakker, der er tilbage fra sovjettiden, er der en diameter på 110 mm for stigerør, og alle andre rør har en diameter på 50 mm. I dag er der vist ikke-standardmuligheder, for eksempel med en diameter på 75 mm, men de er meget mindre udbredt..
Forskellige materialer bruges til fremstilling af afspærringsanordninger. De kan både være metal (bronze, messing, rustfrit eller kulstofstål) og polymer (PVC, polyethylen). Hver af mulighederne har sine egne fordele og ulemper:
Strukturelt er kontrolventiler (eller afløb) også forskellige. De mest almindelige muligheder er:
Valget af en bestemt type enhed afhænger af det budget, der er afsat til reparationen, installationsstedet, typen af rør og de eksisterende forhold..
Lukker af kronblad
Denne type ventil er forseglet med en tynd stålplade. Det fastgøres til en hængselstruktur, der gør det muligt at bevæge sig..
Dobbeltbladet kontraventil er meget pålidelig og kan modstå højt tryk. Men det har samtidig alvorlig hydraulisk modstand, da klappernes svingakse er placeret direkte i midten af passagehullet
Der er to typer kronbladeindretninger. Enkeltblad eller drejelige er udstyret med en plade, der kan rotere rundt om en akse.
Når kølemidlet bevæger sig i en given retning, løfter det rammen og åbner derved passagehullet. Når strømningsretningen ændres, sænkes pladen. Dette kan gøres med eller uden en fjeder..
Sommerfuglventiler er designet lidt anderledes. De har to låseplader fastgjort til drejeakslen og centreret om boringen..
Kølevæsken, der bevæger sig langs varmekredsløbet, åbner begge klapper på kontraventilen med to blade, og når bevægelsesretningen ændrer sig, slår fjedrene pladerne
Fordelene ved at bruge disse ventiler anses for at være følgende:
Af manglerne er det værd at bemærke en temmelig høj hydraulisk modstand. Dette gælder især for dobbeltbladede modeller – drejeaksen er placeret direkte i midten af boringen, hvilket er en væsentlig hindring for en væske i bevægelse.
Af denne grund bruges sommerfuglventiler udelukkende i højtrykssystemer..
Løfteudstyr
Løfteventiler er udstyret med en spole, der kan bevæge sig frit omkring en lodret akse. På det gennemgående hul er der et landingssæde, hvor spolen er placeret.
Når væsken tilføres, hæver dens tryk kraft lukkeren, og den bevæger sig langs aksen og åbner hullet for kølevæskens bevægelse. Så snart strømningstrykket svækkes eller ændrer retning, vil spolen sænke sig ned i sædet.
Liftventilen er kun installeret lodret. Ellers vil varmeoverførselsvæskens tryk ikke være nok til at hæve låsemekanismen
Fordelene ved disse enheder er:
Blandt manglerne er det nødvendigt at bemærke begrænsningerne i installationen. På grund af designfunktionerne kan de kun monteres i en strengt lodret position..
Tyngdekraftsventil til opvarmning
Det kaldes også en krakkerventil, det bruges kun i tyngdekraftsystemer og installeres som regel ved indløbet til kedlen. Består af et metal “kronblad”, der presses tæt mod kanten ved hjælp af en fjeder.
Fjederen i en sådan enhed er temmelig svag og forstyrrer ikke den naturlige cirkulation af kølevæsken, ligesom den næste præsenterede mulighed.
Kobling
Alle produkter, der blev diskuteret ovenfor, var fuldstændig autonome og adlød ikke eksterne påvirkninger, og arbejdede kun i en retning. Men i tilfælde, hvor det for eksempel er nødvendigt at tømme kølemidlet fra rørene, er der behov for en enhed, der gør det muligt at åbne kølemiddelstrømmen i den modsatte retning – bare sådan en enhed er en kobling eller ventilventil.
Valget mellem en kobling og en ventil skyldes oftest netværkets interne arbejdstryk, hvis det er højt, bruges en ventil, hvis det er medium, vil koblingen være nok.
Trevejs varmeventil
For at regulere vandtemperaturen i to-rør og solfangersystemer er der installeret en trevejs blandingsventil i varmesystemet. Det tilsluttes flow- og returrøret.
Princippet for drift af en trevejs blandeventil i et varmesystem er at blande varmt og koldt vand i rørene. Dette giver dig mulighed for at indstille det nødvendige varmemiddelvarmeniveau uden at ændre kedlens driftstilstand..
Den afgørende faktor ved valg af en trevejsventilmodel er et kontrolelement, der kan være af følgende typer:
Ved autonom opvarmning installeres oftest modeller med et elektrisk drev. De kan forbindes til systemets kontrolelementer
Det er vigtigt at indstille blandingstilstanden korrekt for ikke at forringe varmeforsyningsparametrene.
Valg og installation af varmeventiler bør kun udføres efter en nøjagtig beregning af systemet. Som et resultat af dette arbejde bestemmes parametrene for alle komponenter, og på grundlag af disse data vælges de eksisterende modeller..
Justering af drivmekanisme
Trevejsventiler er opdelt i fire typer i henhold til kapacitetstype og flowkontrol:
En manuelt justerbar ventil er den enkleste og mest upålidelige løsning. Når temperaturen på kølevæsken ændres, tilpasser den sig ikke til den.
Den hydrauliske aktuator er udstyret med et stempel fyldt med temperaturfølsom væske. ved opvarmning udvider den sig, og stempelstangen overlapper sædemekanismen.
Termostatiske 3-vejs ventiler er udstyret med en konventionel termostat. De er ikke justerbare og har et smalt arbejdstemperaturområde. Sådanne ventiler er ikke almindelige og bruges til at løse specifikke problemer..
Trevejsventiler med et elektrisk drev (servodrev) er den mest praktiske og almindelige mulighed. De kan justeres til den ønskede temperatur. De er udstyret med en temperatursensor, der giver signaler til elmotoren. Det omdirigerer igen kølevæskestrømmene. Moderne trevejsventiler giver dig mulighed for at justere driftstilstande afhængigt af tidspunktet på dagen.
Elektriske ventiler fås i to versioner. I form af en monoblok, hvor en sensor, en motor og en controller er samlet i et tilfælde og en separat. I sidstnævnte kan controlleren tages separat, hvilket gør det praktisk at installere i varmesystemer i private huse og lejligheder.
Intern organisation
Der er to typer drejeventiler, sæde og roterende. De adskiller sig i intern struktur og type påført kraft til justering..
Den roterende trevejsventil har en kugleventil. Det drejer, blokerer en retning og åbner en anden (se fig). Den indre struktur af en sådan vandhane ligner en kugleventil..
Arbejdsprincip for 3-vejs roterende ventil
Tre-vejs sadelventilen har en spindel med en (i blandingen) eller to (i adskillelsen) afspærringsanordninger (se fig.). De er metalbolde, der passer tæt ind i reden. Når en af dem blokerer strømmen, er den anden helt åben.
Driftsprincippet for en trevejs ventil.
Driftsprincip
3-vejs omskifterventilen regulerer ikke varmemængden. Det fordeler det bare mellem de to tråde. Hvis du øger volumen og hastighed for kølevæsken, der kommer ind i den ene strøm, falder det i den anden..
3-vejs blandeventilen muliggør mere præcis temperaturkontrol. Det producerer kun en strøm af varmebærer, hvor to væsker blandes – opvarmet og afkølet. Justering af en sådan ventil giver dig mulighed for at give den ønskede temperatur.
Trevejs blandeventil
Blandeventilen fungerer som en slags bypass. Det fungerer som følger:
Det tilrådes at installere trevejsblandeventiler i separate kredsløb. For eksempel i gulvvarmesystemet installeres de umiddelbart efter solfangeren..
Installation af en trevejs blandeventil i varmesystemet
Tips til valg og installation
Hvis du har brug for at opretholde en konstant temperatur på varmemediet, er en hydraulisk eller termostatventil tilstrækkelig. Hvis du planlægger at ændre temperaturregimet, er det værd at vælge en elektrisk eller manuelt betjent ventil..
Hvis du har valgt en manuel, hydraulisk eller termostatventil, skal du overveje fremtiden. Du vil måske installere en servo med en controller. Vælg derfor en model med mulighed for at udskifte drevet..
Vær særlig opmærksom på følgende punkter, når du vælger:
Vær opmærksom på følgende punkter under installationen:
Installation af en 3-vejs blandeventil med en jumper i varmesystemet
Producentens vurdering
Det er naturligvis umuligt at svare entydigt på, hvilken producent der laver de bedste trevejsventiler. Hvert produkt har sine egne styrker og svagheder. I denne liste er stedene fordelt efter pris / kvalitetsforholdet.
Poppet ventil
Denne type enhed antager tilstedeværelsen af en disk, der er ansvarlig for overlapning af sektionen i rørledningen i tilfælde af ændringer i forholdene i kredsløbet.
Funktioner ved funktion:
For at forhindre vandstrøm i den modsatte retning installeres et skiveelement af løfte- eller gennemstrømningstype.
Kugleventil
Kugleventiler er kendetegnet ved tilstedeværelsen af en kugle som en aktuator. Til fremstilling af elementet anvendes gummi eller aluminium. Hvis fjederen udløses, når vandstrømmen ændres, overlapper bolden strømningsområdet og falder ned i sadlen. Under den øverste låge bevæger den sig langs en skrå kanal.
Hoppe- og kugleventilerne er designet til installation i et standardvarmesystem. Men i tilfælde af rør med stor diameter garanterer det ikke tilstrækkelig beskyttelse..
Sommerfuglventil
For at sikre en gnidningsløs drift af systemet, hvor der anvendes rør af større størrelser, er en butterflyventil designet. Den er monteret både til levering og retur..
Navnet på denne type enhed skyldes tilstedeværelsen af to fjederflapper, som let åbnes af kølevæsken i tilfælde af normalt tryk i systemet. I tilfælde af en nødsituation forhindrer lukkede klapper vandbevægelse i den modsatte retning.
En særlig akse er ansvarlig for at forhindre forkert cirkulation, krydse strømningsområdet, hvor skærmene er fastgjort. Det menes, at denne ændring af kontraventilen er den mest pålidelige. Enheden er velegnet til højtrykssystemer.
Opvarmning med firevejsventil
Installation af et varmesystem med en firevejsventil:
Tilslutningsdiagrammet for et varmesystem med en firevejsblander består af følgende elementer:
Det installerede varmesystem skal skylles med vand. Dette er nødvendigt, så forskellige mekaniske partikler fjernes fra det. Derefter skal kedlens funktion kontrolleres ved et tryk på 2 bar og med ekspansionsbeholderen slukket.
Det skal bemærkes, at der skal gå en kort periode mellem starten på kedlens fulde drift og dens kontrol under hydraulisk tryk. Tidsbegrænsningen skyldes, at det med et langt fravær af vand i varmesystemet vil tære
Diagrammer – hvordan kontraventiler bruges
I varme- og vandforsyningssystemer installeres kontraventiler i parallelle grene, hvor en omvendt væskestrøm er mulig, når tilstanden ændres i nabolandet.
Det enkleste eksempel: mange kredsløb med pumper fra et rør. Når du tænder for en pumpe, ændres trykket i de nærliggende, – hvor en omvendt væskestrøm er uønsket, er der installeret en kontraventil der..
Mest typiske almindeligt anvendte kontraventilkredsløb.
Sådan installeres en kontraventil til en pumpe
Typer af reguleringsventiler og deres parametre
Typerne af specielle ventiler til styring af varmeforsyningen til radiatoren omfatter:
Listen suppleres med prøveventilregulatorer, der bruges til at skylle batterier og dræne vand. Den samme klasse inkluderer også en kontraventil, der forhindrer kølemidlets bevægelse i den modsatte retning i netværk med tvungen cirkulation.
Indikatorerne, der kendetegner driften af enhver form for afspærringsventiler, omfatter:
For det korrekte valg af afspærringsventilen vil det være nødvendigt at tage alle parametre samlet i betragtning..
Sådan vælges en trevejsventil til et privat hus varmesystem
Nu ved du i hvilke tilfælde visse typer ventiler bruges. Men dette er ikke det eneste valgkriterium, fordi ventilerne har flere metoder til temperaturregulering og forskellige strømningshastigheder. Og fremstillingsmaterialet kan variere. Lad os behandle dette mere detaljeret..
Valgkriterier
Antallet og parametrene for ventiler, der kræves for et specifikt CO, vælges på stadiet af beregninger og design. De vigtigste kriterier, der påvirker valget af disse elementer, er:
Driften af disse enheder stabiliserer CO, gør det effektivt og sikkert. Enhver, der beskæftiger sig med selvinstallation af et varmesystem i et hjem, skal kende formålet og deres funktionsprincip. Alle ventiler kan opdeles efter deres formål i tre kategorier: Sikkerheds-, kontrol- og reguleringsgruppe.
Alle ved, at enhver CO er en øget fare, da kølevæsken i systemet er under pres. Og jo højere temperaturen er, jo højere er trykket (i lukket CO). Overvej derefter de enheder, der er ansvarlige for sikkerheden ved CO
Adskillelses- og blandeanordninger
Visuelt ligner trevejsventilen en tee, men udfører helt andre funktioner. En sådan enhed, der er udstyret med en termostat, tilhører afspærringsventiler og er et af dens hovedelementer..
Der er to typer af disse enheder: adskillelse og blanding.
Den første bruges, når kølevæsken skal tilføres samtidigt i flere retninger. Faktisk er enheden en mixer, der danner et stabilt flow med en indstillet temperatur. De monterer det i et netværk, hvorigennem der tilføres opvarmet luft og i vandforsyningssystemer.
Trevejsventilen bruges både som mixer og som luft- eller varmtvandsfordeler
Produkter af den anden type bruges til at kombinere strømme og deres termoregulering. Der er to åbninger til indgående strømninger med forskellige temperaturer, og en til deres udgang. De bruges ved installation af gulvvarme for at forhindre overophedning af overfladen..
Trevejsventilen og temperaturregulatoren sælges separat. For autonome varmesystemer betragtes det stadig som en mere rationel og effektiv løsning at købe en struktur med en termostat.
Design af trevejsventiler
Ved design er ventilerne opdelt i sadel og roterende. Funktionsprincippet for førstnævnte er baseret på stammens rytmiske bevægelse lodret – justeringsskemaet “stilk -sadel”. Denne type refererer til blandingsventiler. Ofte styret af et elektromekanisk drev.
Nøgleelementet i drejestrukturen er den roterende sektor. Under bevægelse virker stangen på kugleventilen, og den afbryder tilførslen af kølemiddel helt eller delvist. Denne justeringsordning kaldes “kugle-fatning”.
Disse enheder er yderst holdbare. De er tilpasset store temperatursvingninger og klassificeres som afspærringsventiler. I private huse, hvor vand forbruges i relativt små mængder, kan de også fungere som vandhaner..
Et særligt træk ved blandeventilen er tilstedeværelsen af et udløb og to indløb. Det er designet til at styre arbejdsvæskens temperatur ved at kombinere høje og lave temperaturstrømme. Når produktet er korrekt installeret, kan og vil produktet adskille strømme.
Her er driften af en trevejsventil af en sadelblandings- og adskillelsestype vist skematisk
En trevejsventil af en separeringstype bruges, når det er nødvendigt at tilføre et varmt kølevæske i flere retninger..
Alle modeller af sådanne kraner adskiller sig fra hinanden på nogle måder:
Blandeindretningen er udstyret med en centralt placeret spindel; der er kun en kugleventil i den. Det lukker lukkeren for indløbet på det rigtige tidspunkt.
I anordninger af adskillelsestypen er skaftet udstyret med to ventiler monteret i udløbsdyserne.
Det fungerer efter en lidt anderledes ordning. Arbejdet med en trevejsventil bliver tydeligere efter en detaljeret analyse af dens design.
Trevejsventilen består af: hus (1), ventilindsats (2), ventilkegle (3), poleret ventilspindel (4), ventilsæde (5), aflastningskammer (6), pakning af pakninger (7)
Kroppen af denne type produkt er støbt. Den er lavet af messing eller bronze med en forkromet nikkelforzinket belægning. Det udfører både beskyttende og dekorative funktioner. Til tilslutning til rørledningen er der gevindskårne grene – kun tre stykker. Type skrueforbindelse afhænger af den valgte model.
Optimale trykparametre i varmesystemet til stabil ventildrift er 10 kg / cm². Hvis denne værdi overskrides, kan der opstå problemer..
Der er også temperaturgrænser – 95º for kedler, 110º for solpaneler. Den tilladte regulering af kølevæsketemperaturen for forskellige modeller ligger i området 20-60º. Produktiviteten spænder fra 1,6-2,5 m3 / t.
Løfterens højde
I sikkerhedsventiler med lav løft stiger stikket ikke mere end 0,05 af sædediameteren. Åbningsmekanismen i sådant udstyr er proportional.
Det er kendetegnet ved lav båndbredde og det mest primitive design. Lavt løftende udstyr bruges på fartøjer med flydende medium.
Fuld løfteudstyr er udstyret med en to-positions åbningsmekanisme. De bruges til at udstyre ikke kun beholdere med væsker, men også systemer, hvor komprimerbare medier cirkulerer (trykluft, damp, gas)
For fuldløfteanordninger er boltliften højere. Det betyder, at deres kapacitet er meget bedre end den tidligere version, så de er i stand til at aflade større mængder overskydende kølevæske..
Efter svarhastighed
Dækpladen til proportionale aflastningsventiler åbner gradvist. Som regel er åbningsmængden proportional med stigningen i trykket, der udøves på den indre overflade. Samtidig med løft af mekanismen øges mængderne af det udtømte kølemiddel jævnt.
Udformningen af enhederne begrænser ikke mulighederne for deres anvendelse i et komprimerbart medium, men ikke desto mindre hersker de i systemer med vand og anden væske..
Blandt fordelene ved sikkerhedsventiler med en proportionel reaktionshastighed er lave omkostninger, enkelhed i design, ingen selvsvingning, batchåbning på de værdier, der kræves for at opretholde specifikke driftsparametre.
Et træk ved on-off ventiler er øjeblikkelig drift med fuld åbning efter at have nået grænsetrykmærkerne i systemet, hvor sikkerhedslukkeren åbner.
Eksperter anbefaler at bruge disse enheder i komprimerbare medier. Deres største ulemper omfatter tilstedeværelsen af karakteristiske selvsvingninger af lukkeren..
Når man installerer en to-positions ventil i et varmesystem med en flydende varmebærer, skal man huske på, at under en pludselig åbning af lukkeren vil der blive udledt en stor mængde vand..
Dette får trykket til at falde for hurtigt. Ventilen lukker øjeblikkeligt og forårsager vandhammer. Proportional udstyr forårsager ikke sådanne risici..
Funktioner af trevejs nødventiler
Separat er det værd at tale om en enhed, der ikke er så kendt for forbrugerne – en trevejsventil med en manuel eller elektrisk kontakt. Det bruges i varmesystemer med lavtemperatur kredsløb.
Sikringernes design er udstyret med tre huller, hvoraf det ene er indløb og to udgange. Mediumstrømmene styres af en lukker, der er lavet i form af en kugle eller en stilk. Væske i bevægelse omfordeles ved rotationer.
Trevejssikringer er velegnede til kondensering af kedler og i tilfælde, hvor flere forskellige systemer fungerer fra et varmeudstyr
Forestil dig en situation: et varmesystem med et system med konventionelle radiatorer og gulvvarme er implementeret i et hus. De tekniske krav til funktionen af den anden mulighed giver ikke for høje kølevæsketemperaturer.
Kedlen opvarmer vand ved samme temperatur for alle systemer. Under sådanne forhold er der behov for en omfordelingsindretning, hvis opgaver trevejsventilen udfører et fremragende stykke arbejde..
Han er ansvarlig for følgende funktioner:
For ikke konstant at kontrollere medietemperaturen alene, skal du være opmærksom på ventilmodeller udstyret med et servodrev.
Denne enhed drives af en sensor installeret i lavtemperaturkredsløbet. Når temperaturmærkerne ændres, udløses en afspærringsmekanisme, der åbner eller lukker væsketilførslen fra returen.
Tips til valg af den bedste model
Inden man går i gang med et specifikt sikkerhedsudstyr, er det bydende nødvendigt at gøre sig detaljeret bekendt med kedelfabrikkens tekniske egenskaber..
Sikkerhedsventilens funktion afspejles negativt i temperaturer under nul. Derfor er en tilstrækkelig vigtig egenskab for enheden tilstedeværelsen af frostbeskyttelse
Undlad at læse producentens anvisninger, der angiver alle grænseværdier..
Flere kriterier spiller en afgørende rolle for valg af opvarmningsanordning:
Det bør kontrolleres, at trykregulatoren i enheden har et område, inden for hvilket parametrene for en bestemt kedel er inkluderet. Responstrykket skal være 25-30% højere end den driftsindikator, der kræves for stabil systemdrift.
Jo højere driftstryk, desto kortere tid skal enheden tage at køre. Afstanden mellem trykket ved bevægelsens start og når lukkeren åbnes helt, bør være 15% for en nominel værdi mindre end 2,5 atm, 10% for højere parametre
Sikkerhedsventilens diameter må ikke være mindre end indløbstilslutningen. Ellers tillader konstant hydraulisk modstand ikke sikringen at udføre sine umiddelbare opgaver fuldt ud..
Det optimale materiale til fremstilling af udstyr er messing. Det har en lav termisk ekspansionskoefficient, som udelukker ødelæggelse af kroppen fra virkningerne af stærkt tryk.
Kontrolenheden er fremstillet af varmebestandige plastmaterialer, der bevarer den nødvendige stivhed, selv i kontakt med en kogende væske.
Temperaturreguleringsmetode
Lad os starte med manuelle justeringer. Her er stammen forbundet til en ventil eller håndtag, under dem er der mærker, ved hjælp af hvilken temperaturen reguleres. Dette er den enkleste og billigste måde, så nogle mennesker anser det for mere pålideligt. Men jeg tror, at alt afhænger af virksomheden: hvis ventilen er af høj kvalitet, vil den ikke fungere mindre med automatisk justering end med manuel.
Termostatisk.
Hvis en termostat er indbygget i strukturen, kaldes en sådan ventil for en termostatventil. Det konfigureres normalt kun én gang. Derefter vælger han selv stilkens position, baseret på temperatursvingninger. En varmefølsom væske eller gas er ansvarlig for dette: Når temperaturen stiger, udvider de sig og begynder at flytte stammen. Disse ventiler er elektroniske og mekaniske. En trevejsventil med termostat er meget mere praktisk end en manuel, da de fungerer automatisk, men det koster også mere.
Servodrevet.
De mest præcise er trevejsventiler med et elektrisk drev. De har en indbygget termostat, men de styres af en elektronisk enhed, der fungerer på et servodrev. Når temperaturen ændres, sender termostaten et signal til controlleren. Og han styrer allerede drevet, hæver eller sænker stammen.
Jeg synes, det er bedre at vælge den midterste mulighed. Manuel justering er ubelejlig, og den motoriserede ventil er dyr. Og sådan nøjagtighed kræves sjældent i hjemmet..
Temperaturområde og arbejdstryk
Ved valg af en trevejsventil skal temperaturjusteringsområdet også tages i betragtning. For eksempel er en termoblander til gulvvarme normalt indstillet til 30-40 ° C. Selvom denne rækkevidde er den mest behagelige til opnåelse af varmt vand. Det maksimale tryk, som ventilen kan modstå, er også forskelligt. Nogle modeller kan tåle op til 16 bar. Selvom der normalt ikke kræves mere end 6 bar under husholdningsforhold. Generelt reguleres arbejdstrykværdierne for disse enheder af GOST 26349-84.
Ansøgninger
Trevejsventilen, hvis driftsprincip blev diskuteret ovenfor, har en temmelig bred vifte af applikationer. Så dens sorter, såsom en elektromagnetisk enhed eller en enhed med et termisk hoved, findes ofte på moderne motorveje, hvor det er nødvendigt at justere proportionerne ved blanding af to adskilte væskestrømme, men uden at reducere effekten eller volumen..
Med hensyn til husholdningsbrug betragtes den mest populære her som en termostatisk blandeindretning, som du som nævnt ovenfor kan regulere arbejdsvæskens temperatur. Denne væske kan leveres både til gulvvarmerørledningen og til radiatorer. Og hvis ventilen også har automatisk styring, vil det være muligt at styre temperaturen i boligen uden problemer.!
Bemærk! Anvendelsen af en trevejsventil i et varmesystem for at afbalancere temperaturfald er yderst fordelagtig ikke kun hvad angår komfort og bekvemmelighed, men også med hensyn til omkostningsbesparelser.
Faktum er, at ved at regulere væskens temperatur på varmeapparatets “retur”, er det muligt at reducere mængden af brændstofforbrug betydeligt, og dette vil have en positiv effekt på selve systemets effektivitet. I nogle systemer er en ventil simpelthen påkrævet. For eksempel forhindrer denne enhed i et “varmt gulv” -system gulvbelægningen i at blive overophedet over et forudbestemt komfortniveau og derved lindre brugerne for ubehagelige fornemmelser..
Denne type styreenheder bruges også i vandforsyningssystemer for at opnå en permanent strømning ved den krævede temperatur. Det enkleste eksempel er en almindelig mixer, hvor du kan gøre vand varmere / køligere ved at åbne / lukke en kold hane..
Kedel sikkerhedsventil
Tidligere beskrev vi, hvordan man vælger og tilslutter en sikkerhedsventil til en kedel, talte om dens anvendelsesområder og interne struktur. Ud over denne artikel anbefaler vi, at du læser: alle detaljer er her
Andet
Glem naturligvis ikke, at trevejsventiler har forskellige diametre på forbindelsesrørene. De mest almindelige hjemmestørrelser er 1 og ¾ tommer. Tråden kan være intern eller ekstern.
Antallet af liter, der passerer gennem ventilen i timen, afhænger af gennemløbsindikatorerne. Det bør vælges, så ventilen har en koefficient, der er lidt højere end det beregnede resultat. For eksempel, hvis der strømmer 2 m³ i timen gennem systemet, skal der vælges en ventil med en kapacitet på 2,5 m³ i timen..
Men kapaciteten varierer afhængigt af, om ventilen er helt åben eller lidt åben. Forholdet mellem disse indikatorer kaldes det dynamiske område for regulering. Jo højere forholdet er, jo bedre opretholdes gennemstrømningen. Det bedste forhold anses for at være 100: 1, men det er ret sjældent. De mest almindelige indikatorer er 50: 1 eller 30: 1, ventiler med sådanne indikatorer kan trygt tages.
Hvor installeres en 3-vejs ventil, og når det ikke er nødvendigt
Inden du vælger en trevejsventil, er det tilrådeligt at sikre, at det virkelig er nødvendigt. På internettet og i virkeligheden er der faktisk nok rådgivere, der dårligt forstår essensen af spørgsmålet. Så lad os liste de situationer, hvor denne ventil virkelig er nødvendig:
Der er blevet talt meget om kondensat, hvilket fremkalder dannelsen af klæbrige opbygninger på væggene i TT-kedelkammeret, herunder på vores ressource. Det vises under opvarmningsprocessen, når temperaturen i ovnen allerede er høj, og der kommer koldt vand fra varmesystemet. For at undgå dette er forsynings- og returledninger forbundet med en bypass, hvor en 3-vejsventil er installeret. Det tvinger kølevæsken fra kedeltanken til at strømme i en lille cirkel, og først ved opvarmning til 50-60 ° C begynder det at blande vand fra systemet.
Et kredsløb med en bypass og en mixer beskytter TT -kedlen mod kondens og temperaturchok
Vigtig note. Ventilen fungerer som et sikkerhedselement til varmeveksleren i støbejern, hvis en er installeret i din varmegenerator. Forestil dig, at strømmen i huset er slukket i 1-2 timer, hvor radiatornetværket når at køle ned. Uden en mixer vil koldt vand pludselig strømme ind i en forvarmet kedel, når strømforsyningen genoptages. Fra et sådant fald vil støbejern opleve et temperaturchok og kan revne..
System med flere varmekredse, der fungerer i forskellige tilstande
Temperaturregulering i varmekredse med et blandesæt er nødvendig i følgende tilfælde:
Ventilen i varmekredsen regulerer ikke kun fremløbstemperaturen, men tillader også kedlen at opvarme varmeakkumulatoren
Da en varmebærer med en temperatur på højst 50 ° C sendes til varmekredsløbene til gulvvarme, og 85 ° C kan komme fra kedlen, bør den begrænses. Normalt (men ikke altid!) Problemet løses ved at installere en blandeenhed med en 3-vejs ventil på fordelingsmanifolden. Sidstnævnte blander det afkølede vand fra gulvkredsløbene med den “eksterne” varmebærer, der kommer fra kedlen.
Ordningen med forberedelse af vand med den nødvendige temperatur til fodring i gulvvarme -sløjfer
Lad os nu udpege de situationer, hvor køb og installation af en mixer (eller separator) ikke er nødvendig:
Bemærk. I tyngdekraftsystemer anvendes rør med øget diameter DN40— DN50. Det betyder, at de bliver nødt til at købe ikke en almindelig røremixer, men en omfangsrig flange-ventil til en anstændig pris. En sådan beslutning kan ikke kaldes rimelig.
Hvis du er interesseret i, hvorfor det er bedre at vælge RTL -hoveder, og hvordan de styrer gulvvarmekredsløb, kan du se en video fra en erfaren håndværker og vores ekspert Vladimir Sukhorukov:
Installations- og opsætningsregler
Efter at have planlagt selvinstallation af en sikkerhedsventil til opvarmning, bør du forberede et sæt værktøjer på forhånd. På arbejdet kan du ikke undvære justerbare nøgler og skruenøgler, en stjerneskruetrækker, tang, målebånd, silikontætningsmasse.
Inden arbejdet påbegyndes, skal du finde et egnet sted til installation. Sikkerhedsventilen anbefales at monteres på forsyningsrøret nær kedlens udløb. Den optimale afstand mellem elementer er 200-300 mm.
Alle kompakte husholdningssikringer er gevind. For at opnå fuldstændig tæthed ved indskruing er det nødvendigt at tætne røret med slæb eller silikone. Det er uønsket at bruge FUM -tape, da det ikke altid tåler kritisk høje temperaturer.
I den lovgivningsmæssige dokumentation, der følger med hver enhed, planlægges installationsprocessen normalt trin for trin..
Nogle centrale installationsregler er de samme for alle ventiltyper:
Enhedens nominelle diameter vælges på grundlag af metoder udviklet og godkendt af Gostekhnadzor. Ved løsning af dette problem er det klogere at søge hjælp fra fagfolk..
Hvis dette ikke er muligt, kan du prøve at bruge specialiserede online programmer til beregning.
For at reducere hydrauliske tab under trykket af mediet på ventilskiven udføres installationen af nødudstyr med en hældning mod kedelanlægget
Ventilindstillingen påvirkes af typen af spændestruktur. Fjederindretningerne har en hætte. Fjederens forkomprimering justeres ved at dreje den. Justeringsnøjagtigheden for disse produkter er høj: +/- 0,2 atm.
I håndtagsenheder foretages justeringer ved at øge massen eller flytte belastningen..
Efter 7-8 operationer i det installerede nødudstyr slides fjederen og pladen ud, hvorved tætheden kan blive brudt. I dette tilfælde er det tilrådeligt at udskifte ventilen med en ny..
Monteringsregler for fittings
Normalt angiver fabrikanten på kroppen af en trevejsventil vandstrømmens bevægelse med pile. Ved disse referencepunkter kan du også bestemme ventiltypen. Forbindelse til systemet fortsætter som angivet med pilene. Installationsstedet skal være bekvemt til efterfølgende justeringer eller udskiftning i tilfælde af fejl. Til dette er både retur og levering egnet. Men læs instruktionerne omhyggeligt, da ikke alle ventiler kan installeres til forsyning.
Da de fleste ventiler er lavet af keramik indvendigt, tåler de ikke godt snavset vand. Derfor er det bedre at installere et filter foran ventilen. Hvis dette ikke gøres, kan apparatet blive tilstoppet. I nogle tilfælde er det nok at rengøre det, men nogle gange hjælper selv dette ikke. Spar derfor ikke på filtre..
Det elektriske drev bør ikke være placeret i bunden, og mekaniske termostatiske blandere rådes heller ikke til at installere på denne måde, udelukkende lodret. Men jeg vil sige af egen erfaring, at dette i nogle tilfælde er muligt. Og anmeldelser fra nogle ejere bekræfter dette..
Layout af trevejsventilen i varmesystemet
Den enkleste ordning i et system med en fast brændselskedel. Formål: beskyttelse mod kondens og overophedning, opretholdelse af temperaturen i varmekredsen.
Varmeordning med el -kedel og gulvvarme. Hydrosamlere bruges til at adskille varme gulve i flere kredsløb..
Anvendes i rørledninger ved hjælp af en indirekte varmekedel, som giver dig mulighed for at organisere varmtvandsforsyning med en enkeltkreds-kedel.
Generelle installationsretningslinjer
Det vigtigste er i første omgang at sætte ventilen i den korrekte position, styret af instruktionerne angivet med pilene på kroppen. Pegere angiver vandstrømningens vej.
A står for direkte kørsel, B står for vinkelret eller bypass retning, AB står for kombineret input eller output.
Baseret på retningen er der to ventilmodeller:
Når den er monteret langs den første af dem, kommer væsken ind i ventilen gennem endehullerne. Kommer ud gennem midten efter blanding.
I den anden variant kommer en varm strøm ind fra enden, og en kold strøm kommer nedefra. Udløbet efter blanding af væsken ved forskellige temperaturer sker gennem den anden ende.
Ventilinstallationsdiagrammet vist på billedet bruges i varmesystemer, der drives af et trykmanifold
Det andet vigtige punkt ved installation af blandeventilen er, at den ikke må placeres med aktuatoren eller det termostatiske hoved nedad. Inden arbejdet påbegyndes, er forberedelse nødvendig: vand afskæres foran installationsstedet. Kontroller derefter rørledningen for tilstedeværelse af rester i den, der kan få ventilpakningen til at mislykkes.
Det vigtigste er at vælge et sted til installation, så ventilen har adgang. Det skal muligvis kontrolleres eller demonteres i fremtiden. Alt dette kræver ledig plads..
Blandingsventilindsats
Når der indsættes en trevejs blandeventil i et fjernvarmeanlæg, er der flere muligheder. Valget af ordningen afhænger af arten af tilslutningen af varmesystemet.
Når et sådant fænomen som overophedning af kølemidlet i returen ifølge kedlens driftsbetingelser er tilladt, opstår nødvendigvis et overtryk. I dette tilfælde er der monteret en jumper, der kvæler det overskydende hoved. Det installeres parallelt med ventilblandingen..
Dette kredsløb bruges, når varmesystemet er tilsluttet en tyngdekraftsamler. Det er vigtigt at vælge den korrekte installationsmulighed baseret på egenskaberne ved din rørledning.
Diagrammet på billedet er en garanti for højkvalitetsregulering af systemparametrene. Hvis trevejsventilen tilsluttes direkte til kedlen, hvilket oftest er tilfældet i autonome varmeanlæg, kræves en indreguleringsventilindsats..
Hvis anbefalingen om installation af en afbalanceringsenhed ignoreres, kan der forekomme betydelige ændringer i arbejdsfluidens strømningshastighed afhængigt af stilkens position i AB -porten..
Tilslutning i henhold til ovenstående diagram garanterer ikke, at kølevæsken ikke cirkulerer gennem kilden. For at opnå dette er det nødvendigt yderligere at tilslutte en hydraulisk isolator og en cirkulationspumpe til dens kredsløb..
Blandingsventilen er også installeret for at adskille strømningerne. Behovet for dette opstår, når det er uacceptabelt at isolere kildekredsløbet fuldstændigt, men det er muligt at omgå væsken i returen. Oftest bruges denne mulighed i nærvær af et autonomt fyrrum..
Balanceringsventilen er installeret i sektionen af rørledningen til trevejsventilen forbundet til porten markeret med symbolet B. Dens hydrauliske modstand skal være identisk med kedlens.
Vær opmærksom på, at der kan forekomme vibrationer og støj på nogle modeller. Dette skyldes inkonsekvente strømningsretninger i rørledningen og blandingsartiklen. På grund af dette kan trykket over ventilen falde under det tilladte.
Båndbreddeberegning
Det vil ikke fungere ganske enkelt at vælge en trevejsventil i henhold til diameteren på varmeenhedens grenrør eller forsyningsrørledningen. Faktum er, at i processen med automatisk regulering skaber elementet en variabel hydraulisk modstand, som skal overvindes af cirkulationspumpen for at sikre den nødvendige strømningshastighed for kølevæsken. Ved beregning vælges ventilen på en sådan måde, at den passerer den nødvendige mængde vand på forskellige positioner af stilken.
Hovedkonstruktionskarakteristikken for enhver 3-vejsventil er den nominelle kapacitet, angivet med bogstavet Kvs og udtrykt i m³ / h. Denne værdi, angivet i produktpasset, afspejler mængden af koldt kølevæske, der passerer gennem en helt åben ventil på 1 time. I dette tilfælde er trykfaldet i sektionen før regulatoren og efter det 1 bar.
Eksempel. Hvis bare en sådan mængde vand ledes gennem en trevejsventil med Kvs = 1,6 m³ / h i en time, vil trykfaldet (hydraulisk modstand) være 1 bar eller 10 m vandsøjle. Dette er for meget for varmesystemet i et privat hus, derfor tages der i beregningerne et reelt trykfald-0,15-0,2 Bar (1,5-2 mWC).
For at vælge en reguleringsventil til gennemstrømning skal du først bestemme strømningshastigheden for kølevæsken, der strømmer gennem den regulerede ledning. Følgende formel bruges:
Her:
Eksempel. Huset med et areal på 100 m² er planlagt opvarmet med gulvkredsløb, hvilket skal give en varmeoverførsel på 10 kW. Derefter skal fordelingsmanifolden forsynes med G = 0,86 x 10/10 = 0,86 m³ / t kølevæske.
Det næste trin er at beregne den reelle koefficient K for blandingsventilens gennemstrømning under hensyntagen til trykfaldet over det 0,2 Bar ved formlen:
For det samme eksempel vil værdien af K være lig med 0,86 / √0,2 = 0,86 / 0,45 = 1,9 m³ / t. Åbn derefter kataloget over den valgte ventilproducent og vælg fra linjen en trevejsventil, hvis Kvs er lig med eller større end den opnåede værdi. Tag det kendte Danfoss-mærke, og vælg fra VRB3-produktserien en ventil med DN15 dyser og Kvs = 2,5 m³ / t. Den tidligere betegnelse i serien er 1,6 m³ / t, hvilket klart ikke er nok i vores tilfælde..
Til reference. Som regel anvendes kedler til fastbrændsel og gulvvarme, der er arrangeret i private huse, trevejsventiler med en nominel diameter på DN15-DN25, ikke mere. Men deres båndbredde skal beregnes. Derudover er det efter valg af elementet tilrådeligt at kontrollere hastigheden af det flydende kølevæske, som beskrevet i den næste video:
Nuancerne ved at vælge en enhed
Følgende retningslinjer er almindelige, når du vælger en passende 3-vejsventil:
Nøglepunktet er de tekniske parametre i systemet, hvor det skal installeres. Følgende egenskaber tages i betragtning: trykniveauet, kølevæskens højeste temperatur ved installationen af enheden, det tilladte trykfald, vandmængden, der passerer gennem ventilen.
Kun en ventil i korrekt størrelse vil fungere godt. For at gøre dette skal du sammenligne ydelsen af dit VVS -system med enhedens gennemgangskoefficient. Det er obligatorisk mærket på hver model..
For værelser med begrænset areal, f.eks. Et badeværelse, er det irrationelt at vælge en dyr ventil med en termoblander.
På store områder med gulvvarme kræves en enhed med automatisk temperaturkontrol. Retningslinjen for valg bør også være produktets overensstemmelse med GOST 12894-2005.
Omkostningerne kan være meget forskellige, alt afhænger af producenten.
I landhuse med en installeret fastbrændselskedel er opvarmningsordningen ikke særlig kompliceret. En trevejsventil med et forenklet design er fint her..
Det fungerer autonomt og har ikke et termisk hoved, sensor eller endda en stang. Det termostatiske element, der styrer dets drift, er indstillet til en bestemt temperatur og er placeret i huset.
Udvælgelsestip
En uvidende husejer, der beslutter sig for at kigge kataloget over et velkendt firma på jagt efter en trevejsventil, kan blive forvirret af antallet og sortimentet af tilbudte produkter. For at hjælpe dig med at vælge den rigtige ventil fra en lang række produkter, vil vi give dig et par anbefalinger, der starter med en liste over mærker, hvis kataloger overhovedet er værd at åbne. Her er en liste over kendte mærker, hvis produkter er troværdige:
3-vejs termisk ventil blev ikke opfundet i går. På billedet – et produkt fra ESBE -virksomheden, prøve 1935
Til reference. De børsnoterede selskaber sælger et stort udvalg af armaturer til varmesystemer, herunder tovejs-, sikkerheds- og firevejsventiler, elektromagnetiske spjæld og termostater. Fra producenterne i de post-sovjetiske lande kan vi anbefale produkterne fra mærket Valtec (Valtek).
Nu er den vigtigste blok af anbefalinger:
To sidste anbefalinger
Da vi har præsenteret en forenklet metode til beregning og valg af en 3-vejs ventil efter kapacitet, anbefaler vi på det kraftigste at rådføre sig med kyndige mennesker om dette. Hvis dette ikke er muligt, skal du købe en ventil med en margin, uanset prisen. Der er en anden mulighed: aftale med sælgeren om en mulig udskiftning af produktet, hvis det ikke passer.
Hvis du har brug for at installere vandvarme i et stort sommerhus opvarmet af et radiatornet og gulvvarme, og det er planlagt at levere varmt vand fra en indirekte varmekedel, så vil du ikke kunne undvære hjælp fra erfarne specialister. Du bliver nødt til at lave fra 4 til 10 justerbare grene, for hver af dem skal du beregne og vælge en trevejsventil og derefter afbalancere deres arbejde i komplekset.
Gulvvarmeordning med trevejsventil
Når der er en forståelse af, hvad en trevejsventil er, og hvad dens arbejde består af, kan du overveje forskellige tilslutningsordninger afhængigt af elementets formål og rolle i opvarmning af huset..
Installation af en termoblandeventil udføres i følgende tilfælde:- For at beskytte kedlen med fast brændsel mod kondens og temperaturchok efter pludselige strømafbrydelser.
- Kølevæsken i gulvvarmekredsløbene må ikke opvarmes til mere end 45 ° C, som leveres af en blandeenhed med en trevejsventil.
- For at opretholde den nødvendige kølevæsketemperatur i forskellige dele af systemet.
- For at beskytte fastbrændselsvarmeenheden mod kondensdannelse er det umuligt at tillade kølet vand fra radiatornetværket til kedeltanken under opvarmningen..
Til dette bruges følgende kedeltilslutningsdiagram med en bypass og en trevejs blandeventil:
Kredsløbet fungerer sådan. Indtil varmegeneratoren er blevet varm, cirkulerer vandet i en lille cirkel gennem bypass. Når kølevæsken i returledningen varmer op til 50-55 ° C, begynder ventilen at åbne og blander det kolde kølevæske fra systemet. Når varmelegemet går i driftstilstand, lukkes bypass, og hele strømmen går gennem radiatorerne.
I gulvvarmesystemet udfører dette element de samme funktioner. Cirkulationspumpen driver kølevæsken langs varmekredsløbene, indtil den begynder at køle af. Så snart dette sker, fungerer sensoren og det termiske hoved, hvorefter trevejsventilen tilføjer varmt vand fra kedlen til det lukkede kredsløb.
Sådan installeres gulvvarme -manifold, pumpe og ventil korrekt med egne hænder er vist i diagrammet:
Det næste eksempel på brug og tilslutning af denne vigtige del er rørføringen af en varmegenerator til fast brændsel og en buffertank, som er en varmeakkumulator..
For at varme det op hurtigt hurtigt nok skal temperaturen på det medfølgende kølevæske være fra 70 til 85 ° C, hvilket slet ikke er nødvendigt i radiatorvarmesystemet. Trevejsventilen installeret bag tanken sammen med en separat cirkulationspumpe hjælper med at sænke den..
Vigtig. Når du installerer blandeventilen, skal du huske, at pumpen skal være placeret på den side, hvor den altid åbne forbindelse af trevejsventilen er placeret..
Det komplekse varmesystem i et stort sommerhus kan få mange forbrugere forbundet ved hjælp af en hydraulisk pil og et fordelingsmanifold.
Desuden er det i hvert af kredsløbene nødvendigt at levere et kølevæske med en anden temperatur. Det højeste er nødvendigt for en indirekte varmekedel, derfor er der ingen reguleringsventiler på forsyningen til den. Resten af forbrugerne har brug for et koldere kølevæske, og derfor er de forbundet via trevejsventiler.
Afhængig af strømningsretningen fås den termostatiske ventil i to modeller:- T-formet eller afbalanceret kredsløb. Med denne forbindelse kommer varmt og koldt vand ind gennem sidehullerne, og efter blanding strømmer væsken ud gennem den centrale passage.
- L-formet eller asymmetrisk kredsløb. I dette tilfælde kommer varmt vand fra den ene side, og koldt vand kommer nedefra. Efterfølgende forlader det blandede flow fra det andet sideslag.
Trevejs blandingsventiltilslutningsdiagram.
Der er installeret en blandeventil udstyret med en termostat, hvis det er nødvendigt for at sikre en stabil temperatur af kølevæsken.
I betragtning af blandeenheden kan følgende komponenter skelnes i den:- Kontraventil;
- temperatur måler;
- cirkulationspumpe;
- blanding af trevejsventil.
Blandeenhedsdiagram til gulvvarme
Tilslutningsdiagrammet indeholder en cirkulationspumpe monteret på forsyningen. Derefter installeres en temperatursensor, som er nødvendig for at bestemme opvarmningsgraden for det indgående vand..
Dette efterfølges af en termostatventil. Der er monteret en kontraventil med et udløb på “returen”, som er forbundet til røret med cirkulerende afkølet væske, rettet mod blandeventilen.
Med et lignende tilslutningsskema bevæger kølemidlet sig langs følgende rute:- Pumpning af varmt vand ved hjælp af en cirkulationspumpe i gulvvarmesystemet. Kølevæsketemperaturen kan nå 80 ° С.
- Blandes med koldt vand ved at passere gennem en trevejsventil. Som et resultat nås den ønskede temperatur.
- Fordeling af kølevæsken gennem rørene på det varme gulv.
- Retur af afkølet vand til “returledning”, hvorfra det tages ind i en trevejsventil til efterfølgende blanding med varm væske.
Med en sådan forbindelse styrer temperatursensoren graden af opvarmning af vandet, der kommer ind i vandkredsløbet. Der er også andre måder at kontrollere det på. Den mest ineffektive er den manuelle metode, når det er nødvendigt at ændre strømmen ved at dreje håndtaget.
Der er en variant af kontrol ved hjælp af en servo, hvis kommandoer modtages fra controlleren i overensstemmelse med de signaler, der modtages fra sensorerne.
Sammensætning baseret på trevejsblanding og termostatventiler til gulvvarme.
Den termostatiske ventil spiller en vigtig rolle i installationen af en vandgulvvarme. Ved at forhindre overophedning af kølevæsken i rørene sparer det brændstof. Derudover er sikkerheden sikret under driften af et ret komplekst varmesystem, og perioden med problemfri service forlænges..
Installationsdiagram over en trevejs separationsventil
Giver kvantitativ kontrol hos forbrugeren – ved at ændre kølevæskens strømningshastighed. Det bruges, hvis det i henhold til varmekildens driftsbetingelser er tilladt at omgå kølevæsken til returledningen, og ophør af cirkulation i kildekredsløbet ikke er tilladt..
Denne trevejsventilinstallationsordning har været meget udbredt i vand- og luftvarmeenheder, der er forbundet fra et autonomt fyrrum. For at forbinde de hydrauliske kredsløb skal hovedtabet ved balanceringsventilen i bypasslinjen være lig med hovedtabet hos forbrugeren.
Dette trevejs ventilinstallationsdiagram er beregnet til tilslutning til en rørledning med overtryk. Kølemidlets cirkulation i forbrugerkredsløbet er tilvejebragt på grund af det overtryk, som cirkulationspumpen skaber i varmekildens kredsløb.
Installationsdiagram over en trevejs separationsventil
Installationsdiagrammer over en blandings trevejsventil til adskillelse
Giver kvantitativ kontrol hos forbrugeren ved hjælp af en 3-vejs blandeventil. Det bruges, hvis det i henhold til driftsbetingelserne ikke er tilladt at afslutte strømmen i kildekredsløbet, og kølevæskens bypass fra forsyningsrørledningen til returen er acceptabel.
Lignende ordninger til tilslutning af trevejsventiler bruges i vid udstrækning i rørføring af luftvarmere og luftkølere samt vandvarmeanlæg installeret i autonome fyrrum..
Det anbefales at installere en balanceringsventil med hydraulisk modstand svarende til forbrugerens på blandingsrøret i trevejsventilen. Cirkulation gennem forbrugeren og bypass udføres på grund af overtrykket i kildekredsløbet.
Med det korrekte valg af ventilen og hydraulisk forbindelse af bypass med forbrugskredsløbet er strømmen gennem varmekilden konstant og i forbrugerkredsløbet – variabel.
Tilslutningsdiagram for en blandende trevejsventil til flowadskillelse til et trykmanifold
Da vandstrømmen bevæger sig i den modsatte retning af strømningsretningen i blandeventilen, kan støj og vibrationer øges på nogle ventiler samt et fald i det tilladte trykfald over ventilen..
Installationsdiagram over en trevejs blandeventil til adskillelse til en hydraulisk kontakt Ved tilslutning af en enhed med en trevejs adskillelsesventil til en varmekilde direkte eller i en ikke-trykmanifold manifold, skal der installeres en cirkulationspumpe i forsyning eller retur rør. Pumpen kan deles af flere kredsløb.
Tilslutningsdiagrammet for en trevejsventil, der deler strømmen, med en ekstra bypass i forbrugerkredsløbet, parallelt med blandeledningen, bruges, forudsat at kildens temperaturregime overstiger forbrugerens temperaturregime.
Det særlige ved denne ordning er, at omkostningerne i kilden og forbrugerens kredsløb vil være konstante, og det overophedede kølevæske kommer ikke til forbrugeren. Forbrugeren får kvalitetsregulering. For at denne ordning fungerer, er det nødvendigt at installere en pumpe i forbrugerkredsløbet og i kildekredsløbet..
Trevejs blandeventil med termisk hoved
Den termostatiske ventil garanterer systemets praktiske og effektivitet. Trevejsventiler til opvarmning er designet til at regulere varmestrømmen, hvilket sikrer indendørs komfort og økonomisk brug.
Inden man fortsætter med designet af varmesystemet, udføres en termisk beregning. Baseret på dets resultater vælges en passende effekt og type varmeenheder, der kan opretholde et optimalt temperaturregime i rummet..
Rummets areal tages i betragtning, hvorefter eventuelt varmetab analyseres. På baggrund af dette beregnes varmesystemets kapacitet, hvilket er nødvendigt for at skabe et behageligt mikroklima i værelserne. Herefter udarbejdes en varmebalance for alle rum..
Disse beregninger foretages dog under særlige forhold, der kan ændre sig under drift..
Faktorerne, der påvirker radiatorens funktion, er forskellige:- temperaturen falder udenfor;
- sol Aktivitet;
- vindstyrke;
- tilstedeværelsen af husholdningsapparater, der genererer varme.
Som følge heraf forstyrres den beregnede temperaturbalance, og det bliver varmt i rummet. Det er imidlertid umuligt at fjerne dele af radiatoren fra rummet eller overdøve varmestrålingen. Det bliver således nødvendigt at styre energien, der genereres af varmeindretninger for at opretholde et behageligt mikroklima i rummet..
Der er to måder at regulere den energi, der frigives af radiatoren:- Kvalitativ ændring i radiatorens egenskaber.
- Kvantitativ regulering af den genererede varme.
- I begge tilfælde er manipulationer med væsken, der cirkulerer gennem rørene, nødvendige..
Hvis du ikke kan påvirke temperaturen på vandet, der kommer ind i radiatoren, kan du justere mængden. Til dette er det nødvendigt at købe trevejsventiler til opvarmning med en termostat.
Disse enheder giver dig mulighed for at begrænse mængden af vand, der passerer gennem radiatoren, og som følge heraf vil der med samme område af batteriet komme mere eller mindre varme ind i rummet, naturligvis inden for de grænser, der begrænses af effekten af systemet..
Trevejs blandeventil med termostat
Trevejsventilen til varmesystemet og temperaturregulatoren installeret på radiatoren kan bruges separat, men i autonome varmesystemer i moderne lejligheder og private sommerhuse bruges ofte en kombineret metode til at øge effektiviteten.
Det er således tilrådeligt at købe en trevejsventil til opvarmning med en termostat..
Det er vigtigt at tage højde for, at funktionsprincippet for trevejsblandeventilen giver dig mulighed for kun at øge eller reducere radiatorens temperatur inden for de fastsatte grænser. Disse grænser dikteres af de tekniske egenskaber ved den termiske enhed, nemlig værdien af dens maksimale varmeoverførsel og afhænger af hver specifik radiator.
Hvad er en sikkerhedsventil til??
Noget af dette er allerede blevet nævnt i den indledende del af artiklen. Det er enkelt – med en stigning i temperaturen i varmesystemet (når kedlen er i drift) har kølevæsken en tendens til at ekspandere.
Dels lykkes det – bare til sådanne formål er der en ekspansionsbeholder til rådighed i ethvert system. Og i vores tid begyndte systemer hovedsageligt at blive fremstillet af en lukket type, det vil sige med en forseglet ekspansionsbeholder af en membran- eller ballontype..
I sådanne tanke er der et luftkammer, som er forpustet med et bestemt tryk. Under indflydelse af kølemidlet, der udvider sig i volumen (og det er den eneste måde til fri ekspansion), trækker luftkammeret sig sammen, trykket i det og i systemet som helhed øges.
Hvad er bypassventilen i rørledningen til?
Under driften af et varme- eller vandopvarmningssystem kan arbejdsmediets volumen ændre sig. En stigning eller et fald i kølevæsketrykket påvirker varmekredsløbets ydelse negativt: det kan føre til ujævn opvarmning, luftning af systemkomponenter og sammenbrud. En ændring i arbejdsmiljøets tryk påvirker også komforten: temperaturen i lokalerne ændres ukontrollabelt, og rørene begynder at nynne og vibrere
For at forhindre, at dette sker, er det vigtigt at opretholde en trykbalance i rørledningen.
Det er ikke svært at konstant overvåge trykket, bløde eller tilføre kølevæske manuelt, men det er bedre at overlade dette rutinemæssige arbejde til automatiseringen.
Der er flere typer styreventiler, der gør dette job bedre end mennesker..
Bypass- eller overløbsventil giver dig mulighed for at stabilisere trykket i rørledningen ved at omdirigere arbejdsvæsken gennem en ekstra gren af rørledningen, kaldet en bypass.
Regulering sker ikke ved en enkelt eller periodisk blødning af overskydende kølevæske, men i portioner, på grund af hvilke trykket af væsken eller gassen konstant opretholdes på samme niveau.
Enheden kan og bør være udstyret med rørledninger af enhver kompleksitet, men mest af alt har de brug for at justere trykket:
fler -kredsløb varmesystemer – i tilfælde af nedlukning af et af kredsløbene reduceres forbruget af kølevæske og trykket øges, hvilket kan forårsage brud på rørledninger, overbelastning af pumpen og varmegenererende enhed – for at undgå dette skal du reducere pres og opretholde det på det ønskede niveau;
varmesystemer udstyret med termostater og varmtvandsforsyningssystemer – ved indstilling af temperaturen ændres mængden af den forbrugte varmebærer, og du skal hurtigt genoprette trykbalancen i kredsløbet;
vandforsyningssystemer udstyret med vandvarmere af lagertype – vand er under højt tryk i kedlen og rørledningen, og da mængden af den leverede væske ændres fra konstant justering og hyppig til- og frakobling af vand, er det især vigtigt at regulere arbejdsmediets tryk, så der ikke sker en ulykke, og vandvarmeren er gået i stykker.
Hvorfor har du brug for batteriventiler
Ventiler er også installeret på radiatorer og batterier i kredsløbet, men deres hovedfunktion er at fjerne luft fra systemet.
Den installerede ventil til radiatoren kan være manuel eller automatisk. Manuel ventil åbner og lukker manuelt med en nøgle og en skruetrækker.
Den automatiske ventil på varmebatteriet kræver ikke menneskelig indgriben. Det fjerner luft perfekt, men dens største ulempe er dens følsomhed over for tilstopning på grund af forurening af kølevæsken. For at fjerne opløst luft fra kølevæsken og rense den for snavs og slam anbefales det at installere luftudskillere.
Sådan vælges en aflastningsventil
På bekostning af køb og installation er en traditionel sprængventil naturligvis billigere end temperaturindretninger. Det vil let beskytte et lukket varmesystem, der er tilsluttet en gas-, diesel- eller el -kedel, fordi de i tilfælde af en ulykke stopper opvarmningen næsten øjeblikkeligt. En anden ting er en træfyret og kulfyret varmegenerator, som ikke er i stand til at slukke med det samme..
Følg disse retningslinjer for at vælge en termisk aflastnings- eller overtryksventil:
Råd. Lad være med at købe billige sikkerhedsbeslag fra Kina. Det er ikke kun upålideligt, det lækker også efter den første eksplosion..
Ud over modeller med faste indstillinger er der ventiler til salg med mulighed for justering. Hvis du ikke er professionel inden for opvarmning, bør du ikke købe dem, og der er ikke noget særligt behov..
Element med fjernbetjeningssensor
Produktet er den samme fjedermekanisme indbygget i et hus med to dyser til tilslutning til forsyningsledningen og udledning til kloakken. Stangen, der åbner pladen og stien til kølevæsken, sættes i gang med bælge (2 grupper – hoved og reserve). Når vandet overophedes (fra 95 til 100 ° C), presses det af en temperaturfølsom væske, der kommer fra sensorkolben gennem et kapillarrør. Udformningen af sikkerhedselementet er vist i figuren:
Temperaturventilen er inkluderet i rørledningen til fastbrændselskedlen på tre måder:
Den første ordning, vist nedenfor, bruges til varmesystemer med dobbelt kredsløb, der opvarmer vand til varmtvand. Når sensoren, der er monteret under kabinettet af TT-kedlen, virker på mekanismen, tømmes varmt vand fra kredsløbet i kloakken, og dets plads indtages af koldt vand fra vandforsyningen. Uanset årsagerne til ulykken vil et sådant gennemstrømningssystem hurtigt afkøle kedlens kappe og forhindre konsekvenserne..
Varmtvandsbatteriet i en dobbeltkredsløbskedel kan fungere som både en varmelegeme og en køler i tilfælde af overophedning. For beskyttelse er det nok at tilslutte en termisk ventil i henhold til ordningen
Bemærk. Publikationen anvender ordninger fra mærket CALEFFI, hentet fra producentens officielle ressource.
Den anden ordning er for varmegeneratorer med en indbygget nødvarmeveksler til køling i tilfælde af overophedning. Sådanne enheder produceres af europæiske mærker Atmos, Di Dietrich og andre..
For et eksempel på tilslutning af et spildelement gennem en standard varmeveksler, se videoen:
Sidstnævnte ordning implementeres kun i forbindelse med et automatisk efterfyldningssystem, da ventilen her udleder kølevæsken og ikke kølevandet..
Som du kan se, tillader producenten installation af to nødudstyr – tryk (sikkerhedsgruppe) og temperatur (aflastningsventil)
Advarsel. Det anbefales ikke at bruge automatisk make-up til brændeovne med en støbejerns brandkasse. Sidstnævnte er bange for temperaturændringer og kan revne fra tilførsel af en stor mængde koldt vand til retur.
Vanddrevne kombinationsventiler
Denne markante repræsentant for nødbeslag ligner hvad angår princippet om arbejde med bypassventiler og udfører 3 funktioner på én gang:
Ovenstående billede viser produktets design, hvor det kan ses, at der er installeret 2 plader på en stang, der samtidigt åbner 2 passager: det kogende kølemiddel udledes langs det første, vand strømmer langs det andet i den modsatte retning og fylder tab. Tilslutningsdiagrammet for den kombinerede bypassventil med en fastbrændselskedel ser således ud:
Bemærk. Hvis det er nødvendigt at bruge en lignende enhed til afkøling af en TT-kedel med en støbejerns varmeveksler, skal strømmen organiseres gennem en åben ekspansionsbeholder eller en indirekte varmekedel.
Omløbsventilen med et tredobbelt udløb fungerer efter det samme kombinerede princip, kun den er indbygget direkte i kølevæsketilførselsledningen nær varmeenheden. Bælgen er placeret i den del af kroppen, der er placeret i røret. Udledningen udføres gennem det nedre grenrør, og vandforsyningen og påfyldningsledningen er forbundet med de to øvre. Sådanne produkter bruges, når der mangler ledig plads i fyrrummet..
En sådan aflastningsventil er designet til at blive installeret i forsyningsledningen
Fælles drift af ventilen og ekspansionsbeholderen
Ekspansionsbeholderen i varmesystemet er designet til at stabilisere trykket. Men det er en fejl at tro, at en sikkerhedsventil ikke er nødvendig med en sådan tank. Tanken fungerer muligvis ikke korrekt, bare være løbet tør for luft.
En anden fejl er den modsatte opfattelse, at ventilen kan overtage ekspansionsbeholderens funktioner – slip trykket, så snart det er lidt øget. Denne enhed er strukturelt ikke designet til flere operationer, og efter flere udladninger vises en konstant lækage gennem den …
Sikkerhedsventilen er kun designet til at fungere i tilfælde af en nødstigning i trykket, over normen, hvorefter personalet skal træffe foranstaltninger for at fjerne årsagerne til en sådan situation.
Hvornår fungerer ventilen normalt?
Der er fire typiske situationer, hvor en ventil udløses ved opvarmning.
Hvad reglerne kræver
Fra standarderne kan du finde ud af, at på vej til ventilen fra varmeveksleren bør der ikke kun være afspærringsanordninger, men også reguleringsanordninger samt en rørledning med en mindre diameter end selve ventilen. Trykindstillingen skal være 15 til 25% højere end væskens arbejdstryk. Svarstærsklen bør kontrolleres mindst en gang om året under rutinemæssig systemvedligeholdelse ….
Enhedsmærkning
Sikkerhedsventiler er underlagt obligatorisk mærkning. Følgende anvendes på sikkerhedsventilhuset:
Typeskiltet er normalt fastgjort til ventilkappen eller til ydersiden af udløbsflangen.
Diameter
Diameteren på trykaflastningsventilen i varmesystemet må ikke være mindre end tilslutningsrørets tilslutning. Ellers vil konstant hydraulisk tryk forstyrre mekanismens funktion..
Ventil driftsbetingelser
Efter kontrol og revision justeres ventilerne og undergår den nødvendige justering til det angivne tryk. Derefter forsegles enheden. Installation uden forsegling er strengt forbudt. Alle sikkerhedsventiler har et teknologisk pas eller “operationskort”.
Sikkerhedsventilers levetid er direkte afhængig af korrekt drift og vedligeholdelse. Ofte opstår der under drift forskellige fejl..
Blandt dem er sådanne almindelige fejl:
En lækage er kendetegnet ved en lækage i arbejdsmediet. Det opstår, når sælerne er beskadiget, og fremmedlegemer rammer dem. Og også når fjederen er deformeret. Elimineres ved at blæse, lappe, udskifte fjederen, installere eller justere ventilen korrekt.
Krusning – for hyppig åbning / lukning. Forekommer med en indsnævret sektion eller høj gennemstrømning. Problemet elimineres ved korrekt valg af de nødvendige parametre.
Beslaglæggelse under drift opstår som følge af fejljustering under montering. Elimineres ved mekanisk behandling og yderligere korrekt montering.
Opbevaringsbetingelser
Instrumentets opbevaringssted skal være i et tørt, lukket område. Enhederne er placeret i en opretstående position på specielle puder. De placeres i kasser eller stativer, der giver lodret positionering.
Hvad er bundlinjen?
Trykaflastningsanordningen anses for at være meget pålidelig på grund af dets enkle design. Når du træffer et valg, skal du være opmærksom på materialets kvalitet og ikke jagte et billigt produkt. Lige så vigtigt er den korrekte indstilling af ventilen for kedelanlæggets maksimale tryk..
De mest kendte producenter og modeller: egenskaber og priser
Nu vil jeg tale om de mest populære og pålidelige trevejsventiler, så det er lettere for dig at vælge den rigtige model..
TIM
Producent fra Kina. Tilbyder produkter af temmelig høj kvalitet til varme og vandforsyning til en relativt lav pris.
Temperaturområde: 35-60
Arbejdstryk: 2-5 bar
Diameter: 1 tommer
Temperaturområde: 38-60
Arbejdstryk: 3-10 bar
Diameter: ¾ tommer
Temperaturområde: 38-60
Arbejdstryk: 3-10 bar
Diameter: 1 tommer
Esbe
Dette svenske firma beskæftiger sig med produktion af forskellige modeller af ventiler og controllere. Jeg tror, at produkterne i dette firma er af højeste kvalitet. Selvom det er dyrt.
Temperaturområde: 35-60
Arbejdstryk: 2-10 bar
Diameter: ¾ tommer
Temperaturområde: 20-55
Arbejdstryk: 3-10 bar
Diameter: 1 tommer
Temperaturområde: 60-75
Arbejdstryk: 3-10 bar
Diameter: 1 tommer
STOUT
Fælles produktion af Rusland, Italien, Spanien og Tyskland. Produkterne er perfekt tilpasset russiske forhold.
Temperaturområde: 20-43
Arbejdstryk: 3-10 bar
Diameter: 1 tommer
Temperaturområde: 30-65
Arbejdstryk: 3-10 bar
Diameter: ¾ tommer
Temperaturområde: 35-60
Arbejdstryk: 3-10 bar
Diameter: 1 tommer
WATTS
En af de største producenter af varmeudstyr i Europa. Kæmpe udvalg af produkter.
Temperaturområde: 32-50
Arbejdstryk: 3-10 bar
Diameter: ¾ tommer
Temperaturområde: 25-50
Arbejdstryk: 1-10 bar
Diameter: ¾ tommer
Temperaturområde: 20-50
Arbejdstryk: 3-10 bar
Diameter: 1 tommer
Tilslutningsdiagram muligheder
Inden du vælger en kontraventil, skal du finde ud af dens formål i dit varmesystem. Lad os gøre opgaven lettere og foreslå muligheder for brug af returlåse:
En vigtig anbefaling. Lyt ikke til “eksperterne”, og anbring ikke en fjederbelastet ventil foran en enkelt cirkulationspumpe i et konventionelt enkeltkredsløbssystem. Sikringer om, at du på denne måde vil redde pumpeenheden fra vandhammer og andet pjat, svarer ikke til virkeligheden.
Kabeldiagram for 2 kedler – træ og elektrisk – ved hjælp af returlåse
Som et eksempel på den korrekte installation af kontraventiler giver vi et diagram over ledforbindelsen mellem et fast brændstof og en elektrisk kedel. Hvis en af pumperne stopper, driver den anden uundgåeligt kølevæsken med et parasitært flow i en lille cirkel. Stopventiler er uundværlige her..
Bemærk. En lignende situation kan opstå ved tilslutning af et radiatornetværk og en indirekte varmekedel med en separat pumpe uden fordelingsmanifold, hydraulisk pil eller buffertank.
Det andet eksempel er typisk for tyngdekraftsystemer med naturlig cirkulation af vand, der konverteres til arbejde med en pumpe. Hovedtilstanden er tvunget, men når lyset slukkes, stopper bypass -enheden og stopper med at trykke på den udførende del af kontraventilen, der er indlejret i den lige linje. Derefter genoptages konvektionsstrømmen af vand langs hovedledningen, indtil der leveres strøm.
Installation af en efterfyldningsventil er valgfri, men kan spare dig for uventede problemer. Eksempel i virkeligheden: En husejer besluttede at sætte varmesystemet under tryk og tændte efterventilen i fyrrummet. Da vandforsyningsfirmaet på det tidspunkt reparerede netværket og lukkede for vandforsyningen, overførte kølevæsken koldt vand og gik delvist i røret. I stedet for make-up skete der tømning, som følge heraf faldt trykket og gaskedlen stoppede.
Hvor er luftudløsningsventilerne
I ethvert varmtvandsopvarmningssystem er der steder, hvor installation af ventilationsåbninger er påkrævet. Hvis vi taler om Mayevskys haner, skal de installeres på alle batterier for at udlufte opsamlingsluften. Det nøjagtige sted er i stikket i det øverste hjørne, fjernt fra forsyningsledningens tilslutningspunkt til enheden. Luftboblen dannes præcis der.
Hvis kedlen er udstyret med en indbygget udluftning, er det ikke nødvendigt at sætte den på forsyningen.
Den automatiske luftventil skal installeres strengt lodret på følgende punkter i varmenettet:
Ud over de angivne punkter er der installeret luftdumpere i problemområder i varmeanlægget, hvor de på grund af de vanskelige forhold ved rørlægningen danner U-formede sløjfer, vendt opad. For eksempel omgår en motorvej en døråbning eller en trappe på toppen og går derefter ned igen. I sådanne ekspansionsfuger dannes luftlåse med en sandsynlighed på 100%, så der er brug for en udluftning der, bedre – en automatisk..
Når det højeste punkt i netværket er et rør eller en kompensator, monteres en ventil på det.
Råd. Skær aldrig Mayevsky -hanen direkte i rørledningen, da bobler vil passere forbi den sammen med kølevæskestrømmen og ventilen vil være ubrugelig. For korrekt drift har den manuelle “udluftning” brug for et kammer til opsamling af luft (“maskinen” har sin egen). Lav en indbinding i linjen med et lodret rør, der vil fungere som en luftopsamler, og installer en hane ovenpå.
Hvis du ikke ønsker at køre mellem radiatorer med en skruetrækker, når du fylder varmeværket med vand, skal du udskifte Mayevsky -ventilerne med automatiske vinkelluftventiler. Denne mulighed er også velegnet til beboere i lejligheder opvarmet centralt: luftstop vises ofte i støbejernsbatterier, og der er ingen måde at fjerne dem derfra..
Endnu et tip. For at forhindre, at pæren i hjørneluftventilen stikker ud ved almindeligt syn og klamrer sig til gardinerne, skal du tage en mini-model af ventilen indbygget i kølerdækslet.
Ventilinstallationssted
Der er punkter i varmesystemet, hvor luft nødvendigvis opsamles. Så Mayevskys haner i lejligheden skal installeres på hver radiator. I mange moderne modeller af radiatorer installeres luftudluftningsenheder på fremstillingsstadiet af producenterne selv..
Bemærk! Hvis du har klassiske radiatorer, skal luftventilen installeres i den øverste del af den, som er placeret overfor forbindelsen.
Så du kan altid selv kontrollere den normale drift af dine varmebatterier og ikke være afhængig af boligkontorarbejdernes ønske eller naboernes stemning ovenfra..
Punkter til installation af luftaflastningsventiler:
Det skal forstås, at luft altid akkumuleres i den øvre del af kommunikationen. En luftlås kan opstå i bøjningen af et plastrør, hvis installationen blev udført med fejl, og der var en temperaturdeformation.
Den letteste måde at slippe af med proppen i rørledningen permanent er at skære en tee i røret. En ventil er installeret på den frie lodrette gren af tee (hvis diameter vælges i overensstemmelse hermed) for at frigive luft.
Vi installerer ventilen korrekt
For ikke at begå fejl, når du vælger og installerer en kontraventil på det rigtige sted i varmesystemet, skal du lytte til enkle anbefalinger:
Produkter med tyngdekraftsventiler placeres altid vandret med stikket opad.
Poppet- og klappeventiler kræver periodisk vedligeholdelse og rengøring. Hvis faste partikler eller aflejringer kommer under sædetætningen, mister kontraventilen sin tæthed. Den bedste måde at rengøre på er at fjerne elementet og blæse de tilstødende overflader ud med en kompressor..
Kontrollér ventilens installationsregler
Når du beslutter, hvor kontraventilen til opvarmning skal placeres, skal du først og fremmest blive guidet af projektets krav. Hvis ledningsdiagrammet kræver den obligatoriske tilstedeværelse af en kontraventil, skal den installeres på det rigtige sted og under hensyntagen til alle krav og standarder. Som regel installeres sådanne fittings på tidspunktet for rørføring af varmekedlen.
Bemærk venligst, at for den korrekte installation af kontraventilen skal du vælge dens type korrekt i overensstemmelse med arbejdstrykket og temperaturen på kølevæsken
Derudover er det vigtigt at montere produktet på den måde, som producenten angiver i det tekniske datablad for beslagene. Som regel bestemmes placeringen af kontraventilerne på varmesystemets designfase.
Som regel bestemmes placeringen af kontraventilerne på varmesystemets designfase..
Installation af kontraventiler på varmesystemet giver dig mulighed for at klare flere opgaver på én gang. Først og fremmest gør sådanne enheder det muligt at forhindre negative konsekvenser for varmesystemet i nødstilfælde. Derudover er dette en slags forsikring mod unødvendige reparationsomkostninger i fremtiden. Et andet vigtigt punkt er konsistensen af driften af forskellige enheder, der er sløjfet ind i et system. Det opnås bare ved at installere afspærringsventiler.
Så hvis du er bekymret for varmedriftens holdbarhed og pålidelighed og ikke ønsker at have ekstra omkostninger i fremtiden, skal du helt sikkert sørge for tilstedeværelsen af en kontraventil i varmekredsen..
Ved udrustning af et varmesystem er det vigtigt ikke kun at tænke over parametrene for dets vigtigste funktionelle dele (rør, varmekedel osv.), Men også at være opmærksom på dets små komponenter og mekanismer på kvaliteten af installationen af som varmeforsyningen stort set vil afhænge. Elementet, der er ansvarligt for sikker drift, er sikkerhedsventilen i varmesystemet, hvis hovedfunktion er at beskytte mod potentielle farer forbundet med overbelastning af systemet samt at kontrollere cirkulationen af kølevæsken. På trods af den relativt begrænsede række opgaver, den udfører, installeres en kontraventil til opvarmning på forskellige punkter i systemet og er en vigtig del af det.
På trods af den relativt begrænsede række opgaver, den udfører, installeres en kontraventil til opvarmning på forskellige punkter i systemet og er en vigtig del af det.
Elementet, der er ansvarligt for sikker drift, er en sikkerhedsventil i varmesystemet, hvis hovedfunktion er at beskytte mod potentielle farer forbundet med overbelastning af systemet samt at kontrollere cirkulationen af kølevæsken
På trods af den relativt begrænsede række opgaver, den udfører, installeres en kontraventil til opvarmning på forskellige punkter i systemet og er en vigtig del af det.
Hvad der kan være en aflastningsventil til opvarmning, såvel som funktionerne i dens enhed og forbindelse, vil blive diskuteret yderligere.
Indflydelse af luft på varmesystemet
Varmesystemets funktion er baseret på cirkulation af opvarmet vand med overførsel af en del af varmen til batterierne for at opvarme rummet. Hvis luft kommer ind i den indre del af systemet (processen kaldes luftning), er der en krænkelse af varmebærerens cirkulation.
Systemet reagerer på udsendelse som følger:
Afspærringsventiler
I varmesystemer bruges afspærringsventiler til opvarmning til at styre tilførslen af varmebærer samt til at åbne kredsløbet. Det giver dig mulighed for at styre opvarmningsprocessen, hvilket gør den mere effektiv og rationel. I de fleste tilfælde er der installeret en afspærringsventil på varmebatteriet i områderne af radiatorrørene. Ud over de funktionelle fordele har en sådan løsning også praktiske fordele – ved at lukke afspærringsventilen til varmebatteriet vil husejeren kunne reparere varmelegemet uden at stoppe driften af hele varmesystemet. I øjeblikket er afspærringsventiler til opvarmning repræsenteret af en bred vifte af enheder.
Følgende typer enheder bruges ofte i varmesystemer:
lukkeventiler;
Disse elementer er lavet af holdbare metaller, der er modstandsdygtige over for korrosion og høje temperaturer. Afslutningsbeslag beskytter kredsløbet mod kritiske nødsituationer og øger varmesystemets pålidelighed og hjælper med at minimere negative konsekvenser i tilfælde af fejl i en separat varmelegeme.
Nålhane
Funktionerne, som nåleventilen udfører til opvarmning, kan være forskellige. Afhængigt af designet kan denne enhed udføre en afspærrings-, regulerings- og afbalanceringsfunktion. I varmesystemer bruges en afspærringsnålventil oftest til en radiator, som giver dig mulighed for jævnt at lukke for strømmen og undgå forekomst af vandhamre, som er skadelige for systemet..
Mekaniske balancere
Dette er en af ventiltyperne, hvor skaftets position justeres manuelt. Der er en digital skala på håndtaget, der angiver den aktuelle værdi af passagen i rørledningen. Fordelen er muligheden for at bruge den til afbalancering og som afspærringsventiler. Eksempel: lukning af visse sektioner af rørledningen til reparationsarbejde.
Derudover kan du installere et manometer og et termometer til at styre tryk, temperatur. Men til dette skal du vælge modeller med de passende stik. Fremstillingsmaterialet er messing, sjældnere bruges rustfrit stål. Når du vælger, skal du være opmærksom på den maksimale trykindikator, som enheden kan modstå.
Automatiske balancere
Består af to komponenter – en mekanisk ventil og en differenstrykregulator. I den første er en membranblok installeret, på kroppen er der 2 fittings, der er forbundet til en manometer til justering eller til en differenstrykregulator. Når trykket ændres, øges eller formindskes tykkelsen af membranblokken, og derved reguleres linjens arbejdspassage. Returmonteret.
Differenstrykregulatoren er installeret på forsyningsledningen. Tilsluttet mekanisk balancer med kapillarrør. Når varmeparametrene ændres, korrigeres trykket automatisk.
Ved store forgrenede systemer anbefales installation af automatiske balancere. Dette er vigtigt med hyppige trykfald, ændringer i kølevæskens temperatur. Hvis systemet fungerer relativt stabilt, men du regelmæssigt skal overvåge de hydrauliske parametre, kan du installere mekaniske balancere.
Tip: Balanceringsventilerne adskiller sig i måden, de er forbundet på. For små rør vælges modeller med en ekstern eller indvendig gevind. Der er balancere med flangeforbindelse.
Sådan justeres balanceringsventilen i varmesystemet
Inden du justerer balancen i radiatornetværket, er det nødvendigt at studere instruktionerne for ventilen, som er vedhæftet med købet. Det angiver justeringsskemaet, hvis brugeren installerer alt korrekt, vil han virkelig kunne reducere omkostningerne ved varmeenergi. Ventilen kan justeres på to måder.
Den første måde at justere ventilen på
Dette er den enkleste og mest dokumenterede justeringsmulighed, som anbefales af erfarne termiske indstillinger i vandvarmenetværk. For at gøre dette skal du dividere antallet af ventilomdrejninger med antallet af batterier, der er installeret i varmekredsløbet omkring rummets omkreds. Denne teknik gør det muligt korrekt at bestemme trinnet i tuningsalgoritmen. Metoden består i at lukke alle ventiler i omvendt rækkefølge – fra det sidste til det første batteri i forhold til varmekilden.
For eksempel for et blindkredsløb med 4 radiatorer udstyret med mekaniske afbalanceringsventiler og en spindelindstilling på 4,5 omdrejninger:
4,5: 4 = 1,1 omdrejninger
Åbningsskema:
Den anden måde at justere balanceren på
Der er endnu en måde at afbalancere i meget høj kvalitet. Det udføres meget hurtigere og indeholder evnen til at tage højde for nogle specifikationer for batteriets placering. Det eneste, der kræves for at fuldføre det, er et termometer af kontakttype.
Hele processen foregår i følgende rækkefølge:
Mayevsky kran
Mayevsky kran design
Hvis opvarmningen af en bestemt radiator er blevet væsentligt forringet, er der stor sandsynlighed for en luftsluse. For at forhindre overophedning af kølevæsken er det nødvendigt at installere Mayevsky -haner på hver af varmeenhederne på forhånd..
Denne varmestyringsventil er en nåleventil, der er helt forseglet, når den lukkes. Installeret på det øvre kølerør, i tilfælde af overbelastning af luft, hjælper det med at fjerne dem. For at gøre dette skal du bruge en nøgle eller en skruetrækker til at løsne graden af at trykke på gardinet. Dette gøres, indtil den karakteristiske lyd fra den udgående luft høres. Proceduren slutter først, når kølevæsken begynder at strømme..
Anbefalede producenter
Flere globale producenter beskæftiger sig med fremstilling af sådanne afspærrings- og styreventiler. Varmeforsyningsarbejdet afhænger af materialernes kvalitet, justeringens nøjagtighed og design. Derfor anbefales det at købe ikke analoger, men originale modeller. Dette vil øge systemets pålidelighed..
Balancere fra Valtec, Danfoss, Herz og Honeywell findes på markedet. De adskiller sig kun i udseende, deres funktionelle funktioner er de samme. Tabellen viser populære varmebalancere fra disse producenter..
Disse modeller adskiller sig i størrelse, måder at forbinde til rørledningen. Nogle af dem er kun designet til koldtvandsforsyning, men de fleste er universelle og kan bruges til opvarmning og vandforsyning. Eksempel – Danfoss produkter.
Luftventil til opvarmning til udluftning af batteri
I moderne varmesystemer er der en særlig enhed til fjernelse af akkumuleret luft – en luftventil til opvarmning. Uden denne enhed ville opvarmningen ikke kunne fungere normalt ….
Hvad er en make-up enhed, og hvordan fungerer den
Denne knude er som allerede nævnt et vigtigt varmeelement. Dens hovedopgave er at kontrollere mængden af kølevæske og om nødvendigt påfylde den..
Som regel er der i moderne varmesystemer installeret automatiske enheder, hvis hovedelement er en påfyldningsventil. Den har en lille membran, som påvirkes af trykket inde i systemet og af en fjeder.
Hvis trykket i varmekredsen falder, reduceres virkningen på fjederen tilsvarende. Membranen stopper med at komprimere fjederen, og den skubber stammen, hvilket åbner åbningen til genopfyldning af varmesystemet. Vand strømmer gennem dette hul.
Som regel er efterfyldningsventilen til varmesystemet installeret på røret, der forsyner almindeligt vand. Det vil sige, at den er forbundet til vandforsyningssystemet. Dette bør tages i betragtning, da renset vand bruges til varmesystemet (det efterlader mindre plak på væggene i rør og radiatorer).
Mens det sædvanlige vand fra vandforsyningssystemet ikke er blevet renset. Det vil sige, det er mere rationelt at sætte et lille filter ved indløbet og ændre det fra tid til anden. Således kan du beskytte rør og forbindelser mod for tidlig ophobning af aflejringer..
Når yderligere vand begynder at strømme ind i varmesystemet, begynder trykket i det gradvist at stige. Så snart det når det nødvendige niveau, påføres tryk igen på membranen. Det virker på en fjeder, som ved komprimering lukker hullet.
Hvad består efterfyldningsventilen af
Vigtigt: der er tidspunkter, hvor der er stor sandsynlighed for, at kølevæsken fra varmekredsen kommer ind i vandrørene. Dette er meget uønsket, da mange ejere bruger vand med frostvæske som varmebærer.
Hvor skal man installere?
Eksperter siger, at det er bedst at installere påfyldningsventilen nær ekspansionsbeholderen. Dette er faktisk tilfældet, da tanken regelmæssigt udløses, og følgelig, umiddelbart efter at trykket i systemet falder på grund af tankens funktion, genoprettes den automatisk af ventilen. Det vil sige, at afbrydelser i presset er ekstremt kortvarige og påvirker ikke systemets kvalitet..
Efterfyldningsenheden bør ikke placeres på returrørene i nærheden af varmekedlen. I dette tilfælde kan en portion koldt vand fremkalde funktionsfejl. Det anbefales ligeledes ikke at installere en automatisk påfyldningsventil på forsyningsvandsrørene. I dette tilfælde er kølevæsken for varm og kan beskadige elementerne i selve enheden..
Hvorfor automatisering?
Borte er de dage, hvor trykniveauet i systemet blev justeret manuelt. Grunden til at installere en automatisk knude er, at der faktisk kræves make-up ganske ofte. Automatiseringen styrer selv trykniveauet, bestemmer selv den nødvendige mængde vand, som skal tilføjes for at normalisere driften af opvarmning.
Alimat-efterfyldningsventilen er et godt eksempel på moderne udstyr af høj kvalitet. Dette er et kvalitetselement, der hjælper dig med at sikre varmesystemets normale drift uden trykproblemer..
Princippet om drift af den automatiske efterfyldningsventil
Driftsprincippet såvel som installationsprocessen for en sådan enhed er ekstremt enkel. Alle driftsparametre skal konfigureres på forhånd. Forprogrammer fremtidige vandtab – som regel bør du også angive minimumstrykket i netværket. Og hvis mængden af arbejdsvæsken for eksempel falder med 10 procent, så aktiverer dette ventilen, som igen starter pumpen.
Med denne pumpe pumpes koldt vand fra forsyningsrøret ind i varmeledningen i de nødvendige mængder. Og så snart væsketabet genopfyldes, fungerer ventilen igen og stopper den automatiske tilførsel af kølevæske..
Det er ganske muligt at klare installationen af den beskrevne enhed alene. Først skal der installeres et manometer eller en anden elektronisk sensor af kontakttypen på rørledningen, der forsyner koldt vand (ved hjælp af en sådan sensor vil brugeren kunne regulere trykket samtidigt i to retninger). En af grupperne skal indstilles til minimumstrykket i netværket.
Det er på dette sted, at en kontaktor eller et mellemliggende relæ skal installeres. Og så snart mængden af varmt kølevæske i den lukkede linje falder, starter denne kontaktor aktiveringen af en mekanisme, der starter trækkende pumpeudstyr. Der er også en anden gruppe – det er nødvendigt for at deaktivere alle disse processer, når væsketab genopfyldes. Aktuatoren i dette tilfælde kan være en elektrisk ventil – en slags ventil udstyret med en elektrisk motor.
Vigtig note! Hvis varmesystemet tilføres ved hjælp af automatisering, vil det (automatisering) uafhængigt styre driftstrykket og beregne væskens kompensationsvolumen. Bypass -make -up – når du har brug for det?
Det skete bare sådan, at næsten alle lukkede varmesystemer kun er i stand til normalt at fungere ved et højt tryk i arbejdsvæsken. Selvom dette ikke er den eneste vigtige faktor, da kølevæskens temperatur også finder sted.
Så hvis temperaturen stiger, fører dette til en temperaturudvidelse af individuelle tekniske netværksnoder. Og for at kompensere for denne udvidelse installeres en særlig hydroakkumulator (også kendt som en expamzomat), som er i stand til at absorbere overskydende hydraulisk energi eller omvendt give den væk i tilfælde af et underskud. Akkumulatoren tilsluttes på samme måde som den sanitære bypass.
Et kendetegn ved en åben varmeledning er, at der ikke er noget højt tryk i den. I denne henseende kan en ekspansionsbeholder, omend noget moderniseret, tjene som en slags sensor til at reducere væskemængden. Denne tank skal installeres på det højeste punkt i systemet..
Bemærk! I dette tilfælde vil make-up udelukkende blive udført med et fald i mængden af kølemiddel i tanken. For at finde ud af, om niveauet virkelig er faldet, skal du åbne kontrolrøret: hvis der er mangel på kølevæske, vil der ikke være noget tryk der
Ofte er udløbet af dette rør installeret i køkkenet eller på badeværelset. Og hvis der ikke er tryk under revisionen, er det nødvendigt at tilføje arbejdsvæske til systemet. Til dette tjener et andet element i fodersystemet – en knude, der forbinder varmenetværket med vandforsyningen. Fra et konstruktivt synspunkt vil denne knude indeholde sådanne elementer.
Det er i henhold til denne ordning, at opbygningen af det åbne varmesystem udføres. Men det er værd at huske, at en luftventilation skal installeres på forhånd, ved hjælp af hvilken overskydende luft vil blive fjernet. Vi tilføjer også, at dens minimumstemperaturindikator er nødvendig for at kunne genopbygge vandmængden på en kompetent måde.
Bemærk! En enklere make-up ordning kan bestå af en almindelig lagertank, selvom vandstanden i dette tilfælde skal overvåges visuelt
Sådan tilsluttes varmesystemet
Med et lukket kredsløb gør det lille forskel, hvor make -up -rørledningen skal tilsluttes – til forsyning eller retur. Vi anbefaler at bruge den klassiske gennemprøvede metode – tappestedet skal placeres på returledningen ved siden af kedlen, efter cirkulationspumpen og ekspansionsbeholderen. Årsager:
På samme måde skærer make-upen ind i returlinjen i det åbne system. Den anden mulighed er at tilføje kølevæsken direkte til tanken, ulempen ved metoden er at lægge tilførselsrøret til loftet.
Tilslutning af make-up-linjen er også tilladt på andre punkter:
Disse muligheder implementeres normalt i komplekse og forgrenede systemer i landejendomme. Sminkeforbindelsen til kedlen er vist i den næste video:
Lige røranordninger
En lige udluftning er den mest efterspurgte version af enheden, da den er velegnet til installation på de øvre ender af lodrette stigninger, på gulvvarmesamlere, som en del af en sikkerhedsgruppe, på cirkulationspumper. Ved hjælp af en tee kan den skæres i et problemafsnit af rørledningen, hvis en lille hældningsvinkel fremkalder udseende af luftlåse.
Design af en direkte automatisk udluftning med et grenrør
Radiator og hjørnemodeller
Den vinklede ventilationsåbning er designet til installation på svært tilgængelige steder. På grund af forgreningsrøret, der er placeret på siden af huset, kan enheden f.eks. Forbindes med gevindenden af den vandrette rørledning til varmesystemets blindgangsgren. Om nødvendigt kan vinkelautomatiske ventilationsåbninger i varmesystemet bruges i stedet for direkte.
I stedet for en Mayevsky manuel hane kan der automatisk installeres standardvinklede automatiske afløbsventiler på radiatorer for at fjerne hyppige luftlåse fra radiatorer. En mere rationel tilgang er imidlertid at bruge specielle automatiske radiatorventiler. En sådan model har også et kantet design, men adskiller sig fra standardtråden – den er velegnet til at forbinde enheden direkte til radiatoren uden at bruge en adapter.
Hvorfor er der behov for genopladning
Efter påfyldning af varmtvandsopvarmningskredsløbet begynder væskemængden i det gradvist at falde af forskellige årsager. Luft kommer ind på stedet uden kølevæske, hvilket påvirker systemets funktion negativt.
I en lukket sløjfe med tvungen cirkulation falder trykket gradvist, derudover slides pumpen, som ikke er designet til at pumpe en blanding af luft med vand, hurtigere og kan svigte for tidligt. Som følge heraf afbrydes bevægelsen af kølevæsken, den overophedes, hvilket fører til en nødstop af kedlen. I det åbne kredsløb overophedes kølevæsken også, hvis volumen er utilstrækkelig til systemets fulde funktion..
Det er vigtigt at forstå, hvad der forårsager vandlækage fra et åbent og lukket varmesystem:
Åbent varmekredsløb: Installation af wattregulator, væskemængde
Et åbent varmekredsløb betragtes som ikke-flygtigt og det enkleste. Det bruger den naturlige bevægelse af kølevæsken. Driftsprincippet er baseret på termodynamiske love.
Der oprettes et højt tryk ved kedlens udløb, derefter går det opvarmede kølemiddel gennem rørledningen til den del af rørledningen med reduceret tryk, hvor temperaturen falder. Derefter bevæger koldt vand sig igen ind i kedlen og varmer derop..
Den opvarmede væske ekspanderer, så kredsløbet er udstyret med en ekspansionsbeholder. Elementet er nødvendigt for at optage overskydende væske under ekspansion og returnere det i en afkølet form inde i linjen.
Tanken lækker på nogle punkter: Kølevæsken fordamper, vandstanden skal efterfyldes. Til dette formål betjenes efterfyldningspumper.
En åben motorvej består også af følgende elementer:
Rør i et åbent termisk kredsløb opvarmes langsomt på grund af den langsomme cirkulation af vand. Dette forhindrer kølemidlet i at koge og beskadiger ikke rørene. Hvis varmeledningen ikke er i brug om vinteren, skal vandet tømmes.
Tegn på en kritisk mangel på kølevæske
Ikke alle ejere af private huse overvåger den tekniske tilstand af vandopvarmning, det virker – og okay. Når der dannes en latent lækage, fortsætter systemet med at fungere i nogen tid, indtil mængden af kølevæske falder til et kritisk niveau. Dette øjeblik spores på følgende grunde:
En vigtig afklaring. Når en TT -kedel koger og opererer i et åbent gravitationssystem, følger der ikke en eksplosion, da kølevæsken er i kommunikation med atmosfæren. Det vand, der opvarmes af varmelegemet, vil fordampe, derefter starter en brand i fyrrummet. Selvom den beskrevne proces tager meget tid, er sådanne situationer langt fra ualmindelige..
Vi vil ikke forklare, hvorfor systemet skal genopfyldes – dette er en oplagt foranstaltning for at bevare opvarmningens effektivitet. Det er stadig at vælge metoden til genopfyldning af varmeanlægget.
Ventil til automatisk efterfyldning af varmesystemet: installationsfunktioner
Som nævnt ovenfor er eftertrykreduktionsventilen det vigtigste element i efterfyldningsenheden. Hele make-up-enhedens effektivitet afhænger af den korrekte installation af trykreduktionsventilen..
Følgende anbefalinger skal derfor overholdes ved installation af trykreduktionsventilen:
For at ventilen skal fungere mere effektivt, skal varmesystemet samtidig være udstyret med en cirkulationspumpe, der øger trykket. Denne enhed vil generere mere tryk, end hvad en ventil alene kan levere..
Kedel reducer
Reduktionsapparatet er installeret på returrørledningen foran kedlen for at levere netvand til netværkskredsløbet. Vand fra byens rørledning kommer ind gennem ventilen, når trykket i netværksrørledningen falder, forårsaget af utætheder eller en luftlås. Hvis der i henhold til ordningen er installeret en cirkulationspumpe, monteres den anden. Ellers kan hele varmesystemet fungere forkert..
Reduktionsapparatet fungerer i automatisk tilstand uden servicepersonale. Nogle gange er dette ikke altid praktisk, da det er umuligt at kontrollere lækagen, og dens størrelse kan nå nødstørrelser. Derfor foretrækker mange brugere manuel make-up mode eller arrangerer systemer med alarmer med stor lækage..
Pumpegruppe
En eller flere pumper forsyner efterfyldningsvand opstrøms for kedlerne med et tryk, der er højere end returtilførselsvandet. Pumpen udløses af en tryksensor og tilfører vand fra efterfyldningsvandsbeholderen.
Der er ordninger med en nedsænket pumpe, der kan tage vand fra en brønd eller brønd. Pumpegruppen beregnes i henhold til timefunktionen af standardmake-up, antallet af elektriske pumper skal være mindst 2, hvoraf den ene er reserve.
Filtre til make-up vand
Urenhederne i råvand har en dårlig effekt på driften af varmeudstyr, især på kedlen og kan aflejres på kedelvarmeoverfladerne i form af skala og slam, hvilket reducerer kølevæskens cirkulationshastighed og forårsager overophedning i kedlen, med efterfølgende brud på rør.
Derfor installeres udstyr til at rense make-up-vandet..
Nemmere rengøring udføres med mekaniske filtre fyldt med sand eller aktivt kul. Enklere anordninger kan også arrangeres – mudderopsamlere, hvor siler er installeret og har en større kropsdiameter end returrørene. Vand kommer ind i sumpen, dens hastighed falder, og suspenderede faste stoffer udfældes. Mere komplekse hårdhedssalte skal fjernes i specialiserede blødgøringsfiltre..
Vedligeholdelse af enheden
Hvis standardbetingelserne for tryk, temperatur og mekanisk belastning opretholdes, kan enheden tjene i årevis uden behov for vedligeholdelse og reparation..
Det er imidlertid tilrådeligt at periodisk kontrollere tilslutningsventilforbindelserne, tilstanden af de små O-ringe og korrekt måleres funktion..
Hvis der findes et filter i designet, skal dets maske rengøres regelmæssigt og om nødvendigt ændre pakninger..
Beregning af varmesystemets make-up
Som nævnt ovenfor sikrer efterfyldningsventilen sikker drift af varmesystemet. Med henblik på dets stabile drift er det nødvendigt at foretage en beregning af systemets forsyning af høj kvalitet og udføre en pålidelig installation af ventilen..
For at beregne opvarmningsopladningen bruges en formel, hvor husets areal multipliceres med klimakraften og divideres med ti. Den klimatiske effektfaktor bestemmes ud fra den region, hvor huset ligger..
Beregning af opvarmningseffekten baseret på regionen
Formlen til beregning af effekt Nk = 100 * 1,3 / 10 = 13 kW
hvor
100 er bygningens areal i m²;
1.3 er en indikator for klimakraften.
Organisering af automatisk genopladning
For dem, der ikke har tid til at rode rundt i fyrrummet, er automatisk fodring af varmesystemet egnet. Dette vil resultere i køb af ekstra fittings, samt i installationen på stedet. Essensen af metoden er den samme som i det første enkle skema, men i stedet for en konventionel hane installeres en hel enhed på forsyningsrørledningen, vist i figuren:
Hovedelementet i det præsenterede diagram er en trykreduktionsventil til sammensætning af varmesystemet. Det fungerer sådan: Mens trykket i et privat huss varme netværk er over minimum, er fjederen i en komprimeret tilstand, understøttet på den ene side af kølevæsken. Når trykket falder under den indstillede grænse, retter fjederen, hvis elastiske kraft bliver større, ud og åbner passagen for strømmen fra vandforsyningen.
Efter påfyldning stiger trykket i netværket igen og overvinder fjederkraften og lukker spjældet. Ud over reduktionsenheden indeholder make-up-regulatoren en sil og en kontraventil. En strømafbrydelse er installeret foran den, hvilket forhindrer indtrængen af snavset kølemiddel i koldtvandsledningen. Filterelementet er udstyret med 2 manometre til bestemmelse af forureningsgraden fra trykfaldet. Alle fittings er installeret på bypass og udstyret med afspærringsventiler, hvilket gør det muligt at servicere dem.
I en situation med hyppige vandstop eller med en autonom vandforsyning skal trykket ved indløbet til den automatiske enhed leveres af en pumpe til fodring af et system med en membranakkumulator. Men det er upraktisk kun at købe og installere en pumpe for at genopbygge varmeanlægget. Den skal monteres og bindes på en sådan måde, at pumpen i mangel af centraliseret vandforsyning opbygger tryk i hele husholdningsnettet og pumper vand fra en reservetank eller pool.
Lukket kredsløb med gearkasse og hane: station med tank (kapacitet), frostvæske
Når temperaturen i ledningen stiger, åbner ventilen på ekspansionstanken som en portventil for at fjerne det overskydende vand. Hvis temperaturen på kølevæsken falder, pumper pumpen vand tilbage i ledningen.
Det anbefales, at trykket i et lukket system holdes inden for de forudindstillede grænser. Dette hjælper med at aflufte kølevæsken. Ekspansionsbeholder regulerer stabil drift og styrer væskestrømmen.
Make-up i et åbent varmesystem
I varmenetværk i private huse med tvungen strøm af varmebæreren bruges ventiler derfor til genopladning, der automatisk tilfører vand til kredsløbet. I åbne systemer med små beboelsesbygninger eller sommerhuse bruges normalt en lidt anderledes, meget enklere ordning for påfyldning af et kølevæske. Automatisk genopladning af varmesystemet i dette tilfælde vil sandsynligvis være overflødig..
Ekspansionsbeholdere i naturlige flownetværk er normalt monteret på loftet. For at kunne styre mængden af vand i kredsløbet i sådanne systemer, ud over retur og forsyning, leveres der yderligere to rør til dem. En af dem kaldes en kontrol en og skærer i tanken herunder. Det andet (overløbsrør) føres til ekspansionsbeholderen øverst. Derefter trækkes rørene for eksempel ind i køkkenet.
Det er ganske enkelt at kontrollere, om der er tilstrækkelig mængde vand i varmesystemets kredsløb. Hvis kølevæsken ikke strømmer fra hanen, der er indlejret i tankens kontrolrør, når den åbnes, er der ikke nok af den i systemet. I dette tilfælde, før du tilføjer væske til kredsløbet, skal du åbne ventilen på overløbsrøret. Så snart systemet er fyldt til de nødvendige parametre, begynder vand at strømme fra det..
Installations instruktioner
Det første trin er at slukke for vandstigningen i lejligheden eller huset. Vælg derefter det område, hvor ventilen skal stå, og skær den ud med en kværn. For at rense rørets endeflader fra flis.
For tæthed skal du lægge en gummipakning i fatningen (hvis installationen er med gevind, i stedet for pakningen – en hygiejnefilm). Efter det skal du installere luftemaskinen og fastgøre den i stigrøret.
For en lejlighed kræves mindst 3 ventiler til det interne kloaksystem – en til hver forbruger.
Opdateret råd om emballage og vedligeholdelse
Uanset hvilken strømforsyning du vælger, skal du først og fremmest huske, at den skal være sikker og let at bruge, lavet af materialer af høj kvalitet. Hvis varmesystemet er lille, skal du foretrække en enhed med det enklest mulige design. Den centrale støtte med bevægelige dele og det indre kompensationsstempel skal være fremstillet af materialer med lav vedhæftningskoefficient: risikoen for kalkdannelse i samlingen skal minimeres. Det er ingen hemmelighed, at de er hovedårsagen til enhedens dårlige ydeevne..
Vær opmærksom på, om produktet har en udskiftelig patron: dette vil i høj grad lette og fremskynde processen med at revidere samlingen for dig.
Periodisk vedligeholdelse af make-up-enheden hjælper med at undgå funktionsfejl i hele varmesystemet
Gør følgende for at rengøre eller udskifte hele patronen:
Det eneste, der er tilbage, er at konfigurere udstyret og fortsætte med at nyde den smidige drift af varmesystemet i dit hjem.!
Endelig om sikker påfyldning af kølevæske
Følg vores anbefalinger ved påfyldning af vand eller delvis make-up:
Sminkemodulet til et komplekst system kan tilsluttes et lavt tab header og en manifold
Reference. Støbejerns varmevekslere revner let af pludselige temperaturændringer, og stålovne er dækket af kondensat indefra. Sidstnævnte blandes med soden og danner en tæt belægning..
Pumpning af frostvæske med en håndpumpe skjuler ikke faldgruber. Presseanlæg er udstyret med deres egen manometer til at overvåge det faktiske tryk ved tappestedet.
Installationsanbefalinger
Ved placering af ventiler på rørledninger anbefales det at overholde følgende regler:
På grund af den høje hydrauliske modstand er enhver kontraventil i varmesystemet et uønsket element, der reducerer effektiviteten og effektiviteten af hele systemet. Oftest er ventilen installeret i bypass -jumperen parallelt med den elektriske cirkulationspumpe, hvor den ikke påvirker systemets drift, da kølevæskestrømmen ikke passerer igennem den i driftstilstand. I andre tilfælde udfører ventilbeslagene hjælpefunktioner, der forhindrer kølevæskens strømning i uønskede retninger.